TOP
|
特許
|
意匠
|
商標
特許ウォッチ
Twitter
他の特許を見る
10個以上の画像は省略されています。
公開番号
2025136038
公報種別
公開特許公報(A)
公開日
2025-09-19
出願番号
2024034203
出願日
2024-03-06
発明の名称
自動車用ウェザーストリップ
出願人
西川ゴム工業株式会社
代理人
弁理士法人前田特許事務所
主分類
B60J
10/18 20160101AFI20250911BHJP(車両一般)
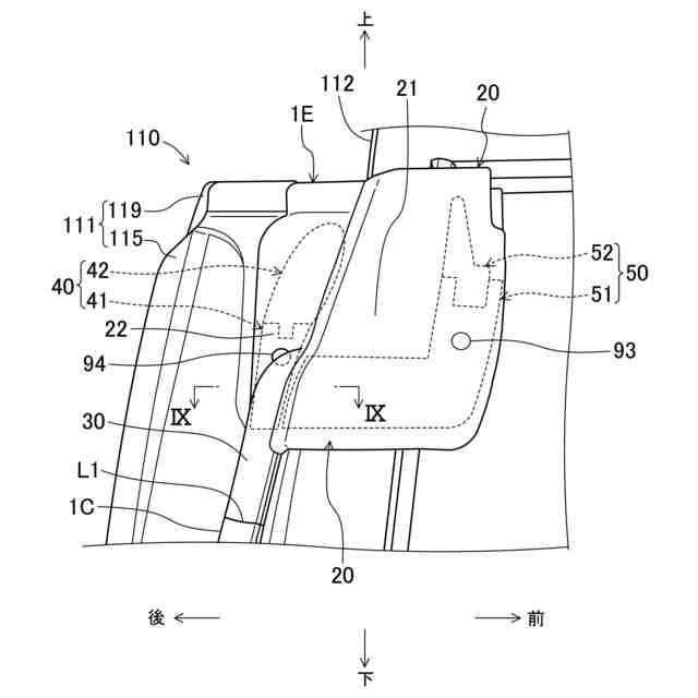
要約
【課題】自動車用ウェザーストリップの軽量化を図りつつ、取付後の変形やシール不良を抑制する。
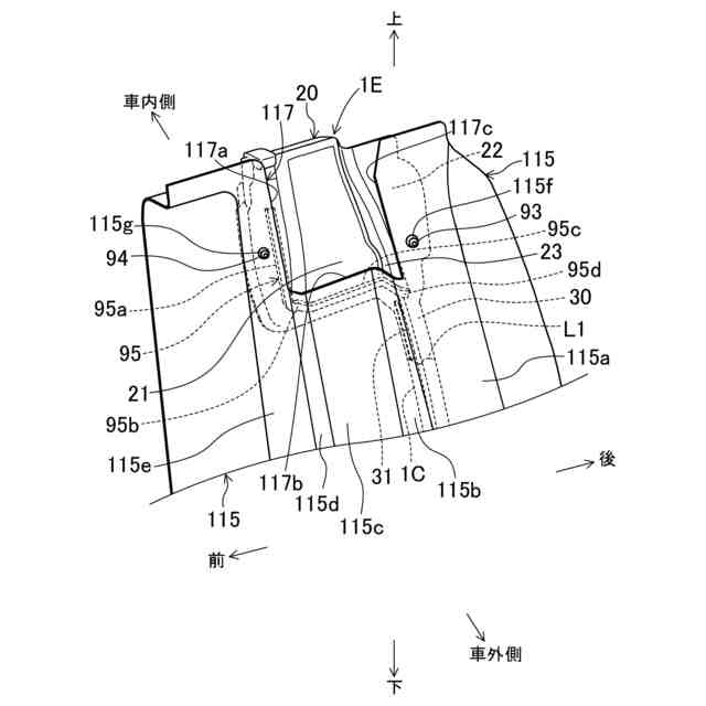
【解決手段】自動車用ウェザーストリップは、弾性材で構成され、ドア及びボディの一方に取り付けられる取付板20を備えている。取付板20は、折れ曲がっている。取付板20の内部には、金属製埋設板52と樹脂製埋設板51とで構成された埋設板40、50が設けられている。金属製埋設板52及び樹脂製埋設板51が一体化された状態で取付板20が型成形されている。
【選択図】図3
特許請求の範囲
【請求項1】
自動車のドア及びボディの一方に取り付けられ、前記ドアの閉時に前記ドア及び前記ボディの他方に弾接して前記ドアと前記ボディとの間をシールする自動車用ウェザーストリップであって、
弾性材で構成され、前記ドア及び前記ボディの一方に取り付けられる取付板を備え、
前記取付板は、折れ曲がっており、
前記取付板の内部には、金属製埋設板と樹脂製埋設板とで構成された埋設板が設けられ、
前記金属製埋設板及び前記樹脂製埋設板が一体化された状態で前記取付板が型成形されている、自動車用ウェザーストリップ。
続きを表示(約 1,000 文字)
【請求項2】
請求項1に記載の自動車用ウェザーストリップにおいて、
前記樹脂製埋設板には、厚み方向一方に向けて突出する突出部が設けられ、
前記金属製埋設板には、前記突出部が嵌合する穴部が設けられ、
前記突出部を前記穴部に嵌合させることにより、前記金属製埋設板及び前記樹脂製埋設板が一体化されている、自動車用ウェザーストリップ。
【請求項3】
請求項2に記載の自動車用ウェザーストリップにおいて、
前記穴部の内周面には、当該穴部の内方へ向けて突出する凸部が形成され、
前記突出部の外周面には、前記凸部が嵌合する第1凹部が形成され、
前記金属製埋設板及び前記樹脂製埋設板が一体化された状態で前記凸部が前記第1凹部に嵌合している、自動車用ウェザーストリップ。
【請求項4】
請求項3に記載の自動車用ウェザーストリップにおいて、
前記凸部は、突出方向先端へ向かって先細とされ、
前記凸部の突出方向先端が前記第1凹部の内周面に当接している、自動車用ウェザーストリップ。
【請求項5】
請求項2に記載の自動車用ウェザーストリップにおいて、
前記埋設板の端側に前記金属製埋設板が配置され、
前記埋設板の中央側に前記樹脂製埋設板が配置されている、自動車用ウェザーストリップ。
【請求項6】
請求項5に記載の自動車用ウェザーストリップにおいて、
前記樹脂製埋設板の厚みは、前記金属製埋設板の厚みよりも厚く設定され、
前記金属製埋設板には、延出部が形成され、前記延出部に前記穴部が設けられ、
前記樹脂製埋設板の厚み方向一方の面には、前記延出部が収容される第2凹部が形成され、前記第2凹部に前記突出部が設けられ、
前記延出部の厚み方向の寸法と、前記第2凹部の深さ方向の寸法とは略同じに設定されている、自動車用ウェザーストリップ。
【請求項7】
請求項6に記載の自動車用ウェザーストリップにおいて、
前記突出部の突出方向の寸法と、前記延出部の厚み方向の寸法とは略同じに設定されている、自動車用ウェザーストリップ。
【請求項8】
請求項1から7のいずれか1つに記載の自動車用ウェザーストリップにおいて、
弾性材で構成され、前記取付板から前記ドア及び前記ボディの他方へ向けて膨出するように前記取付板に一体成形された中空シール壁を備えている、自動車用ウェザーストリップ。
発明の詳細な説明
【技術分野】
【0001】
本開示は、自動車のドアとボディとの間をシールする自動車用ウェザーストリップに関する。
続きを表示(約 1,500 文字)
【背景技術】
【0002】
例えば特許文献1~3には、自動車のドアのベルトラインとサッシュ前辺部とで形成されるコーナー部に装着されるドア用コーナーピースが開示されている。特許文献1、2のドア用コーナーピースは、弾性体で被覆されたサッシュインサートとインサート本体とを備えている。サッシュインサート及びインサート本体は板金で構成されており、スポット溶接によって一体化されている。
【0003】
また、特許文献3のドア用コーナーピースは、コーナーピース本体部と取付脚部とが一体成形されたミラーブラケット用樹脂インサートを備えている。さらに特許文献3のドア用コーナーピースは、樹脂製のガラス保持ピースも備えており、ガラス保持ピースはミラーブラケット用樹脂インサートに装着されるようになっている。
【先行技術文献】
【特許文献】
【0004】
実開昭63-51821号公報
実開昭61-169618号公報
特開平8-324340号公報
【発明の概要】
【発明が解決しようとする課題】
【0005】
ところで、例えば自動車のドア及びボディの一方には、ドアの閉時にドア及びボディの他方に弾接してドアとボディとの間をシールする自動車用ウェザーストリップが取り付けられている。自動車用ウェザーストリップは、弾性材で構成される取付板と、弾性材で構成される中空シール壁とを有している。ドアまたはボディに取り付けられる取付板を弾性材のみで形成すると強度が不足して取付後の変形やシール不良の懸念があるので、補強用の埋設板が取付板の内部に設けられる場合がある。
【0006】
この種の埋設板として、例えば特許文献1、2のように複数の金属製の板を用いることが考えられるが、金属製の板は重いため、自動車用ウェザーストリップの重量が嵩んでしまうという問題がある。
【0007】
そこで、特許文献3の樹脂インサートを埋設板として用いれば、特許文献1、2の金属製の板に比べて自動車用ウェザーストリップの重量増は抑えられる。ところが、樹脂インサートは、金属製に比べて変形し易いので、大型化は困難であり、大きな取付板に埋め込むための大型の埋設板としては適していない。加えて、樹脂インサートは、金属製に比べて剛性が不足する傾向にあるため、例えば細長い形状や階段状の形状などのように、複雑な形状設定は困難である。
【0008】
本開示は、かかる点に鑑みたものであり、その目的とするところは、自動車用ウェザーストリップの軽量化を図りつつ、取付後の変形やシール不良を抑制することにある。
【課題を解決するための手段】
【0009】
上記目的を達成するために、本開示の一態様では、自動車のドア及びボディの一方に取り付けられ、前記ドアの閉時に前記ドア及び前記ボディの他方に弾接して前記ドアと前記ボディとの間をシールする自動車用ウェザーストリップを前提とすることができる。自動車用ウェザーストリップは、弾性材で構成され、前記ドア及び前記ボディの一方に取り付けられる取付板を備えている。前記取付板は、折れ曲がっており、前記取付板の内部には、金属製埋設板と樹脂製埋設板とで構成された埋設板が設けられている。前記金属製埋設板及び前記樹脂製埋設板が一体化された状態で前記取付板が型成形されている。
【0010】
この構成によれば、取付板に、金属製埋設板と樹脂製埋設板とで構成された埋設板が設けられているので、金属製埋設板及び樹脂製埋設板によって取付板が補強され、その結果、取付後の変形やシール不良が抑制される。
(【0011】以降は省略されています)
この特許をJ-PlatPat(特許庁公式サイト)で参照する
関連特許
西川ゴム工業株式会社
自動車用ドア構造
1か月前
西川ゴム工業株式会社
自動車ドア用グラスラン
1か月前
西川ゴム工業株式会社
自動車用ウェザーストリップ
20日前
西川ゴム工業株式会社
ドアホールシールの製造方法およびドアホールシール
1日前
西川ゴム工業株式会社
自動車ドア用のグラスランおよびこれを備えたグラスランユニット
20日前
個人
カーテント
4か月前
個人
タイヤレバー
2か月前
個人
車窓用防虫網戸
4か月前
個人
前輪キャスター
1か月前
個人
上部一体型自動車
6日前
個人
ルーフ付きトライク
2か月前
個人
車輪清掃装置
4か月前
個人
ホイルのボルト締結
3か月前
個人
タイヤ脱落防止構造
1か月前
個人
マスタシリンダ
13日前
日本精機株式会社
表示装置
2か月前
日本精機株式会社
表示装置
2か月前
日本精機株式会社
表示装置
2か月前
個人
キャンピングトライク
3か月前
井関農機株式会社
作業車両
4か月前
日本精機株式会社
表示装置
1か月前
個人
車両通過構造物
2か月前
井関農機株式会社
作業車両
4か月前
個人
アクセルのソフトウェア
3か月前
個人
ワイパーゴム性能保持具
4か月前
個人
乗合路線バスの客室装置
2か月前
個人
キャンピングトレーラー
3か月前
個人
車両用スリップ防止装置
3か月前
個人
音声ガイド、音声サービス
2か月前
個人
車載小物入れ兼雨傘収納具
3か月前
株式会社ニフコ
収納装置
1か月前
株式会社豊田自動織機
産業車両
2か月前
株式会社ニフコ
保持装置
3か月前
株式会社ニフコ
照明装置
1か月前
日本精機株式会社
画像投映装置
2日前
日本精機株式会社
車載表示装置
21日前
続きを見る
他の特許を見る