TOP
|
特許
|
意匠
|
商標
特許ウォッチ
Twitter
他の特許を見る
10個以上の画像は省略されています。
公開番号
2025142269
公報種別
公開特許公報(A)
公開日
2025-09-30
出願番号
2025125350,2025522996
出願日
2025-07-28,2024-02-15
発明の名称
半導体装置及び半導体装置の製造方法
出願人
三菱電機株式会社
代理人
個人
,
個人
主分類
H10D
30/66 20250101AFI20250919BHJP()
要約
【課題】半導体装置の絶縁信頼性を高めることが可能な技術を提供することを目的とする。
【解決手段】半導体装置は、ウェル領域上に設けられた第1導電型の不純物領域と、不純物領域の上面からウェル領域を貫通してドリフト層まで達するトレンチの内側の絶縁膜上に設けられた電極と、電極上に設けられた層間絶縁膜とを備え、絶縁膜のうち不純物領域と対向する端部である絶縁膜端部、及び、電極のうち不純物領域と対向する端部である電極端部は、不純物領域の上面よりも低い。
【選択図】図2
特許請求の範囲
【請求項1】
第1導電型のドリフト層と、
前記ドリフト層上に設けられた第2導電型のウェル領域と、
前記ウェル領域上に設けられた前記第1導電型の不純物領域と、
前記不純物領域の上面から前記ウェル領域を貫通して前記ドリフト層まで達するゲートトレンチの内側の絶縁膜上に設けられた電極と、
前記電極上に設けられた層間絶縁膜と
を備え、
前記ゲートトレンチの内側の前記絶縁膜のうち前記不純物領域と対向する端部である絶縁膜端部、及び、前記ゲートトレンチの内側の前記電極のうち前記不純物領域と対向する端部である電極端部は、前記不純物領域の前記上面よりも低く、
活性領域に設けられた前記ゲートトレンチは、終端領域に設けられ、平面視で周期構造を有さない外部トレンチと互いに直接つながっている、半導体装置。
続きを表示(約 1,400 文字)
【請求項2】
請求項1に記載の半導体装置であって、
前記ゲートトレンチの内側の前記絶縁膜上に設けられた前記電極と電気的に接続され、前記外部トレンチの内側の絶縁膜上に設けられた電極は、前記不純物領域の前記上面よりも高い部位を含む、半導体装置。
【請求項3】
請求項1または請求項2に記載の半導体装置であって、
前記外部トレンチの前記電極上に設けられた前記層間絶縁膜は、前記外部トレンチの内側と外側とに跨って設けられている、半導体装置。
【請求項4】
請求項1に記載の半導体装置であって、
前記外部トレンチの前記電極上に設けられた前記層間絶縁膜は、前記不純物領域上にも設けられている、半導体装置。
【請求項5】
請求項1または請求項2に記載の半導体装置であって、
前記外部トレンチの前記電極上に設けられた前記層間絶縁膜上に、前記外部トレンチの内側と外側とに跨がって設けられたゲート配線電極をさらに備え、
前記ゲート配線電極は、前記層間絶縁膜から露出された前記外部トレンチの前記電極と接続されている、半導体装置。
【請求項6】
請求項1に記載の半導体装置であって、
前記ゲートトレンチの前記電極上に設けられた前記層間絶縁膜上に設けられたゲート配線電極をさらに備え、
前記ゲート配線電極は、前記層間絶縁膜から露出された前記ゲートトレンチの前記電極と接続されている、半導体装置。
【請求項7】
請求項1に記載の半導体装置であって、
前記ゲートトレンチの前記電極上に設けられた前記層間絶縁膜のうち前記不純物領域と対向する端部である層間膜端部は、前記不純物領域の前記上面よりも低い、半導体装置。
【請求項8】
請求項1に記載の半導体装置であって、
前記ゲートトレンチの前記電極上に設けられた前記層間絶縁膜のうち前記不純物領域と対向する端部である層間膜端部の一部は、前記不純物領域の前記上面よりも高い部分を含む、半導体装置。
【請求項9】
請求項1または請求項7に記載の半導体装置であって、
前記層間絶縁膜は複数層からなる、半導体装置。
【請求項10】
第1導電型のドリフト層と、
前記ドリフト層上に設けられた第2導電型のウェル領域と、
前記ウェル領域上に設けられた前記第1導電型の不純物領域と、
前記不純物領域の上面から前記ウェル領域を貫通して前記ドリフト層まで達するゲートトレンチの内側の絶縁膜上に設けられた電極と、
前記電極上に設けられた層間絶縁膜と
を備え、
前記ゲートトレンチの内側の前記絶縁膜のうち前記不純物領域と対向する端部である絶縁膜端部、及び、前記ゲートトレンチの内側の前記電極のうち前記不純物領域と対向する端部である電極端部は、前記不純物領域の前記上面よりも低く、
断面視において、前記ゲートトレンチの側面と前記不純物領域の前記上面との間に凹部が設けられ、
活性領域に設けられた前記ゲートトレンチは、終端領域に設けられ、平面視で周期構造を有さない外部トレンチと互いに直接つながっている、半導体装置。
(【請求項11】以降は省略されています)
発明の詳細な説明
【技術分野】
【0001】
本開示は、半導体装置及び半導体装置の製造方法に関する。
続きを表示(約 1,900 文字)
【背景技術】
【0002】
近年、終端構造のトレンチの深さを、活性領域のトレンチの深さと同じにして、ドリフト層内での空乏層の深さを揃えることによって、半導体装置の耐圧低下を抑制する技術が提案されている(例えば特許文献1)。
【先行技術文献】
【特許文献】
【0003】
特開2014-165364号公報
【発明の概要】
【発明が解決しようとする課題】
【0004】
従来技術では、トレンチを形成するエッチング条件によって、トレンチ上部のゲート絶縁膜の状態が悪くなる場合がある。そのような場合に半導体装置を動作させると、トレンチ上部のゲート絶縁膜が劣化して、半導体装置の絶縁信頼性が低下することがあった。
【0005】
そこで、本開示は、上記のような問題点に鑑みてなされたものであり、半導体装置の絶縁信頼性を高めることが可能な技術を提供することを目的とする。
【課題を解決するための手段】
【0006】
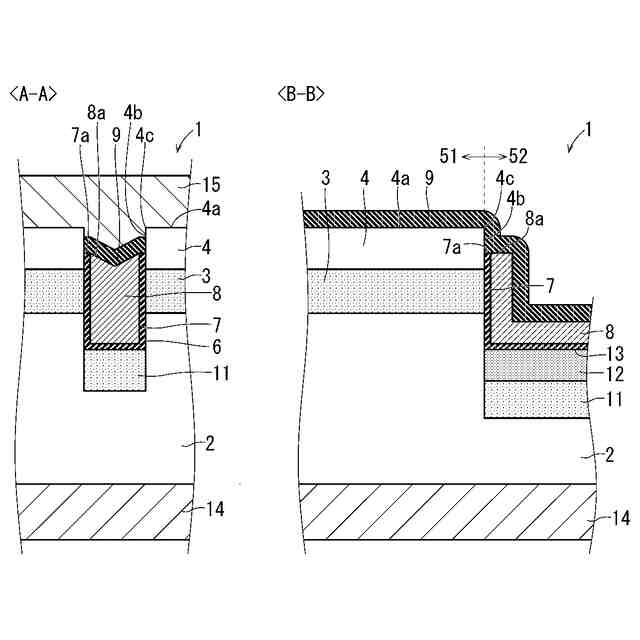
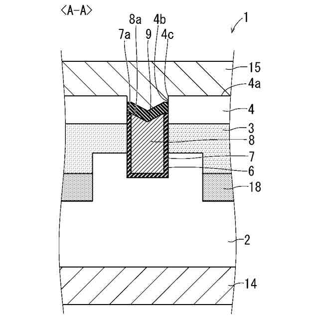
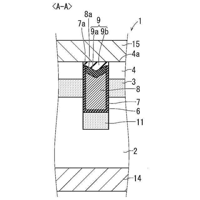
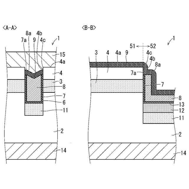
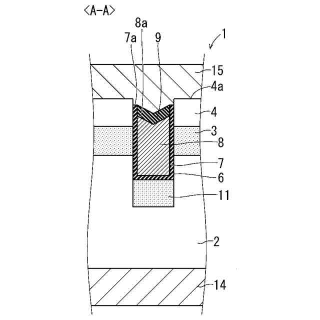
本開示に係る第1の半導体装置は、第1導電型のドリフト層と、前記ドリフト層上に設けられた第2導電型のウェル領域と、前記ウェル領域上に設けられた前記第1導電型の不純物領域と、前記不純物領域の上面から前記ウェル領域を貫通して前記ドリフト層まで達するゲートトレンチの内側の絶縁膜上に設けられた電極と、前記電極上に設けられた層間絶縁膜とを備え、前記ゲートトレンチの内側の前記絶縁膜のうち前記不純物領域と対向する端部である絶縁膜端部、及び、前記ゲートトレンチの内側の前記電極のうち前記不純物領域と対向する端部である電極端部は、前記不純物領域の前記上面よりも低く、活性領域に設けられた前記ゲートトレンチは、終端領域に設けられ、平面視で周期構造を有さない外部トレンチと互いに直接つながっている。
【0007】
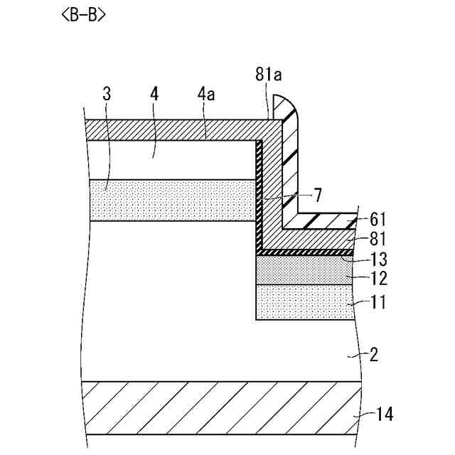
本開示に係る第2の半導体装置は、第1導電型のドリフト層と、前記ドリフト層上に設けられた第2導電型のウェル領域と、前記ウェル領域上に設けられた前記第1導電型の不純物領域と、前記不純物領域の上面から前記ウェル領域を貫通して前記ドリフト層まで達するゲートトレンチの内側の絶縁膜上に設けられた電極と、前記電極上に設けられた層間絶縁膜とを備え、前記ゲートトレンチの内側の前記絶縁膜のうち前記不純物領域と対向する端部である絶縁膜端部、及び、前記ゲートトレンチの内側の前記電極のうち前記不純物領域と対向する端部である電極端部は、前記不純物領域の前記上面よりも低く、断面視において、前記ゲートトレンチの側面と前記不純物領域の前記上面との間に凹部が設けられ、活性領域に設けられた前記ゲートトレンチは、終端領域に設けられ、平面視で周期構造を有さない外部トレンチと互いに直接つながっている。
【発明の効果】
【0008】
本開示によれば、絶縁膜端部及び電極端部は、不純物領域の上面よりも低い。このような構成によれば、半導体装置の絶縁信頼性を高めることができる。
【0009】
本開示の目的、特徴、局面及び利点は、以下の詳細な説明と添付図面とによって、より明白となる。
【図面の簡単な説明】
【0010】
実施の形態1に係る半導体装置の構成を示す平面図である。
実施の形態1に係る半導体装置の構成を示す断面図である。
実施の形態1に係る半導体装置の構成を示す断面図である。
実施の形態1に係る半導体装置の製造工程を示すフローチャートである。
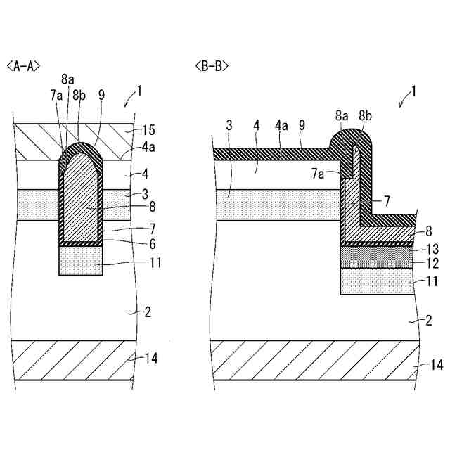
実施の形態1の変形例1に係る半導体装置の構成を示す断面図である。
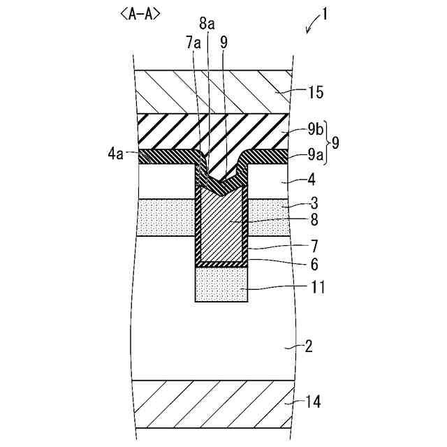
実施の形態1の変形例1に係る半導体装置の製造工程を示す断面図である。
実施の形態1の変形例2に係る半導体装置の構成を示す断面図である。
実施の形態1の変形例2に係る半導体装置の構成を示す断面図である。
実施の形態2に係る半導体装置の構成を示す断面図である。
実施の形態3に係る半導体装置の構成を示す断面図である。
実施の形態3の変形例1に係る半導体装置の構成を示す断面図である。
実施の形態4に係る半導体装置の構成を示す平面図である。
実施の形態4に係る半導体装置の構成を示す断面図である。
実施の形態4の変形例1に係る半導体装置の構成を示す平面図である。
実施の形態4の変形例1に係る半導体装置の構成を示す断面図である。
実施の形態5に係る半導体装置の構成を示す断面図である。
【発明を実施するための形態】
(【0011】以降は省略されています)
この特許をJ-PlatPat(特許庁公式サイト)で参照する
関連特許
三菱電機株式会社
回転電機
5日前
三菱電機株式会社
給湯システム
8日前
三菱電機株式会社
貯湯式給湯機
5日前
三菱電機株式会社
電動機制御装置
1日前
三菱電機株式会社
照明制御システム
2日前
三菱電機株式会社
風力発電システム
5日前
三菱電機株式会社
換気空調システム
5日前
三菱電機株式会社
コントローラ及び送風システム
5日前
三菱電機株式会社
インバータ装置およびモータ駆動装置
3日前
三菱電機株式会社
照明制御装置および照明制御システム
1日前
三菱電機株式会社
照明制御装置および照明制御システム
5日前
三菱電機株式会社
指示支援装置、方法、及びプログラム
5日前
三菱電機株式会社
回転電機のステータおよびその製造方法
5日前
三菱電機株式会社
空調制御システム、学習装置および推論装置
5日前
三菱電機株式会社
半導体検査装置および半導体装置の製造方法
3日前
三菱電機株式会社
電力変換装置および電力変換装置の制御方法
1日前
三菱電機株式会社
除湿器、除湿器の製造方法および電気制御機器
2日前
三菱電機株式会社
診断装置、診断システム、診断方法、及びプログラム
3日前
三菱電機株式会社
監視装置、監視システム、監視方法及び監視プログラム
5日前
三菱電機ビルソリューションズ株式会社
エレベータのかご
5日前
三菱電機株式会社
サーバ装置、機器制御システム、制御方法、及び、プログラム
3日前
三菱電機株式会社
設計支援装置、学習装置、学習済みモデル、および学習システム
5日前
三菱電機株式会社
給電装置、充電装置、充放電装置、充放電システムおよび制御方法
5日前
三菱電機株式会社
データ連携システム、データ連携方法、およびデータ連携プログラム
2日前
三菱電機株式会社
プラント監視制御システム及びプラント監視制御システムの制御方法
1日前
三菱電機株式会社
敵対的ロバスト性のための離散入力の変換のためのシステムおよび方法
5日前
三菱電機ビルソリューションズ株式会社
エレベータ用防災キャビネット
2日前
三菱電機株式会社
半導体装置及び半導体装置の製造方法
4日前
三菱電機株式会社
監視システム、人工衛星および地上設備
1日前
三菱電機株式会社
機器管理システムおよび冷媒量推定方法
4日前
三菱電機株式会社
異常予兆検知装置、異常予兆検知システム、異常予兆検知方法及び異常予兆検知プログラム
1日前
三菱電機株式会社
仮想信号装置、移動体管理システムおよび移動体管理方法
4日前
三菱電機プラントエンジニアリング株式会社
電動機の絶縁劣化診断装置および電動機の絶縁劣化診断方法
2日前
三菱電機株式会社
移動体、情報処理装置、移動体制御システム、移動体制御方法およびプログラム
1日前
三菱電機株式会社
ろう付装置、ろう付方法、溶接物の製造方法、ガス流量の機械学習装置および決定装置、ならびに、センサ位置の機械学習装置および決定装置
1日前
エイブリック株式会社
半導体装置
1か月前
続きを見る
他の特許を見る