TOP
|
特許
|
意匠
|
商標
特許ウォッチ
Twitter
他の特許を見る
10個以上の画像は省略されています。
公開番号
2025122228
公報種別
公開特許公報(A)
公開日
2025-08-20
出願番号
2025093824,2020191576
出願日
2025-06-05,2020-11-18
発明の名称
プリンタ
出願人
株式会社サトー
代理人
弁理士法人グローバル・アイピー東京
主分類
B41J
2/32 20060101AFI20250813BHJP(印刷;線画機;タイプライター;スタンプ)
要約
【課題】サーマルヘッドの取り付け方法に起因した印字品質の低下を防止する。
【解決手段】本発明の一態様は、印字媒体を搬送する搬送ローラと、搬送ローラとともに印字媒体を挟持して印字媒体に印字する印字ヘッドと、印字ヘッドを搬送ローラに向かう第1方向に付勢する付勢部材と、印字ヘッドと当接する当接部と、を備えたプリンタである。印字ヘッドは、付勢部材によって付勢されている第1側と、第1側とは反対側であって搬送ローラに対向する第2側と、を有する。プリンタの側面視で見て、付勢部材の付勢力の印字ヘッドに対する作用点は、印字ヘッドが搬送ローラから反力を受ける位置と、当接部が印字ヘッドの第2側を支持する位置との間にある。印字ヘッドは、当接部を支点としてプリンタを側面視から見たときの時計回り若しくは反時計回りの揺動方向に揺動可能
に構成されている。
【選択図】図20
特許請求の範囲
【請求項1】
印字媒体を搬送する搬送ローラと、
前記搬送ローラとともに前記印字媒体を挟持して前記印字媒体に印字する印字ヘッドと
、
前記印字ヘッドを前記搬送ローラに向かう第1方向に付勢する付勢部材と、
前記印字ヘッドと当接する当接部と、
を備え、
前記印字ヘッドは、前記付勢部材によって付勢されている第1側と、前記第1側とは反
対側であって前記搬送ローラに対向する第2側と、を有し、
プリンタの側面視で見て、前記付勢部材の付勢力の前記印字ヘッドに対する作用点は、
前記印字ヘッドが前記搬送ローラから反力を受ける位置と、前記当接部が前記印字ヘッド
の前記第2側を支持する位置との間にあり、
前記印字ヘッドは、前記当接部を支点としてプリンタを側面視から見たときの時計回り
若しくは反時計回りの揺動方向に揺動可能に構成されている、
プリンタ。
続きを表示(約 900 文字)
【請求項2】
前記付勢部材は、プリンタ幅方向に対して一対で構成され、
前記当接部は、前記印字ヘッドの前記第2側において、前記一対の付勢部材の実質的に
中央位置に当接し、
前記印字ヘッドは、前記当接部を支点としてプリンタを平面視から見たときの時計回り
若しくは反時計回りの揺動方向に揺動可能に構成されている、
請求項1に記載されたプリンタ。
【請求項3】
前記印字ヘッドの前記第2側には、被覆層が形成された被覆領域と、前記被覆層が形成
されていない非被覆領域と、が形成され、
前記当接部は、前記非被覆領域において前記印字ヘッドと当接する、
請求項1又は2に記載されたプリンタ。
【請求項4】
前記印字ヘッドの前記第2側には、前記当接部と当接する位置に、前記当接部に対応す
る形状の凹部又は凸部が設けられている、
請求項1から3のいずれか一項に記載されたプリンタ。
【請求項5】
前記印字ヘッドは、前記印字ヘッドを着脱可能な第1位置と、前記印字ヘッドを着脱す
ることを規制する第2位置と、の間で前記第1方向に変位可能である、
請求項1から4のいずれか一項に記載されたプリンタ。
【請求項6】
前記印字ヘッドは、発熱素子が実装された基部と、前記基部の両端から外側に延びる一
対の軸と、を有し、
前記プリンタは、前記一対の軸を受け入れる一対の溝を有し、各溝は、前記第1位置か
ら前記印字ヘッドを着脱する方向に延びる第1溝と、前記第1位置から前記第2位置まで
前記第1方向に延びる第2溝と、が形成されている、
請求項5に記載されたプリンタ。
【請求項7】
前記印字ヘッドは、複数の発熱素子を有し、
前記印字ヘッドの第2側において、前記当接部が当接する面と前記複数の発熱素子が形
成されている面とは、同一基準面上にある、
請求項1から6のいずれか一項に記載されたプリンタ。
発明の詳細な説明
【技術分野】
【0001】
本発明は、プリンタに関する。
続きを表示(約 3,000 文字)
【背景技術】
【0002】
従来のサーマルヘッドを備えたサーマルプリンタにおいて、サーマルヘッドの取り付け
方法として、例えば、プリンタの内部フレーム又は筐体に対して、ねじやシャフト、ある
いはブラケット等を用いて固定する方法等が採られることが知られている。
例えば、特許文献1には、金属板からなる支持部材によってサーマルヘッドを固定する
支持部材を有するサーマルプリンタが記載されている。支持部材は、2本の細長い平板状
の腕部と、2本の腕部を連結する連結部とを有し、連結部の底面にサーマルヘッドが取り
付けられている。2本の腕部は、その末端部分においてフレームの側壁部に軸支されてい
る。
【先行技術文献】
【特許文献】
【0003】
特開2019-064017号公報
【発明の概要】
【発明が解決しようとする課題】
【0004】
しかしながら、上述した従来のサーマルヘッドの取り付け方法では、取り付け位置のず
れに起因して、サーマルヘッドがプラテンローラに当接するときの圧力がプラテンローラ
の軸方向に均一でなくなる場合がある。サーマルヘッドのプラテンローラに対する圧力が
不均一になると、印字品質が低下する虞がある。
【0005】
そこで、本発明は、サーマルヘッドの取り付け方法に起因した印字品質の低下を防止す
ることを目的とする。
【課題を解決するための手段】
【0006】
本発明のある態様は、印字媒体を搬送する搬送ローラと、前記搬送ローラとともに前記
印字媒体を挟持して前記印字媒体に印字する印字ヘッドと、前記印字ヘッドを前記搬送ロ
ーラに向かう第1方向に付勢する付勢部材と、前記印字ヘッドと当接する当接部と、を備
え、前記印字ヘッドは、前記付勢部材によって付勢されている第1側と、前記第1側とは
反対側であって前記搬送ローラに対向する第2側と、を有し、プリンタの側面視で見て、
前記付勢部材の付勢力の前記印字ヘッドに対する作用点は、前記印字ヘッドが前記搬送ロ
ーラから反力を受ける位置と、前記当接部が前記印字ヘッドの前記第2側を支持する位置
との間にあり、前記印字ヘッドは、前記当接部を支点としてプリンタを側面視から見たと
きの時計回り若しくは反時計回りの揺動方向に揺動可能に構成されている、プリンタであ
る。
【発明の効果】
【0007】
本発明のある態様によれば、サーマルヘッドの取り付け方法に起因した印字品質の低下
を防止することができる。
【図面の簡単な説明】
【0008】
図1Aは、実施形態に係るプリンタについてプリンタカバーが閉鎖状態である場合の斜視図であり、図1Bは、実施形態に係るプリンタについてプリンタカバーが開放状態である場合の斜視図である。
実施形態のプリンタについて、プリンタカバーが開放状態であり、剥離ユニットが開放状態であり、ロール紙が収容されていない状態の斜視図である。
実施形態のプリンタにおいて連続発行と剥離発行を説明するための部分的な断面図である。
カバー開放用ボタンによってプリンタカバーが開放状態となる機構を説明する図である。
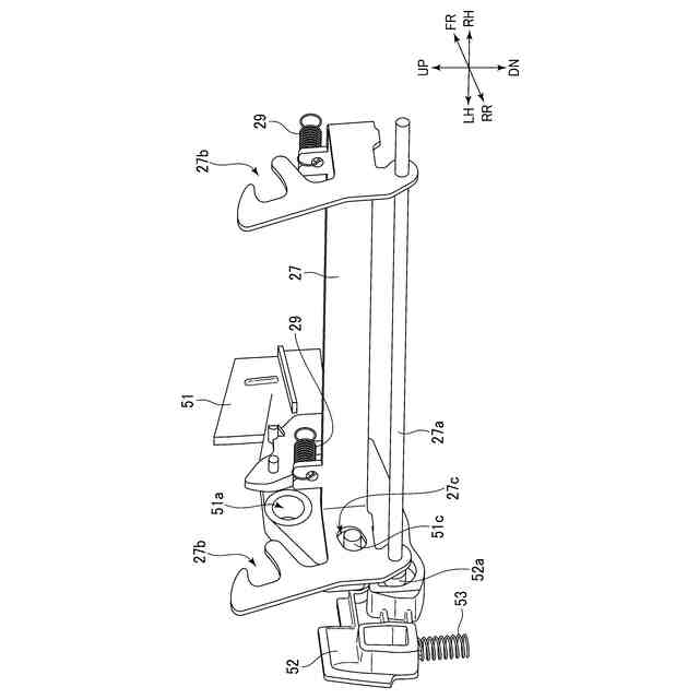
プラテン保持ブラケットとレバー群の位置関係を示す図である。
開放時と閉鎖時における剥離ユニットの斜視図である。
開放時の剥離ユニットについて、図6とは別の視点から見た斜視図である。
連続発行時と剥離ユニット開放用ボタン操作時において、剥離ユニット開放用レバーと剥離ユニットの関係を説明する図である。
連続発行時と剥離ユニット開放用ボタン操作時において、剥離ユニット開放用レバーと剥離ユニットの関係を説明する図である。
図10Aは本実施形態のプリンタのプリンタカバーの平面図であり、図10Bは図10AのA-A断面図である。
剥離発行時において剥離ローラ近傍の部分拡大断面図である。
剥離ユニットを折り畳むときの動作を説明する図である。
剥離ユニットを折り畳むときの動作を説明する図である。
実施形態のプリンタを連続発行から剥離発行に切り替えるときの動作を順に示す図である。
実施形態のプリンタを連続発行から剥離発行に切り替えるときの動作を順に示す図である。
図16Aはサーマルヘッドの前側を示す図であり、図16Bはサーマルヘッドの後側を示す図である。
図16Aの断面A-A及び断面B-Bを拡大して示す断面図である。
サーマルヘッドに対する軸受入溝を含むプリンタの部分断面図である。
サーマルヘッドの交換方法を説明する図である。
内部フレームに設けられ、サーマルヘッドを支持する凸部を示す図である。
実施形態のプリンタにおいてサーマルヘッドに作用する力を説明する図であり、図20Aは上下方向に直交する平面での断面を示し、図20Bは左右方向に直交する平面での断面を示す。
図22Aは別の実施形態のサーマルヘッドを前方から見た斜視図であり、図22Bは別の実施形態のサーマルヘッドを後方から見た斜視図である。
別の実施形態のサーマルヘッドに含まれる板状部材の斜視図である。
別の実施形態のサーマルヘッドについて図22とは別の視点から見たときの斜視図である。
別の実施形態のサーマルヘッドとプラテン保持ブラケットの位置関係を示す側面図である。
【発明を実施するための形態】
【0009】
[プリンタ1の概略構成]
本発明の一実施形態に係るプリンタ1は、連続発行と剥離発行を切り替え可能に構成さ
れたラベルプリンタである。以下、プリンタ1について、図面を参照しながら詳細に説明
する。
なお、各図では、例えば図1A及び図1Bの斜視図に示すように、上(UP)、下(D
N)、左(LH)、右(RH)、前(FR)、後(RR)の方向を定義しているが、この
方向の定義は、専ら図面の説明の便宜のためであり、本発明のプリンタの使用時の姿勢を
限定する意図はない。
この方向の定義では、「プリンタ前後方向」とは、プリンタ1の前後の方向を意味する
。「プリンタ幅方向」とは、プリンタ1の左右の方向、あるいは横方向を意味する。
【0010】
図1A、図1B及び図2は、それぞれ実施形態のプリンタ1の斜視図である。図1Aは
、プリンタカバー3が閉鎖状態の場合を示し、図1B及び図2は、プリンタカバー3が開
放状態の場合を示している。図1Bは、ロール紙Rがセットされた状態を示し、図2は、
ロール紙R、及び、ロール紙Rがセットされる前のプリンタ1の状態を示している。
(【0011】以降は省略されています)
この特許をJ-PlatPat(特許庁公式サイト)で参照する
関連特許
株式会社サトー
プリンタ
5日前
株式会社サトー
識別バンド
3日前
株式会社サトー
衝撃センサ
24日前
株式会社サトー
衝撃センサ
24日前
株式会社サトー
衝撃センサ
24日前
株式会社サトー
プリンタ、方法
8日前
株式会社サトー
プリンタ、プリンタの制御方法、プログラム
8日前
株式会社サトー
情報処理システム、情報処理方法、プログラム
23日前
株式会社サトー
情報処理システム、情報処理方法、プログラム
15日前
株式会社サトー
情報処理システム、情報処理方法、プログラム
15日前
株式会社サトー
情報処理システム、プログラム、情報処理方法
8日前
株式会社サトー
プリンタ、プログラム、プリンタの情報処理方法
8日前
株式会社サトー
プリンタ、プリンタの情報処理方法、プログラム
8日前
株式会社サトー
プリンタ
1か月前
株式会社サトー
プリンタ
1か月前
株式会社サトー
情報処理装置、情報処理システム、情報処理方法及びプログラム
1日前
株式会社サトー
プリンタ、プリンタの情報処理方法、プログラム、情報処理システム
8日前
株式会社サトー
導電パターンを備えた基材、電子デバイス、電磁波シールドフィルムおよび面状発熱体
5日前
株式会社サトー
導電パターンを備えた基材、電子デバイス、電磁波シールドフィルムおよび面状発熱体
5日前
株式会社サトー
導電性膜、導電性基材、電子デバイス、RFタグ、電磁波シールドフィルムおよび面状発熱体
5日前
株式会社サトー
RFIDラベル及びRFIDラベルの使用方法
1か月前
株式会社サトー
スクリーンメッシュ、スクリーンマスク、導電パターンの製造方法、および導電性基材の製造方法
1か月前
株式会社サトー
スクリーンメッシュ、スクリーンマスク、導電パターンの製造方法、および導電性基材の製造方法
1か月前
株式会社サトー
導電性基材の製造方法、電子デバイスの製造方法、および電磁波シールドフィルムの製造方法、面状発熱体の製造方法
5日前
株式会社サトー
導電性基材の製造方法、電子デバイスの製造方法、および電磁波シールドフィルムの製造方法、面状発熱体の製造方法
5日前
株式会社サトー
導電性基材の製造方法、電子デバイスの製造方法、電磁波シールドフィルムの製造方法、および面状発熱体の製造方法
5日前
株式会社サトー
導電性基材の製造方法、電子デバイスの製造方法、電磁波シールドフィルムの製造方法、および面状発熱体の製造方法
5日前
株式会社サトー
導電パターンを備えた基材の製造方法、電子デバイスの製造方法、電磁波シールドフィルムの製造方法、面状発熱体の製造方法および導電パターンを備えた基材
5日前
株式会社サトー
導電パターンを備えた基材の製造方法、電子デバイスの製造方法、電磁波シールドフィルムの製造方法、面状発熱体の製造方法および導電パターンを備えた基材
5日前
株式会社サトー
導電パターンを備えた基材の製造方法、電子デバイスの製造方法、電磁波シールドフィルムの製造方法、面状発熱体の製造方法および導電パターンを備えた基材の製造用の物品
5日前
株式会社サトー
導電パターンを備えた基材の製造方法、電子デバイスの製造方法、電磁波シールドフィルムの製造方法、面状発熱体の製造方法、導電パターンを備えた基材の製造のための中間構造体および導電パターンを備えた基材
5日前
個人
箔熱転写装置
24日前
シヤチハタ株式会社
印判
4か月前
東レ株式会社
凸版印刷版原版
9か月前
シヤチハタ株式会社
反転式印判
8か月前
三菱製紙株式会社
感熱記録材料
10か月前
続きを見る
他の特許を見る