TOP
|
特許
|
意匠
|
商標
特許ウォッチ
Twitter
他の特許を見る
10個以上の画像は省略されています。
公開番号
2025141522
公報種別
公開特許公報(A)
公開日
2025-09-29
出願番号
2024041500
出願日
2024-03-15
発明の名称
ラベル
出願人
TOPPANホールディングス株式会社
代理人
個人
,
個人
主分類
G09F
3/03 20060101AFI20250919BHJP(教育;暗号方法;表示;広告;シール)
要約
【課題】被着体に貼着された後に剥離された場合に剥離を検知しやすくする。
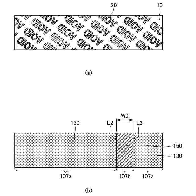
【解決手段】ベース基材10と、ベース基材10の一方の面に潜像パターンの形状に積層された剥離層20と、ベース基材10の剥離層20が積層された面の全面に剥離層20を覆って積層された粘着層30とを有し、粘着層30が、被着体に対する貼着力が第1の貼着力となる第1の領域7aと、被着体に対する貼着力が第1の貼着力よりも弱い第2の貼着力となる第2の領域7bとを有する。
【選択図】図1
特許請求の範囲
【請求項1】
被着体に貼着された後に剥離された場合に潜像パターンを発現させるラベルであって、
ベース基材と、
前記ベース基材の一方の面に前記潜像パターンの形状に積層された剥離層と、
前記ベース基材の前記剥離層が積層された面の全面に前記剥離層を覆って積層された有色貼着層と、を有し、
前記有色貼着層は、
前記被着体に対する貼着力が第1の貼着力となる第1の領域と、
前記被着体に対する貼着力が前記第1の貼着力よりも弱い第2の貼着力となる第2の領域と、を有する、ラベル。
続きを表示(約 840 文字)
【請求項2】
請求項1に記載のラベルにおいて、
前記第1の領域と前記第2の領域とは、前記ラベルの互いに対向する2つの端辺間を結ぶ境界線を介して隣接している、ラベル。
【請求項3】
請求項2に記載のラベルにおいて、
前記第2の領域は、互いに並行して延びる2本の境界線を介して2つの前記第1の領域で挟まれている、ラベル。
【請求項4】
請求項1に記載のラベルにおいて、
前記第2の領域は、2本の境界線を介して2つの前記第1の領域で挟まれており、
前記2本の境界線のうち一方の境界線は、
前記ラベルの互いに対向する2つの端辺間を結んで構成され、
前記2本の境界線のうち他方の境界線は、
前記一方の境界線と並行して延びた主辺と、
前記主辺の両端部のそれぞれから、互いに離れるように前記一方の境界線側に斜めに延びて前記端辺に達する2本の副辺と、を有して構成される、ラベル。
【請求項5】
請求項1に記載のラベルにおいて、
前記第2の領域は、前記被着体との貼着面に貼着力を低下させる加工が施されている、ラベル。
【請求項6】
請求項5に記載のラベルにおいて、
前記第2の領域は、前記被着体との貼着面に貼着力をなくすための材料が網点印刷されている、ラベル。
【請求項7】
被着体に貼着された後に剥離された場合に潜像パターンを発現させるラベルであって、
ベース基材と、
前記ベース基材の一方の面に前記潜像パターンの形状に積層された剥離層と、
前記ベース基材の前記剥離層が積層された面の全面に前記剥離層を覆って積層された有色貼着層と、を有し、
前記有色貼着層は、
前記被着体に対して貼着力を具備する第1の領域と、
前記被着体に対して貼着力を具備しない第2の領域と、を有する、ラベル。
発明の詳細な説明
【技術分野】
【0001】
本発明は、ラベルに関する。
続きを表示(約 1,800 文字)
【背景技術】
【0002】
従来、被着体に貼着されるラベルにおいては、貼着後に不正に剥離されたことを検知するための様々な工夫がなされている。
【0003】
例えば、特許文献1には、ラベル基材の裏面に文字や模様等の形状に離型剤層を配設し、さらに離型剤層に重ねて着色された粘着剤を塗布したラベルが開示されている。このラベルにおいては、貼着対象物に貼られた後に剥がされた場合、離型剤層と粘着剤とが剥離することで文字や模様等の情報が発現することになる。
【0004】
このような構造を有するラベルを、箱等の被着体の開封部分に跨って貼着しておくことで、被着体の不正開封を検知することができる。
【先行技術文献】
【特許文献】
【0005】
特開2003-330370号公報
【発明の概要】
【発明が解決しようとする課題】
【0006】
しかしながら、特許文献1に開示されたラベルのように、基材の一方の面に所定のパターンの形状に剥離層が積層され、さらに剥離層に重ねて有色の貼着層が積層されたラベルにおいては、被着体との貼着力や被着体からの剥がし方によっては、剥離層と貼着層とが剥離しない場合がある。貼着層を構成する粘着剤が伸縮性を有するものにおいては、被着体に貼着された後に剥離されようとすると、貼着層が被着体に貼着された状態で十分に伸びた後に剥離層に対向する領域が破断し、剥離層に対向する領域に貼着層が存在しない状態となる。しかしながら、被着体との貼着力や被着体からの剥がし方によっては、貼着層が十分に伸びず、剥離層に対向する領域が破断するという現象が生じにくくなる場合がある。そのため、被着体から剥離されたことの痕跡を残すことができなくなってしまう虞がある。
【0007】
本発明は、上述したような従来の技術が有する問題点に鑑みてなされたものであって、被着体に貼着された後に剥離された場合に剥離を検知しやすくすることができるラベルを提供することを目的とする。
【課題を解決するための手段】
【0008】
上記目的を達成するために本発明は、
被着体に貼着された後に剥離された場合に潜像パターンを発現させるラベルであって、
ベース基材と、
前記ベース基材の一方の面に前記潜像パターンの形状に積層された剥離層と、
前記ベース基材の前記剥離層が積層された面の全面に前記剥離層を覆って積層された有色貼着層と、を有し、
前記有色貼着層は、
前記被着体に対する貼着力が第1の貼着力となる第1の領域と、
前記被着体に対する貼着力が前記第1の貼着力よりも弱い第2の貼着力となる第2の領域とを有するラベルである。
【0009】
上記のように構成された本発明においては、被着体に貼着された後に剥離された場合に、ベース基材の一方の面に積層された剥離層が有色貼着層から剥離することで剥離層による潜像パターンが発現することにより剥離が検知されることになる。ここで、有色貼着層は、被着体に対する貼着力が第1の貼着力となる第1の領域と、被着体に対する貼着力が第1の貼着力よりも弱い第2の貼着力となる第2の領域とを有している。そのため、ラベルを剥離していき被着体から剥離される部分が第2の領域から第1の領域に移ると、被着体に対する貼着力が強くなる。これにより、引き続きラベルを被着体から剥離しようとすると、剥離力としてラベルに加わる負荷が大きくなって第1の領域にて剥離層と有色貼着層との間に大きく作用し、有色貼着層が剥離層から剥離しやすくなる。それにより、潜像パターンが発現して剥離が検知されることになる。
【0010】
このように、被着体に貼着された後に剥離された際に被着体との貼着力や被着体からの剥がし方によって剥離層と有色貼着層とが剥離しにくい場合であっても、被着体から剥離される部分が第2の領域から第1の領域に移った際に被着体に対する貼着力が強くなることで剥離層が有色貼着層から剥離しやすくなる。それにより、被着体に貼着された後に剥離された場合にその剥離を検知しやすくすることができる。
(【0011】以降は省略されています)
この特許をJ-PlatPat(特許庁公式サイト)で参照する
関連特許
個人
回転式カード学習具
1か月前
日本精機株式会社
表示装置
3か月前
個人
時刻表示機能つき手帳
2か月前
日本精機株式会社
表示装置
15日前
日本精機株式会社
表示装置
1か月前
個人
計算用教具
11日前
中国電力株式会社
標示旗
21日前
日本精機株式会社
車両用表示装置
1か月前
日本精機株式会社
車両用表示装置
2か月前
日本精機株式会社
車両用表示装置
2か月前
日本精機株式会社
車両用センサ装置
11日前
個人
モデルで薔薇の花嫁様を描く為
1か月前
トヨタ自動車株式会社
評価方法
2か月前
シャープ株式会社
表示装置
22日前
シャープ株式会社
表示装置
3か月前
株式会社一弘社
情報表示板
1か月前
個人
口唇閉鎖の訓練具
3か月前
個人
音楽教材
1か月前
株式会社ウメラボ
学習支援システム
1日前
パイオニア株式会社
表示装置
3か月前
株式会社ウメラボ
学習支援システム
7日前
ニチレイマグネット株式会社
磁着式電飾装置
21日前
株式会社半導体エネルギー研究所
半導体装置
2か月前
株式会社ノジマ
応対体験システム
3か月前
株式会社リコー
画像投射システム
22日前
リンテック株式会社
表示体
今日
学校法人関西医科大学
腹腔鏡手術訓練装置
21日前
株式会社サンゲツ
見本帳
1か月前
シチズンファインデバイス株式会社
液晶表示装置
1か月前
シチズンファインデバイス株式会社
液晶表示装置
1か月前
株式会社バンダイ
情報処理装置およびプログラム
3か月前
BEST株式会社
吊り下げ表示部材
1か月前
個人
サインポスト
2か月前
シャープ株式会社
表示装置
1か月前
個人
ピアノの指トレーニング器具及び練習方法
2か月前
シャープ株式会社
表示装置
1か月前
続きを見る
他の特許を見る