TOP
|
特許
|
意匠
|
商標
特許ウォッチ
Twitter
他の特許を見る
10個以上の画像は省略されています。
公開番号
2025129552
公報種別
公開特許公報(A)
公開日
2025-09-05
出願番号
2024026255
出願日
2024-02-26
発明の名称
電気光学装置および電子機器
出願人
セイコーエプソン株式会社
代理人
個人
,
個人
,
個人
主分類
G09F
9/30 20060101AFI20250829BHJP(教育;暗号方法;表示;広告;シール)
要約
【課題】光リーク電流を低減できる電気光学装置を提供する。
【解決手段】画素電極と、前記画素電極と離隔され、第1層、第2層、および第3層を有する配線と、前記画素電極に対応し、少なくとも一部が平面視において前記配線と重なるトランジスターと、前記トランジスターと前記配線との間の層に設けられ、前記トランジスターと電気的に接続され、かつ、少なくとも一部が平面視において前記配線と重なるデータ線と、を有し、前記第2層は、前記第1層と前記第3層との間に設けられ、前記第1層よりも小さい光反射率を有し、前記第3層は、前記第1層および前記第2層よりも前記トランジスター側に設けられ、前記第1層よりも小さい光反射率を有し、かつ、前記第2層と材質が異なる、電気光学装置。
【選択図】図5
特許請求の範囲
【請求項1】
画素電極と、
前記画素電極と離隔され、第1層、第2層、および第3層を有する配線と、
前記画素電極に対応し、少なくとも一部が平面視において前記配線と重なるトランジスターと、
前記トランジスターと前記配線との間の層に設けられ、前記トランジスターと電気的に接続され、かつ、少なくとも一部が平面視において前記配線と重なるデータ線と、
を有し、
前記第2層は、前記第1層と前記第3層との間に設けられ、前記第1層よりも小さい光反射率を有し、
前記第3層は、前記第1層および前記第2層よりも前記トランジスター側に設けられ、前記第1層よりも小さい光反射率を有し、かつ、前記第2層と材質が異なる、電気光学装置。
続きを表示(約 720 文字)
【請求項2】
請求項1において、
前記配線には、定電位が印可される、電気光学装置。
【請求項3】
請求項1において、
前記第2層の反射率は、前記第3層の反射率よりも小さい、電気光学装置。
【請求項4】
請求項1において、
前記第3層の反射率は、前記第2層の反射率よりも小さい、電気光学装置。
【請求項5】
請求項3において、
前記第2層の厚さは、前記第3層の厚さよりも大きい、電気光学装置。
【請求項6】
請求項1において、
前記データ線を覆う第1絶縁層と、
前記第1絶縁層に設けられた中継電極と、
前記第1絶縁層に設けられ、前記中継電極を覆う第2絶縁層と、
を有し、
前記配線は、前記中継電極と離隔されて前記第1絶縁層に設けられ、
前記第2絶縁層は、前記配線を覆い、
前記画素電極は、前記第2絶縁層に設けられ、
前記中継電極は、前記第2絶縁層を貫通するコンタクトによって前記画素電極と接続されている、電気光学装置。
【請求項7】
請求項3において、
前記第1層は、Al層であり、
前記第2層は、TiN層であり、
前記第3層は、Ti層である、電気光学装置。
【請求項8】
請求項4において、
前記第1層は、Al層であり、
前記第2層は、Ti層であり、
前記第3層は、TiN層である、電気光学装置。
【請求項9】
請求項1ないし8のいずれか1項に記載の電気光学装置を有する、電子機器。
発明の詳細な説明
【技術分野】
【0001】
本発明は、電気光学装置および電子機器に関する。
続きを表示(約 1,500 文字)
【背景技術】
【0002】
電気光学装置の1つとして、画素電極をスイッチング制御するトランジスターを画素ごとに有するアクティブ駆動型の液晶装置が知られている。
【0003】
例えば特許文献1には、画素電極と、トランジスターと、TiNより形成された低反射膜およびAlを含む遮光幕を積層してなるシールド層と、を備えた電気光学装置が記載されている。
【先行技術文献】
【特許文献】
【0004】
特開2013-65034号公報
【発明の概要】
【発明が解決しようとする課題】
【0005】
液晶装置では、受光型であることから表示を見やすくするために照明装置が用いられる。照明装置からの光がトランジスターに入射すると、トランジスターの半導体層が入射光により励起され、光リーク電流が生じる。
【課題を解決するための手段】
【0006】
本発明に係る電気光学装置の一態様は、
画素電極と、
前記画素電極と離隔され、第1層、第2層、および第3層を有する配線と、
前記画素電極に対応し、少なくとも一部が平面視において前記配線と重なるトランジスターと、
前記トランジスターと前記配線との間の層に設けられ、前記トランジスターと電気的に接続され、かつ、少なくとも一部が平面視において前記配線と重なるデータ線と、
を有し、
前記第2層は、前記第1層と前記第3層との間に設けられ、前記第1層よりも小さい光反射率を有し、
前記第3層は、前記第1層および前記第2層よりも前記トランジスター側に設けられ、前記第1層よりも小さい光反射率を有し、かつ、前記第2層と材質が異なる。
【0007】
本発明に係る電子機器の一態様は、
前記電気光学装置の一態様を有する。
【図面の簡単な説明】
【0008】
本実施形態に係る電気光学装置を模式的に示す平面図。
本実施形態に係る電気光学装置を模式的に示す断面図。
本実施形態に係る電気光学装置の電気的な構成を示す等価回路図。
本実施形態に係る電気光学装置の画素の配置を説明するための平面図。
本実施形態に係る電気光学装置を模式的に示す断面図。
本実施形態に係る電気光学装置を模式的に示す断面図。
本実施形態に係る電気光学装置を模式的に示す断面図。
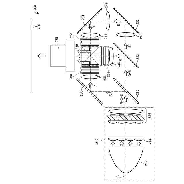
本実施形態に係る電子機器を説明するための図。
シミュレーションに用いたモデルを説明するための図。
シミュレーションに用いたターゲット層の構成、およびシミュレーションの結果を示す表。
シミュレーションの結果を示すグラフ。
【発明を実施するための形態】
【0009】
以下、本発明の好適な実施形態について、図面を用いて詳細に説明する。なお、以下に説明する実施形態は、特許請求の範囲に記載された本発明の内容を不当に限定するものではない。また、以下で説明される構成の全てが本発明の必須構成要件であるとは限らない。
【0010】
1. 電気光学装置
1.1. 全体の構成
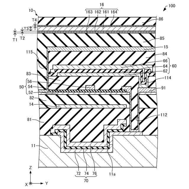
まず、本実施形態に係る電気光学装置としての液晶装置100について、図面を参照しながら説明する。図1は、本実施形態に係る液晶装置100を模式的に示す平面図である。図2は、本実施形態に係る液晶装置100を模式的に示す図1のII-II線断面図である。なお、図1および図2では、互いに直交する3軸として、X軸、Y軸、およびZ軸を図示している。
(【0011】以降は省略されています)
この特許をJ-PlatPat(特許庁公式サイト)で参照する
関連特許
個人
回転式カード学習具
1か月前
個人
時刻表示機能つき手帳
2か月前
日本精機株式会社
表示装置
1か月前
日本精機株式会社
表示装置
18日前
個人
計算用教具
14日前
中国電力株式会社
標示旗
24日前
日本精機株式会社
車両用表示装置
2か月前
日本精機株式会社
車両用表示装置
2か月前
日本精機株式会社
車両用表示装置
2か月前
個人
モデルで薔薇の花嫁様を描く為
1か月前
日本精機株式会社
車両用センサ装置
14日前
シャープ株式会社
表示装置
25日前
株式会社一弘社
情報表示板
1か月前
個人
音楽教材
1か月前
株式会社ウメラボ
学習支援システム
10日前
株式会社ウメラボ
学習支援システム
4日前
株式会社半導体エネルギー研究所
半導体装置
2か月前
ニチレイマグネット株式会社
磁着式電飾装置
24日前
株式会社リコー
画像投射システム
25日前
リンテック株式会社
表示体
3日前
学校法人関西医科大学
腹腔鏡手術訓練装置
24日前
BEST株式会社
吊り下げ表示部材
1か月前
株式会社サンゲツ
見本帳
1か月前
シチズンファインデバイス株式会社
液晶表示装置
1か月前
シチズンファインデバイス株式会社
液晶表示装置
2か月前
シャープ株式会社
表示装置
1か月前
シャープ株式会社
表示装置
2か月前
セイコーエプソン株式会社
表示方法
1か月前
セイコーエプソン株式会社
表示方法
1か月前
リンテック株式会社
粘着ラベル
4日前
ニプロ株式会社
シミュレータ
1か月前
ローム株式会社
暗号化装置
4日前
キヤノン株式会社
発光装置
17日前
TOPPANホールディングス株式会社
ラベル
2か月前
TOPPANホールディングス株式会社
ラベル
14日前
セイコーエプソン株式会社
投射型表示装置
4日前
続きを見る
他の特許を見る