TOP
|
特許
|
意匠
|
商標
特許ウォッチ
Twitter
他の特許を見る
公開番号
2025129788
公報種別
公開特許公報(A)
公開日
2025-09-05
出願番号
2024026676
出願日
2024-02-26
発明の名称
家具
出願人
株式会社LIXIL
代理人
弁理士法人 快友国際特許事務所
主分類
A47B
96/14 20060101AFI20250829BHJP(家具;家庭用品または家庭用設備;コーヒーひき;香辛料ひき;真空掃除機一般)
要約
【課題】棒状部材を配置するための技術を提供する。
【解決手段】家具は、互いに間隔をおいて配置される一対の骨部材を備えるフレームと、前記フレームに取り付けられる支持部材と、前記一対の骨部材の間において、前記支持部材に配置される取付箇所に取り付けられる棒状部材と、を備えていてもよい。
【選択図】図5
特許請求の範囲
【請求項1】
互いに間隔をおいて配置される一対の骨部材を備えるフレームと、
前記フレームに取り付けられる支持部材と、
前記一対の骨部材の間において、前記支持部材に配置される取付箇所に取り付けられる棒状部材と、を備える、家具。
続きを表示(約 470 文字)
【請求項2】
前記支持部材は、
棚板と、
前記一対の骨部材のそれぞれから前記一対の骨部材の間に延びる一対の棚板支持片を備え、
一対の棚板支持片のそれぞれは、前記取付箇所を有する、請求項1に記載の家具。
【請求項3】
前記フレームは、前記一対の骨部材の一方の骨部材と間隔を空けて、前記一対の骨部材の他方の骨部材と反対側に配置される特定の骨部材をさらに備える、請求項1から2のいずれか一項に記載の家具。
【請求項4】
前記一方の骨部材と前記特定の骨部材との間において、前記支持部材に配置される取付箇所に取り付けられる特定の棒状部材をさらに備える、請求項3に記載の家具。
【請求項5】
前記棒状部材と前記特定の棒状部材とは、同一直線上に配置される、請求項4に記載の家具。
【請求項6】
前記フレームは、壁面に取り付けられており、
前記棒状部材は、前記壁面から300mm以上離れて配置されている、請求項1から2のいずれか一項に記載の家具。
発明の詳細な説明
【技術分野】
【0001】
本明細書が開示する技術は、家具に関する。
続きを表示(約 1,100 文字)
【背景技術】
【0002】
特許文献1には、互いに並んで配置される洗面台及び洗濯機と、ハンガーパイプと、が配置される洗濯洗面室が開示されている。
【先行技術文献】
【特許文献】
【0003】
特開2023-32583号公報
【発明の概要】
【発明が解決しようとする課題】
【0004】
洗濯物は、乾燥のために棒状部材に引っ掛けて配置される。洗濯物以外にも、例えばキッチンにおいて調理用具を引っ掛けて保持させるように、引出し等に収納せずに、棒状部材に引っ掛けて保持させることが望まれる場合がある。
【0005】
本明細書では、棒状部材を配置するための技術を提供する。
【課題を解決するための手段】
【0006】
本明細書で開示の技術は、家具に関する。家具は、互いに間隔をおいて配置される一対の骨部材を備えるフレームと、前記フレームに取り付けられる支持部材と、前記一対の骨部材の間において、前記支持部材に配置される取付箇所に取り付けられる棒状部材と、を備えていてもよい。
【図面の簡単な説明】
【0007】
本実施形態の洗濯室の斜視図を示す。
本実施形態の洗濯室の正面図を示す。
本実施形態の洗濯室の平面図を示す。
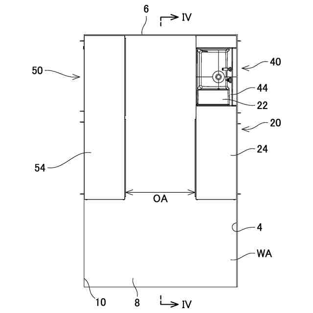
図3のIV-IV断面の断面図を示す。
本実施形態の収納棚を動作領域から見た図を示す。
本実施形態の収納棚のフレームの一部拡大斜視図を示す。
図5のVII-VII断面の断面図を示す。
【発明を実施するための形態】
【0008】
(洗濯室2の構成)
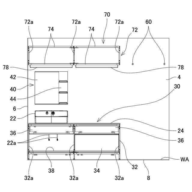
図1に示すように、洗濯室2は、洗濯機WMが設置される建物内に配置される。洗濯室2には、洗濯機WMが配置される洗濯機領域WAの周辺に、洗面台20、作業台30、50、物干具60、収納棚70、80がコンパクトに配置される。
【0009】
洗濯室2は、壁面4、6、10、床面8及び天面3によって画定される。洗濯室2の前端には、図示省略された壁面と、壁面の開口に設置される扉と、を備える洗濯室2への入口が設けられている。変形例では、入口は、壁面6に設けられていてもよい。
【0010】
壁面4、6、10には、多孔質材で作製されるタイル6aが配置されている。多孔質材は、例えば多孔質セラミックスである。多孔質材には、1~10ナノメートル程度の微細な孔が多数配置されている。タイル6aは、洗濯室2内の湿度に応じて、吸湿及び放湿を行う。これにより、洗濯室2内の湿度の変化を抑制することができる。
(【0011】以降は省略されています)
この特許をJ-PlatPat(特許庁公式サイト)で参照する
関連特許
株式会社LIXIL
建具
4日前
株式会社LIXIL
建具
7日前
株式会社LIXIL
建具
4日前
株式会社LIXIL
建具
4日前
株式会社LIXIL
建具
4日前
株式会社LIXIL
建具
4日前
株式会社LIXIL
建具
7日前
株式会社LIXIL
建具
4日前
株式会社LIXIL
建具
3日前
株式会社LIXIL
建具
17日前
株式会社LIXIL
便器装置
5日前
株式会社LIXIL
日除けシート
7日前
株式会社LIXIL
汚物処理装置
3日前
株式会社LIXIL
宅配ボックス
4日前
株式会社LIXIL
太陽電池ガラス
7日前
株式会社LIXIL
洗浄水タンク装置
3日前
株式会社LIXIL
可燃性ガス回収装置
3日前
株式会社LIXIL
窓用ステー及び開き窓
4日前
株式会社LIXIL
窓用ステー及び開き窓
4日前
株式会社LIXIL
建具および建具の改装方法
3日前
株式会社LIXIL
建具および建具の改装方法
3日前
株式会社LIXIL
建具および建具の改装方法
4日前
株式会社LIXIL
建具および建具の改装方法
4日前
株式会社LIXIL
建具および建具の改装方法
3日前
株式会社LIXIL
改装建具及び建具の防火構造
11日前
株式会社LIXIL
トイレ装置及びトイレシステム
3日前
株式会社LIXIL
床タイル及び床タイルの製造方法
4日前
株式会社LIXIL
障子、建具、及び障子の施工方法
4日前
株式会社LIXIL
障子、建具、及び障子の施工方法
4日前
株式会社LIXIL
シャワーヘッド装置及び浴室ユニット
5日前
株式会社LIXIL
宅配ボックス及び宅配ボックスの設置方法
4日前
株式会社LIXIL
トイレ装置、トイレシステム及び排卵推測装置
3日前
株式会社LIXIL
太陽光発電給電シート、建物およびペリカバー
3日前
株式会社LIXIL
洗浄ハンドルユニット、洗浄タンクユニット及び便器装置
4日前
株式会社LIXIL
駆逐装置、駆逐システム、駆逐方法および駆逐プログラム
3日前
株式会社LIXIL
改装サッシ
3日前
続きを見る
他の特許を見る