TOP
|
特許
|
意匠
|
商標
特許ウォッチ
Twitter
他の特許を見る
公開番号
2025130128
公報種別
公開特許公報(A)
公開日
2025-09-08
出願番号
2024027089
出願日
2024-02-27
発明の名称
マルチディスプレイ取付け装置
出願人
日本フォームサービス株式会社
代理人
個人
,
個人
主分類
G09F
9/00 20060101AFI20250901BHJP(教育;暗号方法;表示;広告;シール)
要約
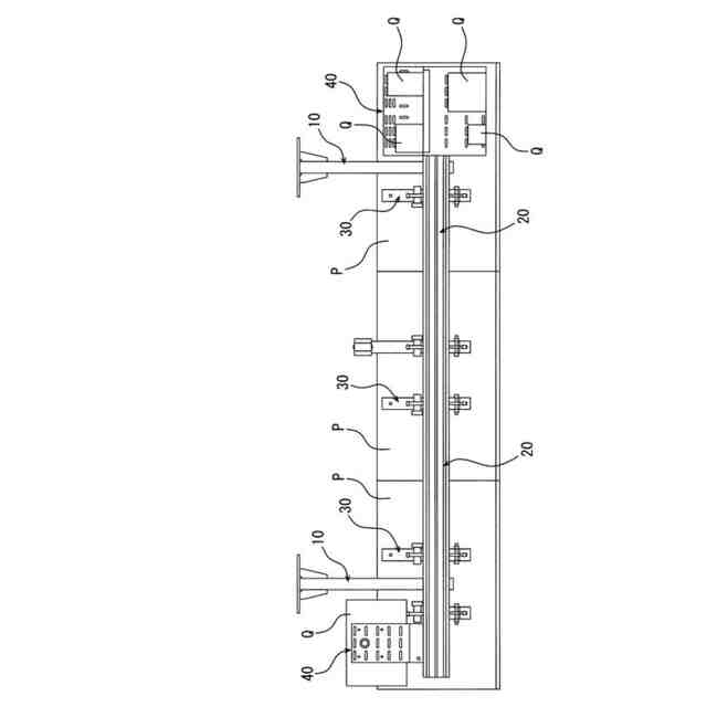
【課題】複数のディスプレイと共に制御機器も取付けることで、制御機器や接続コード等の配線を容易にするマルチディスプレイ取付け装置を提供する。
【解決手段】ディスプレイPを懸吊する複数本の支持体10を備える。複数のディスプレイPを横並びに固定するモニターフレーム20を備える。モニターフレーム20に連結するモニター取付金具30を備える。ディスプレイPの制御機器Qを装着する機器装着金具40を設ける。ディスプレイPの裏側でモニターフレーム20に機器装着金具40を連結する。連結した機器装着金具40に制御機器Qを装着する。
【選択図】 図1
特許請求の範囲
【請求項1】
ディスプレイを懸吊する複数本の支持体と、支持体に水平に架設して複数のディスプレイを横並びに固定するモニターフレームと、各ディスプレイの裏面に固定されモニターフレームに連結するモニター取付金具と、を備えたマルチディスプレイの取付け装置であって、前記ディスプレイの制御機器を装着する機器装着金具を設け、前記ディスプレイの裏側で前記モニターフレームに機器装着金具を連結すると共に、連結した機器装着金具に制御機器を装着することを特徴とするマルチディスプレイの取付け装置。
続きを表示(約 1,000 文字)
【請求項2】
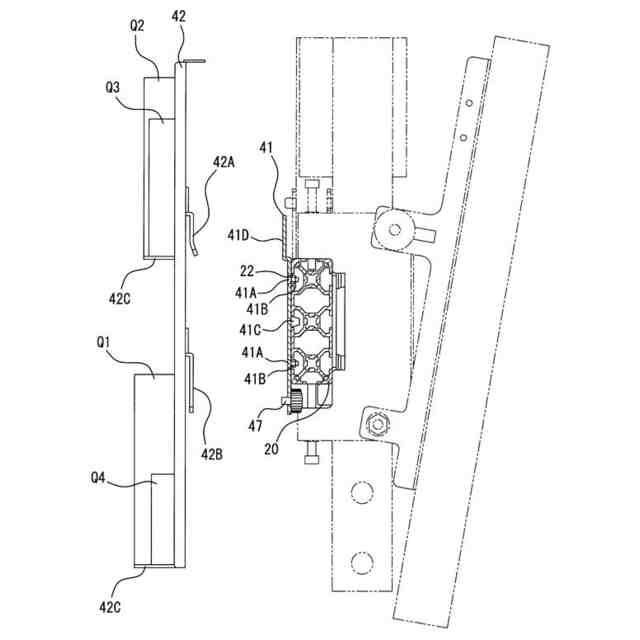
前記機器装着金具は、前記モニターフレームに固定する板状の連結金具と、連結金具に重合する板状を成し複数個の前記制御機器を取付ける取付け金具とで構成され、前記モニターフレームの外側面に形成された側部溝に連結金具の板面をネジ止めし取付け金具の板面に屈曲形成した係止片を連結金具の上端部に係止すると共に、連結金具と取付け金具とをネジ止めする請求項1記載のマルチディスプレイの取付け装置。
【請求項3】
前記機器装着金具は、前記モニターフレームに固定する断面略コ字状の連結金具と、連結金具に支持される板状を成し単体の前記制御機器を取付ける取付け金具とで構成され、前記モニターフレームの上面に形成された上部溝に連結金具の下端部をネジ止めし、取付け金具の下端部に屈曲形成した断面コ字状の嵌合部を連結金具の下端部内に嵌合すると共に、嵌合した連結金具と取付け金具とをネジ止めする請求項1記載のマルチディスプレイの取付け装置。
【請求項4】
前記モニター取付金具は、前記ディスプレイの裏面に固定されこの裏側から前記モニターフレームの上部方向に突出するスライド部を有する固定体と、固定体に揺動自在に連結され、スライド部と重合してスライド部のスライド位置を固定する調整突起を有し前記モニターフレームの上面に固定する係合体とを備え、調整突起に対するスライド部のスライド位置の調整で前記モニターフレームに固定した前記ディスプレイの角度を調整する請求項1記載のマルチディスプレイの取付け装置。
【請求項5】
前記係合体に、前記モニターフレームの外側面に形成された上部溝内に挿入して固定するはずれ止めネジと、前記モニターフレームの下面部に沿って形成された下部溝内に挿入して固定するはずれ止めネジとを備えた請求項4記載のマルチディスプレイの取付け装置。
【請求項6】
前記係合体は、前記固定体に重なるように設けられ、前記係合体から前記モニターフレームの上部方向に突出して前記スライド部の内側に重合する前記調整突起と、前記調整突起の側面にネジ止めされ前記スライド部に形成された長孔から突出し、前記調整突起のスライド位置を前記係合体に固定する固定ネジと、前記調整突起の先端側から下方に突出し前記モニターフレームの上部溝内に係止する係止突起部と、前記固定体に揺動自在に軸支され前記モニターフレームの下部方向に突出する揺動部と、を有する請求項4記載のマルチディスプレイの取付け装置。
発明の詳細な説明
【技術分野】
【0001】
本発明は、横並びに連結した複数のディスプレイと共に、ディスプレイを制御する機器を同時に取り付けることができるマルチディスプレイ取付け装置に関する。
続きを表示(約 1,300 文字)
【背景技術】
【0002】
液晶パネル等のディスプレイを複数台連結する装置として特許文献1に記載の平面ディスプレイ用マルチスタンドがある。
【0003】
このマルチスタンドは、複数のディスプレイを上下に連結して使用するもので、1本の本体支柱2に上下一対の本体取付金具3を固定すると共に、各本体取付金具3にモニターフレーム4を夫々固定し、このモニターフレーム4に、平面ディスプレイAの背面に取付けたモニター取付金具5を連結し、平面ディスプレイAを上下に組合せて一つの大画面として使用する構成である。
【0004】
一方、ディスプレイの表示面を角度調整する吊設装置が特許文献2に記載されている。この吊設装置は、吊設部材2で吊設された本体部3A,3Bと、この本体部3A,3Bを左右に貫通する棒状部材6と、映像表示装置4の背面に取付けた一対の取付部材7とを備え、取付部材7に固定した棒状部材6は、本体部3A,3B内の角度調整手段5A,5Bによって映像表示装置4と共に一体に変位するように構成したものである。
【0005】
更に、薄型のディスプレイを天井から吊り下げ支持することができる映像表示装置の吊り下げ装置が特許文献3に記載されている。この装置は、特に映像表示装置の荷重が加わるメイン部材5の天板部5Cに支持部材3の下端のフランジ部3Aの一部を連結固定することで、大幅な強度アップを図ることができるというものである。
【0006】
また、複数の表示パネルを一体に連結して保持することができるマルチモニター用の連結金具が特許文献4に記載されている。この連結金具は、隣り合う表示パネル同士を連結金具で連結固定することでマルチモニター全体が剛体となり、隣り合う表示パネルの隙間を一定に保持する構成である。
【先行技術文献】
【特許文献】
【0007】
実用新案登録第3182916号公報
特許第5160853号公報
特許第4788190号公報
特開2019-133105号公報
【発明の開示】
【発明が解決しようとする課題】
【0008】
特許文献1乃至4に記載の従来の取付け装置は、いずれもディスプレイを取付けることは可能でも、ディスプレイを制御する機器を同時に取り付けることができないといった課題がある。
【0009】
すなわち、特許文献1に記載のマルチスタンドは、ディスプレイを上下に連結して一つの大画面とする構造であり、複数のディスプレイを横並びにして連結することはできない。しかも、マルチスタンドにはディスプレイのみが取り付けられる構成で、ディスプレイを制御する機器をマルチスタンドに取り付けることもできない。
【0010】
また、特許文献2に記載の吊設装置は、角度調整手段5A,5Bにより棒状部材6と共に映像表示装置4の角度(俯角)を調整する構成である。ところが、この吊設装置は1台の平面ディスプレイを取付ける構成なので、ディスプレイを制御する他の機材を取付けることは困難である。
(【0011】以降は省略されています)
この特許をJ-PlatPat(特許庁公式サイト)で参照する
関連特許
個人
回転式カード学習具
1か月前
日本精機株式会社
表示装置
1か月前
日本精機株式会社
表示装置
8日前
日本精機株式会社
表示装置
3か月前
個人
時刻表示機能つき手帳
1か月前
個人
計算用教具
4日前
中国電力株式会社
標示旗
14日前
日本精機株式会社
車両用表示装置
1か月前
日本精機株式会社
車両用表示装置
1か月前
日本精機株式会社
車両用表示装置
1か月前
個人
モデルで薔薇の花嫁様を描く為
25日前
日本精機株式会社
車両用センサ装置
4日前
トヨタ自動車株式会社
評価方法
2か月前
株式会社一弘社
情報表示板
1か月前
シャープ株式会社
表示装置
2か月前
シャープ株式会社
表示装置
15日前
個人
音楽教材
1か月前
パイオニア株式会社
表示装置
2か月前
個人
口唇閉鎖の訓練具
2か月前
株式会社ウメラボ
学習支援システム
今日
ニチレイマグネット株式会社
磁着式電飾装置
14日前
株式会社半導体エネルギー研究所
半導体装置
1か月前
株式会社ノジマ
応対体験システム
2か月前
株式会社リコー
画像投射システム
15日前
個人
サインポスト
2か月前
シチズンファインデバイス株式会社
液晶表示装置
23日前
株式会社バンダイ
情報処理装置およびプログラム
2か月前
学校法人関西医科大学
腹腔鏡手術訓練装置
14日前
BEST株式会社
吊り下げ表示部材
1か月前
シチズンファインデバイス株式会社
液晶表示装置
1か月前
株式会社サンゲツ
見本帳
1か月前
シャープ株式会社
表示装置
1か月前
シャープ株式会社
表示装置
1か月前
朝日インテック株式会社
心臓モデル装置
3か月前
個人
ピアノの指トレーニング器具及び練習方法
2か月前
ニデックインスツルメンツ株式会社
情報処理装置
2か月前
続きを見る
他の特許を見る