TOP
|
特許
|
意匠
|
商標
特許ウォッチ
Twitter
他の特許を見る
10個以上の画像は省略されています。
公開番号
2025132050
公報種別
公開特許公報(A)
公開日
2025-09-10
出願番号
2024029367
出願日
2024-02-29
発明の名称
電子時計、針位置検出方法及びプログラム
出願人
カシオ計算機株式会社
代理人
弁理士法人光陽国際特許事務所
主分類
G04C
3/00 20060101AFI20250903BHJP(時計)
要約
【課題】少ない受光量でも精度よく針位置検出を行う。
【解決手段】時計100が、針3と、針3に対応して設けられ、穴310を有する歯車31と、歯車31に対応して設けられ、電圧が印加された場合に歯車31の穴310を貫通した光を検出するとともに、検出した光量に応じた電流を出力する検出部5と、検出部によって出力された電流に基づく値を所定のタイミングで取得して、当該電流に基づく値が予め定められた閾値以上であるか否かの判別結果に基づいて針3に対する針位置検出を行う制御部20と、を備え、所定のタイミングは、検出部によって出力される電流に基づく値が「定常状態」の値になる前のタイミングである。
【選択図】図5
特許請求の範囲
【請求項1】
針と、
前記針に対応して設けられ、穴を有する歯車と、
前記歯車に対応して設けられ、電圧が印加された場合に前記歯車の穴を貫通した光を検出するとともに、検出した光量に応じた電流を出力する検出部と、
前記検出部によって出力された電流に基づく値を所定のタイミングで取得して、当該電流に基づく値が予め定められた閾値以上であるか否かの判別結果に基づいて前記針に対する針位置検出を行う制御部と、
を備え、
前記所定のタイミングは、前記検出部によって出力される電流に基づく値が定常状態の値になる前のタイミングである、
ことを特徴とする電子時計。
続きを表示(約 1,400 文字)
【請求項2】
前記定常状態の値になる前のタイミングで取得された電流に基づく値は、光が前記検出部に当たることで蓄積される寄生容量によって一時的に増幅された値である、
ことを特徴とする請求項1に記載の電子時計。
【請求項3】
前記検出部に電圧印加する前に、前記検出部に対し、前記寄生容量をリセットするための残照影響除去パルスを入力する、
ことを特徴とする請求項2に記載の電子時計。
【請求項4】
前記所定のタイミングは、前記電流に基づく値が定常状態の値になる前のタイミングであって、かつ、前記検出部に電圧を印加してから予め定められた時間が経過したタイミングである、
ことを特徴とする請求項1に記載の電子時計。
【請求項5】
前記検出部に対向する位置に、前記検出部に向う光を発する発光部をさらに備え、
前記制御部は、前記針位置検出時には、前記検出部に電圧を印加する前に前記発光部を点灯させる、
ことを特徴とする請求項1に記載の電子時計。
【請求項6】
前記制御部は、前記発光部を点灯させてから所定時間後に前記検出部への電圧印加を行う、
ことを特徴とする請求項5に記載の電子時計。
【請求項7】
前記歯車の穴を貫通して前記検出部に検出される光は、自然光である、
ことを特徴とする請求項1に記載の電子時計。
【請求項8】
前記検出部は、
受光感度が高く電極部を有する第1面と、当該第1面と反対側の面であって前記第1面よりも受光感度の低い第2面と、を有し、
前記第1面が基板に対向する向きとなるように前記基板上に実装されている、
ことを特徴とする請求項1に記載の電子時計。
【請求項9】
針と、
前記針に対応して設けられ、穴を有する歯車と、
前記歯車に対応して設けられ、電圧が印加された場合に前記歯車の穴を貫通した光を検出するとともに、検出した光量に応じた電流を出力する検出部と、
を備えて針位置検出を行う場合に、
前記検出部によって出力された電流に基づく値を所定のタイミングで取得して、当該電流に基づく値が予め定められた閾値以上であるか否かの判別結果に基づいて前記針に対する針位置検出を行い、
前記所定のタイミングは、前記検出部によって出力される電流に基づく値が定常状態の値になる前のタイミングである、
ことを特徴とする針位置検出方法。
【請求項10】
針と、
前記針に対応して設けられ、穴を有する歯車と、
前記歯車に対応して設けられ、電圧が印加された場合に前記歯車の穴を貫通した光を検出するとともに、検出した光量に応じた電流を出力する検出部と、
を備える時計のコンピュータに、
前記検出部によって出力された電流に基づく値を所定のタイミングで取得させ、当該電流に基づく値が予め定められた閾値以上であるか否かの判別結果に基づいて前記針に対する針位置検出を行わせ、
前記所定のタイミングは、前記検出部によって出力される電流に基づく値が定常状態の値になる前のタイミングである、
ことを特徴とするプログラム。
発明の詳細な説明
【技術分野】
【0001】
本発明は、電子時計、針位置検出方法及びプログラムに関するものである。
続きを表示(約 1,900 文字)
【背景技術】
【0002】
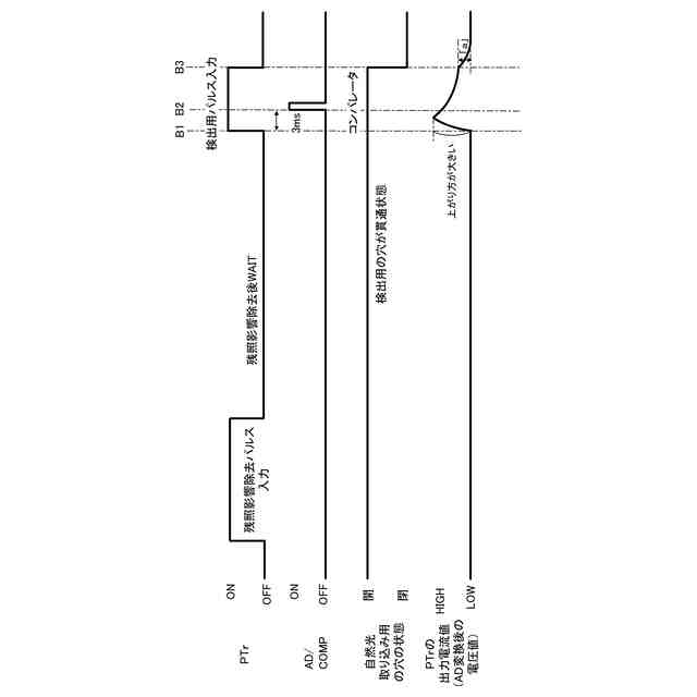
従来、LED等の発光素子の発光光や自然光をフォトトランジスタ等の受光素子で検出することによってアナログ方式の時計の針位置検出を行う技術が知られている(例えば、特許文献1参照)。従来の針位置検出では、例えばLEDの等の発光素子を用いる場合、受光素子に電圧を印加してから発光素子を発光させており、受光素子からの出力電流が安定した状態(安定期)で針位置検出の閾値判定を行っていた。
【先行技術文献】
【特許文献】
【0003】
特開2006-284444号公報
【発明の概要】
【発明が解決しようとする課題】
【0004】
しかしながら、こうした従来の手法では、受光素子から閾値を超える電流を安定して出力させるために発光素子を発光させる電力を大きくしなければならず消費電力が大きくなってしまう。また発光素子を用いず、自然光を用いて針位置検出を行おうとした場合には、環境によってはそもそも光量が足りず、受光素子から閾値を超える出力電流を得られないことも考えられる。
【0005】
本発明は以上のような事情に鑑みてなされたものであり、少ない受光量でも精度よく針位置検出を行うことのできる電子時計、針位置検出方法及びプログラムを提供することを目的とするものである。
【課題を解決するための手段】
【0006】
前記課題を解決するために、本発明に係る電子時計は、
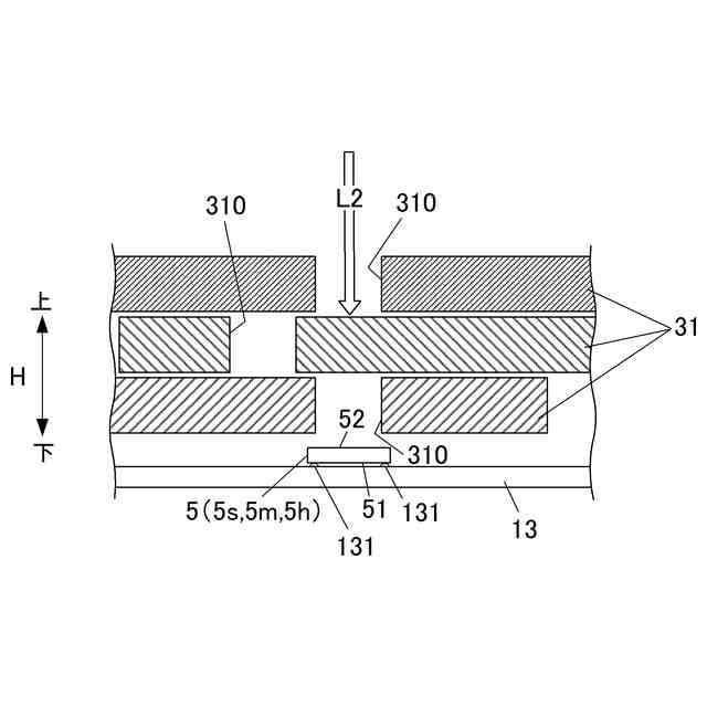
針と、前記針に対応して設けられ、穴を有する歯車と、前記歯車に対応して設けられ、電圧が印加された場合に前記歯車の穴を貫通した光を検出するとともに、検出した光量に応じた電流を出力する検出部と、前記検出部によって出力された電流に基づく値を所定のタイミングで取得して、当該電流に基づく値が予め定められた閾値以上であるか否かの判別結果に基づいて前記針に対する針位置検出を行う制御部と、を備え、前記所定のタイミングは、前記検出部によって出力される電流に基づく値が定常状態の値になる前のタイミングであることを特徴とする。
【発明の効果】
【0007】
本発明によれば、少ない受光量でも精度よく針位置検出を行うことができるという効果を奏する。
【図面の簡単な説明】
【0008】
第1の実施形態に係る時計における針位置検出に関わる部分を模式的に示す要部断面図である。
実施形態に係る時計の要部制御構成を示すブロック図である。
(a)から(d)は、第1の実施形態における発光部と検出部との配置関係を模式的に示す概略断面図である。
発光部を用いた従来の針位置検出を示すタイミングチャートである。
発光部を用いた場合の本実施形態における針位置検出を示すタイミングチャートである。
第2の実施形態に係る時計における針位置検出のための穴が貫通状態である場合の輪列機構と検出部との関係を模式的に示す要部断面図である。
第2の実施形態に係る時計の針位置検出のための穴が非貫通状態である場合の輪列機構と検出部との関係を模式的に示す要部断面図である。
自然光を用いた場合の本実施形態における針位置検出を示すタイミングチャートである。
発光部を用いた場合の本実施形態の一変形例における針位置検出を示すタイミングチャートである。
【発明を実施するための形態】
【0009】
以下、図1から図9を参照して、本発明に係る電子時計、針位置検出方法及びプログラムの実施形態について説明する。なお、以下において、電子時計を単に「時計」とする。以下に述べる実施形態には、本発明を実施するために技術的に好ましい種々の限定が付されているが、本発明の範囲を以下の実施形態及び図示例に限定するものではない。
【0010】
[第1の実施形態]
図1から図5を参照しつつ、時計100、針位置検出方法及びプログラムの第1の実施形態について説明する。図1及び図2に示すように、本実施形態の電子時計である時計100は、針3と、針3に対応して設けられた歯車31と、検出部5と、制御部20等を備え、アナログ方式で時刻表示を行う時計である。実施形態では、針3として秒針3s、分針3m、時針3hを備えている。なお、時計100は、針3を3つ備える3針方式のものに限定されず、例えば分針3mと時針3hのみを備える2針方式の時計等であってもよい。
(【0011】以降は省略されています)
この特許をJ-PlatPat(特許庁公式サイト)で参照する
関連特許
カシオ計算機株式会社
減音器具
1日前
カシオ計算機株式会社
減音器具
1日前
カシオ計算機株式会社
装飾板及び時計
今日
カシオ計算機株式会社
光源装置及び投影装置
13日前
カシオ計算機株式会社
光源装置及び投影装置
1日前
カシオ計算機株式会社
光源装置及び投影装置
1日前
カシオ計算機株式会社
端末装置及びプログラム
1日前
カシオ計算機株式会社
電子機器、及び表示制御方法
3日前
カシオ計算機株式会社
演奏装置、方法およびプログラム
1日前
カシオ計算機株式会社
発音装置及び音出力制御システム
13日前
カシオ計算機株式会社
制御装置、方法およびプログラム
3日前
カシオ計算機株式会社
演奏装置、方法およびプログラム
今日
カシオ計算機株式会社
制御装置、方法およびプログラム
3日前
カシオ計算機株式会社
補助バスマスタ回路及び電子機器
3日前
カシオ計算機株式会社
制御装置、制御方法、及びプログラム
今日
カシオ計算機株式会社
発音装置、接続装置及び音出力システム
13日前
カシオ計算機株式会社
情報処理装置、表示方法、及びプログラム
3日前
カシオ計算機株式会社
情報提供装置、情報提供方法及びプログラム
1日前
カシオ計算機株式会社
切断制御装置、切断制御方法及びプログラム
13日前
カシオ計算機株式会社
電子機器、電子機器の制御方法及びプログラム
3日前
カシオ計算機株式会社
投影装置、投影装置の調整方法及びプログラム
今日
カシオ計算機株式会社
投影装置、投影装置の調整方法及びプログラム
今日
カシオ計算機株式会社
電子時計、電子時計の制御方法及びプログラム
3日前
カシオ計算機株式会社
情報処理装置、表示制御方法、及び、プログラム
1日前
カシオ計算機株式会社
情報処理装置、電子楽器、方法およびプログラム
今日
カシオ計算機株式会社
キャリブレーション装置、及びキャリブレーション方法
3日前
カシオ計算機株式会社
情報処理装置、電子楽器、発音制御方法及びプログラム
3日前
カシオ計算機株式会社
鍵盤楽器
2日前
カシオ計算機株式会社
投影制御装置、投影制御システム、投影制御方法及びプログラム
今日
カシオ計算機株式会社
情報処理装置、情報処理システム、情報処理方法及びプログラム
3日前
カシオ計算機株式会社
電子機器、電子機器の動作制御方法、プログラム及び情報処理システム
3日前
カシオ計算機株式会社
鍵盤楽器の製造方法及び鍵盤楽器
2日前
カシオ計算機株式会社
印刷データ圧縮方法、印刷データ転送方法、印刷データ圧縮装置、及び、プログラム
7日前
カシオ計算機株式会社
教師データ生成装置、学習装置、及び、領域検出装置、プログラム、教師データの生成方法、領域推定器の学習方法、領域検出方法
1日前
個人
砂時計
13日前
個人
休憩報知タイマー
3か月前
続きを見る
他の特許を見る