TOP
|
特許
|
意匠
|
商標
特許ウォッチ
Twitter
他の特許を見る
公開番号
2025139604
公報種別
公開特許公報(A)
公開日
2025-09-29
出願番号
2024038523
出願日
2024-03-13
発明の名称
情報処理装置、表示方法、及びプログラム
出願人
カシオ計算機株式会社
代理人
インフォート弁理士法人
主分類
G06F
3/0483 20130101AFI20250919BHJP(計算;計数)
要約
【課題】複数ページの電子ファイルについての複数の電子付箋を容易に生成できるようにする。
【解決手段】情報処理装置(2、3)は、選択された電子ファイル(6)の印刷イメージが表示される電子付箋を生成するときに、電子ファイルが複数のページにわたり印刷されるものであると判定すると、ページ数に応じた複数の電子付箋(701~703)を生成する制御部(200、300)を備える。
【選択図】図6
特許請求の範囲
【請求項1】
選択された電子ファイルの印刷イメージが表示される電子付箋を生成するときに、前記電子ファイルが複数のページにわたり印刷されるものであると判定すると、ページ数に応じた複数の電子付箋を生成する制御部
を備える情報処理装置。
続きを表示(約 840 文字)
【請求項2】
前記制御部は、前記電子ファイルのページ数が上限値を上回る場合には、前記上限値と同数の電子付箋を生成する、請求項1に記載の情報処理装置。
【請求項3】
前記電子ファイルのファイル形式に応じて前記上限値が設定されており、
前記制御部は、前記電子ファイルのページ数が上限値を上回る場合には、前記ファイル形式に対応して、前記上限値と同数の電子付箋を生成する、請求項2に記載の情報処理装置。
【請求項4】
前記制御部は、前記電子ファイルの1ページ目から前記上限値により特定されるページまでの各ページの印刷イメージが表示される複数の電子付箋を生成する、請求項2に記載の情報処理装置。
【請求項5】
前記制御部は、生成した前記複数の電子付箋を各電子付箋に表示される印刷イメージのページ順に並ぶように関連付け前記複数の電子付箋を互いに重ならないように表示させるときに表示される、前記関連付けに基づいてページ順で隣り合う電子付箋同士を連結させるための所定の関連付けオブジェクトを更に生成する、請求項1に記載の情報処理装置。
【請求項6】
前記制御部は、前記電子ファイルをリンク先として前記複数の電子付箋を関連付ける、請求項1に記載の情報処理装置。
【請求項7】
情報処理装置が、
選択された電子ファイルの印刷イメージが表示される電子付箋を生成するときに、前記電子ファイルが複数のページにわたり印刷されるものであると判定すると、ページ数に応じた複数の電子付箋を生成する処理
を実行する表示方法。
【請求項8】
情報処理装置に、
選択された電子ファイルの印刷イメージが表示される電子付箋を生成するときに、前記電子ファイルが複数のページにわたり印刷されるものであると判定すると、前記ページ数に応じた複数の電子付箋を生成する処理
を実行させるプログラム。
発明の詳細な説明
【技術分野】
【0001】
本発明は、情報処理装置、表示方法、及びプログラムに関する。
続きを表示(約 1,600 文字)
【背景技術】
【0002】
パーソナルコンピュータ等の情報処理装置を利用して複数のスライドによって構成される資料の生成を支援する方法として、作業フィールド上に配置された複数のスライドオブジェクトをドラッグ操作に応じてスライドフローに追加又は除去する方法が知られている(例えば、特許文献1を参照)。スライドオブジェクトは、テキスト、手書きオブジェクト、画像、音声、動画、ウェブページ等のスライドに対応する。
【先行技術文献】
【特許文献】
【0003】
特開2017-182649号公報
【発明の概要】
【発明が解決しようとする課題】
【0004】
上述した情報処理装置で複数ページの電子ファイルを付箋化する場合、複数ページのうちの特定のページを要約画像(サムネイル)にした電子付箋のみが生成されることになる。つまり、複数ページで印刷される電子ファイルから電子付箋を生成する場合であっても特定のページのみが電子付箋をとして生成されるという不具合があった。
【0005】
本発明は、このような問題点に鑑み、複数ページの電子ファイルについての複数の電子付箋を容易に生成できるようにすることを目的の一つとする。
【課題を解決するための手段】
【0006】
本発明の一態様に係る情報処理装置は、選択された電子ファイルの印刷イメージが表示される電子付箋を生成するときに、前記電子ファイルが複数のページにわたり印刷されるものであると判定すると、ページ数に応じた複数の電子付箋を生成する制御部を備える。
【発明の効果】
【0007】
上記の態様によれば、複数ページの電子ファイルについての複数の電子付箋を容易に生成できる。
【図面の簡単な説明】
【0008】
一実施の形態に係る学習システムの構成例を説明する図である。
ユーザ端末の機能構成例を説明するブロック図である。
ユーザ端末の操作例を説明する図である。
ノート機能処理の例を説明するフローチャートである。
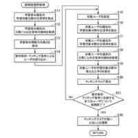
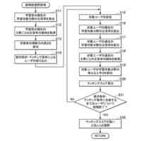
一実施の形態に係るファイル付箋化処理の例を説明するフローチャートである。
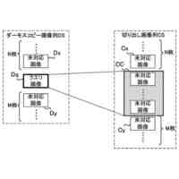
図6A~図6Dは、印刷レイアウトが複数ページの電子ファイルを付箋化する処理の具体例を説明する図である。
図7A~図7Dは、電子付箋の表示例を説明する図である。
図8A及び図8Bは、電子付箋の利用方法の例を説明する図である。
【発明を実施するための形態】
【0009】
以下、図面を参照して、本発明の実施の形態を説明する。図示した参照符号のうちの数字に続くアルファベットは、その数字の符号が割り当てられた複数の構成要素を識別することを意図している。本明細書の以下の記載では、同じ数字の符号が割り当てられた複数の構成要素のうちの特定の構成要素のみを対象とする場合にのみ、その数字に続くアルファベットを記載する。言い換えると、「ユーザ端末3」と記載されるとき、そのユーザ端末は図1の3つのユーザ端末3A~3C及び図示していないその他のユーザ端末のいずれであってもよく、「ユーザ端末3A」と記載されるとき、そのユーザ端末は図1において符号3Aが割り当てられたユーザ端末のみを指す。
【0010】
図1に例示した学習システム1は、Webシステム2とユーザ端末3とを含む。ユーザ端末3の数は、3つに限定されない。ユーザ端末3のユーザは、児童、生徒、学生等の学習システム1を利用して学習するユーザと、先生等の学習をサポートするユーザとを含む。Webシステム2とユーザ端末3の各々は、通信ネットワーク4と無線又は有線で接続可能であり、ユーザ端末3の各々は、通信ネットワーク4を介してWebシステム2と通信することができる。
(【0011】以降は省略されています)
この特許をJ-PlatPat(特許庁公式サイト)で参照する
関連特許
カシオ計算機株式会社
支持台
今日
カシオ計算機株式会社
電子鍵盤楽器
今日
カシオ計算機株式会社
装飾板及び時計
1日前
カシオ計算機株式会社
端末装置及びプログラム
2日前
カシオ計算機株式会社
外装部品ユニット及び時計
今日
カシオ計算機株式会社
カッターユニット及び切断装置
今日
カシオ計算機株式会社
演奏装置、方法およびプログラム
1日前
カシオ計算機株式会社
ロボット、及びロボットの製造方法
今日
カシオ計算機株式会社
情報処理装置、方法およびプログラム
今日
カシオ計算機株式会社
制御装置、制御方法、及びプログラム
1日前
カシオ計算機株式会社
外装部品、外装部品ユニット及び時計
今日
カシオ計算機株式会社
プログラム、電子機器及び登録処理方法
今日
カシオ計算機株式会社
電子機器、登録処理方法及びプログラム
今日
カシオ計算機株式会社
音声提供装置、音声提供方法及びプログラム
今日
カシオ計算機株式会社
情報処理装置、プログラム及び情報処理方法
今日
カシオ計算機株式会社
投影装置、投影装置の調整方法及びプログラム
1日前
カシオ計算機株式会社
投影装置、投影装置の調整方法及びプログラム
1日前
カシオ計算機株式会社
電子楽器、電子楽器の制御方法及びプログラム
今日
カシオ計算機株式会社
情報処理装置、表示制御方法、及びプログラム
今日
カシオ計算機株式会社
印刷装置、印刷装置の制御方法及びプログラム
今日
カシオ計算機株式会社
機器の制御装置、機器の制御方法及びプログラム
今日
カシオ計算機株式会社
入力文作成装置、入力文作成方法及びプログラム
今日
カシオ計算機株式会社
画像処理装置、プログラム、及び、画像処理方法
今日
カシオ計算機株式会社
情報処理装置、電子楽器、方法およびプログラム
1日前
カシオ計算機株式会社
情報処理装置、表示制御方法、及び、プログラム
今日
カシオ計算機株式会社
通信方法、通信システム、電子機器及びプログラム
今日
カシオ計算機株式会社
電子機器、認証システム、制御方法及びプログラム
今日
カシオ計算機株式会社
電子機器、心理的状態変動評価方法及びプログラム
今日
カシオ計算機株式会社
表示制御プログラム、表示制御方法、及び、情報処理装置
今日
カシオ計算機株式会社
端末装置、運動評価システム、運動評価方法及びプログラム
今日
カシオ計算機株式会社
制御装置、投影システム、作業ガイド作成方法及びプログラム
今日
カシオ計算機株式会社
情報処理装置、情報処理方法、プログラム及び学習支援システム
今日
カシオ計算機株式会社
情報処理装置、情報処理方法、プログラム及び学習支援システム
今日
カシオ計算機株式会社
情報処理装置、情報処理方法、プログラム及び学習支援システム
今日
カシオ計算機株式会社
投影制御装置、投影制御システム、投影制御方法及びプログラム
1日前
カシオ計算機株式会社
ロボット制御装置、ロボット、ロボットの制御方法及びプログラム
今日
続きを見る
他の特許を見る