TOP
|
特許
|
意匠
|
商標
特許ウォッチ
Twitter
他の特許を見る
10個以上の画像は省略されています。
公開番号
2025142651
公報種別
公開特許公報(A)
公開日
2025-10-01
出願番号
2024042126
出願日
2024-03-18
発明の名称
光源装置及び投影装置
出願人
カシオ計算機株式会社
代理人
弁理士法人コスモ国際特許事務所
主分類
F21S
2/00 20160101AFI20250924BHJP(照明)
要約
【課題】光の利用効率を向上させた光源装置及び投影装置を提供する。
【解決手段】投影装置10の光源装置60は、複数の半導体発光素子を含む光源パッケージ75が設けられる光出射装置70と、マイクロレンズアレイ171と、を備え、光出射装置70は、光出射装置70からの光が偏ってマイクロレンズアレイ171に照射されるように、かつ、マイクロレンズアレイ171から出射する光を投影光学系220の無効領域LSに照射しないように配置されている。
【選択図】図2
特許請求の範囲
【請求項1】
複数の半導体発光素子が設けられる光出射装置と、
マイクロレンズアレイと、を備え、
前記光出射装置は、前記光出射装置からの光が偏って前記マイクロレンズアレイに照射されるように、かつ、前記マイクロレンズアレイから出射する光を投影光学系の無効領域に照射しないように配置されている、
光源装置。
続きを表示(約 790 文字)
【請求項2】
前記光出射装置における複数の前記半導体発光素子は、それぞれ異なる波長帯域の光を出射する、請求項1に記載の光源装置。
【請求項3】
前記光出射装置は、マルチチップパッケージ構造からなる、請求項1に記載の光源装置。
【請求項4】
前記光出射装置から前記マイクロレンズアレイまでの光路上には、1枚の凸レンズ及び1枚の凹レンズ、又は、1枚の凸メニスカスレンズが設けられる、請求項1に記載の光源装置。
【請求項5】
各前記半導体発光素子は、楕円形の光を出射し、
前記マイクロレンズアレイは、複数のマイクロレンズが格子状に配置され、
前記光出射装置は、前記楕円形の光が前記複数のマイクロレンズの配列方向に対して傾斜するように設けられる、請求項1に記載の光源装置。
【請求項6】
請求項1乃至請求項5の何れか記載の光源装置と、
前記マイクロレンズアレイからの光が照射されて画像光を生成する表示素子と、
前記表示素子から出射される前記画像光を投影する投影光学系と、
を有する投影装置。
【請求項7】
前記マイクロレンズアレイは、前記表示素子からの前記画像光の光線角度を規制する光線角度規制因子から設定される有効領域を有し、
前記光出射装置からの光は、前記有効領域内に照射される、請求項6に記載の投影装置。
【請求項8】
前記表示素子は、DMD又はLCDである、請求項6に記載の投影装置。
【請求項9】
前記光出射装置から出射される光の迷光を遮蔽する遮蔽板を有し、
前記光源装置は、前記表示素子から出射する光が前記遮蔽板を避けて前記投影光学系に照射されるように配置される、請求項6に記載の投影装置。
発明の詳細な説明
【技術分野】
【0001】
本発明は、光源装置及び投影装置に関する。
続きを表示(約 2,200 文字)
【背景技術】
【0002】
従来から、複数のレーザダイオード等の半導体発光素子を含み、これらの複数の半導体発光素子が同一の基板上に設けられたマルチチップパッケージ構造等の光出射装置を用いた光源装置及び投影装置が開示されている。例えば、特許文献1には、光出射装置としての光源モジュールと、マイクロレンズアレイを含む光源装置を備える投影装置が開示されている。光源モジュールからの光は、マイクロレンズアレイに照射される。マイクロレンズアレイに照射された光は、均一化された光として出射され、他の光学素子を介してDMD(Digital Micromirror Device)等の表示素子に照射される。表示素子に光が照射されると、表示素子によって画像光が生成されて、投影光学系である投影レンズを介して投影画像が投影される。
【先行技術文献】
【特許文献】
【0003】
特開2023-154401号公報
【発明の概要】
【発明が解決しようとする課題】
【0004】
光出射装置から出射された光は、光軸の向きを変更する反射ミラーを介して表示素子に照射される。また、表示素子により生成された画像光が投影光学系に入射されるまでの光路の近傍には、迷光を遮蔽する遮蔽板が設けられることがある。すると、投影光学系には、反射ミラーや遮蔽板等の部材の影響により光を取り込むことができない無効領域が生じてしまうことがある。よって、複数の半導体発光素子が設けられる光出射装置からの出射光は、一部の半導体発光素子から出射された光が投影光学系の無効領域に照射されてしまうことがある。そうすると、光出射装置からの出射光の利用効率が低減することとなってしまう。
【0005】
本発明は、以上の点に鑑み、光の利用効率を向上させた光源装置及び投影装置を提供することを目的とする。
【課題を解決するための手段】
【0006】
本発明の光源装置は、複数の半導体発光素子が設けられる光出射装置と、マイクロレンズアレイと、を備え、前記光出射装置は、前記光出射装置からの光が偏って前記マイクロレンズアレイに照射されるように、かつ、前記マイクロレンズアレイから出射する光を投影光学系の無効領域に照射しないように配置されている。
【0007】
本発明の投影装置は、上述の光源装置と、前記マイクロレンズアレイからの光が照射されて画像光を生成する表示素子と、前記表示素子から出射される画像光を投影する投影光学系と、を有する。
【発明の効果】
【0008】
本発明によれば、光の利用効率を向上させた光源装置及び投影装置を提供することができる。
【図面の簡単な説明】
【0009】
本発明の実施形態に係る投影装置の機能回路ブロックを示す図である。
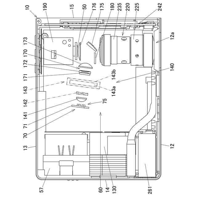
本発明の実施形態に係る投影装置の内部構造を示す平面模式図である。
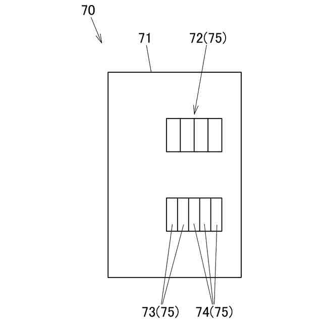
本発明の実施形態に係る光源装置の光出射装置を出射側から見た正面模式図である。
本発明の実施形態に係る光源装置のマイクロレンズアレイと光出射装置の位置関係を示し、光出射装置の出射側の反対側から見た模式図である。なお、マイクロレンズアレイにおける複数のマイクロレンズは、一部のみ示している。
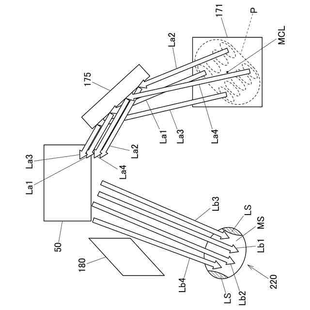
光出射装置からの光がマイクロレンズアレイ及び表示素子を介して投影光学系に入射する様子を示す模式図であって、光出射装置からの光がマイクロレンズアレイに対して偏らせないで照射した場合を示す。本図では、マイクロレンズアレイには、紙面の裏側から光が入射するように表されている。
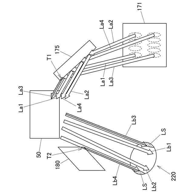
本発明の実施形態に係る光出射装置からの光がマイクロレンズアレイ及び表示素子を介して投影光学系に入射する様子を示す模式図であって、光出射装置からの光がマイクロレンズアレイに対して偏らせて照射した場合を示す。本図では、マイクロレンズアレイには、紙面の裏側から光が入射するように表されている。
本発明の実施形態の変形例に係る投影装置の要部の内部構造を示す平面模式図である。
本発明の他の実施形態に係る投影装置の要部の内部構造を側面から見た模式図である。
本発明の他の実施形態に係る投影装置の要部の内部構造に係る図8について、マイクロレンズアレイ、表示素子、プリズム及び投影光学系の位置関係を示し、光出射装置の出射側の反対側から見た模式図である。
【発明を実施するための形態】
【0010】
以下、図面を参照して本発明の実施形態について説明する。図1は、投影装置10の機能回路ブロック図である。投影装置制御部は、画像変換部23と制御部38とを含むCPU、入出力インターフェース22を含むフロントエンドユニット、表示エンコーダ24と表示駆動部26等から構成される。入出力コネクタ部21から入力された各種規格の画像信号は、入出力インターフェース22、システムバスSBを介して画像変換部23で表示に適した所定のフォーマットの画像信号に統一するように変換された後、表示エンコーダ24に出力される。
(【0011】以降は省略されています)
この特許をJ-PlatPat(特許庁公式サイト)で参照する
関連特許
カシオ計算機株式会社
支持台
3日前
カシオ計算機株式会社
減音器具
5日前
カシオ計算機株式会社
減音器具
5日前
カシオ計算機株式会社
電子鍵盤楽器
3日前
カシオ計算機株式会社
装飾板及び時計
4日前
カシオ計算機株式会社
光源装置及び投影装置
5日前
カシオ計算機株式会社
光源装置及び投影装置
5日前
カシオ計算機株式会社
光源装置及び投影装置
17日前
カシオ計算機株式会社
端末装置及びプログラム
5日前
カシオ計算機株式会社
外装部品ユニット及び時計
3日前
カシオ計算機株式会社
電子機器、及び表示制御方法
7日前
カシオ計算機株式会社
カッターユニット及び切断装置
3日前
カシオ計算機株式会社
制御装置、方法およびプログラム
7日前
カシオ計算機株式会社
補助バスマスタ回路及び電子機器
7日前
カシオ計算機株式会社
演奏装置、方法およびプログラム
5日前
カシオ計算機株式会社
制御装置、方法およびプログラム
7日前
カシオ計算機株式会社
演奏装置、方法およびプログラム
4日前
カシオ計算機株式会社
ロボット、及びロボットの製造方法
3日前
カシオ計算機株式会社
外装部品、外装部品ユニット及び時計
3日前
カシオ計算機株式会社
制御装置、制御方法、及びプログラム
4日前
カシオ計算機株式会社
情報処理装置、方法およびプログラム
3日前
カシオ計算機株式会社
プログラム、電子機器及び登録処理方法
3日前
カシオ計算機株式会社
電子機器、登録処理方法及びプログラム
3日前
カシオ計算機株式会社
情報処理装置、表示方法、及びプログラム
7日前
カシオ計算機株式会社
情報処理装置、プログラム及び情報処理方法
3日前
カシオ計算機株式会社
情報提供装置、情報提供方法及びプログラム
5日前
カシオ計算機株式会社
音声提供装置、音声提供方法及びプログラム
3日前
カシオ計算機株式会社
電子時計、電子時計の制御方法及びプログラム
7日前
カシオ計算機株式会社
電子機器、電子機器の制御方法及びプログラム
7日前
カシオ計算機株式会社
印刷装置、印刷装置の制御方法及びプログラム
3日前
カシオ計算機株式会社
電子楽器、電子楽器の制御方法及びプログラム
3日前
カシオ計算機株式会社
情報処理装置、表示制御方法、及びプログラム
3日前
カシオ計算機株式会社
投影装置、投影装置の調整方法及びプログラム
4日前
カシオ計算機株式会社
投影装置、投影装置の調整方法及びプログラム
4日前
カシオ計算機株式会社
情報処理装置、表示制御方法、及び、プログラム
5日前
カシオ計算機株式会社
情報処理装置、表示制御方法、及び、プログラム
3日前
続きを見る
他の特許を見る