TOP
|
特許
|
意匠
|
商標
特許ウォッチ
Twitter
他の特許を見る
10個以上の画像は省略されています。
公開番号
2025142325
公報種別
公開特許公報(A)
公開日
2025-09-30
出願番号
2025127310,2023047951
出願日
2025-07-30,2023-03-24
発明の名称
鍵盤楽器
出願人
カシオ計算機株式会社
代理人
弁理士法人コスモ国際特許事務所
主分類
G10B
3/12 20060101AFI20250919BHJP(楽器;音響)
要約
【課題】鍵盤部を楽器ケースに良好に組立て可能な小型の鍵盤楽器を提供する。
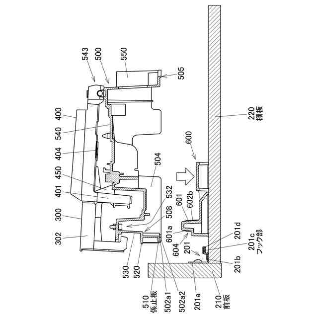
【解決手段】鍵盤楽器10は、前板210と、棚板220と、前板210と棚板220を互いに固定する接続部材であって、鍵の長手方向(前後方向FB)の後側Bに向けて突出するフック部201cを含む接続部材である前接続部材201と、を有する楽器ケース200と、係止部としての係止板510を有し、フック部201cと棚板220との間に係止板510が配置されている状態で、楽器ケース200に固定されている鍵盤部50と、を備える。
【選択図】図2
特許請求の範囲
【請求項1】
前板と、棚板と、前記前板と前記棚板を互いに固定する接続部材であって、鍵の長手方向の後側に向けて突出するフック部を含む接続部材と、を有する楽器ケースと、
係止部を有し、前記フック部と前記棚板との間に前記係止部が配置されている状態で、前記楽器ケースに固定されている鍵盤部と、
を備える鍵盤楽器。
続きを表示(約 630 文字)
【請求項2】
前記係止部は、鍵の配列方向に延在する係止板と、前記係止板より前記棚板側に突出して前記棚板と当接する当接突起と、を含む、
請求項1に記載の鍵盤楽器。
【請求項3】
前記鍵盤部は、前記係止部の上側に前記係止部と平行な板状の補強板と、前記補強板と前記係止部間を支持する柱状部と、を備える、
請求項1に記載の鍵盤楽器。
【請求項4】
前記フック部は、弾性部材を備え、
前記弾性部材が前記係止部と接触している、
請求項1に記載の鍵盤楽器。
【請求項5】
前記棚板に載置され、第1挿入部を含むマウント部材を備え、
前記第1挿入部は、前記鍵盤部が備える鍵盤シャーシの内部空間に挿入されている、
請求項1に記載の鍵盤楽器。
【請求項6】
前記第1挿入部は、テーパ状に設けられる、
請求項5に記載の鍵盤楽器。
【請求項7】
前記マウント部材は、ハンマー部材が載置されるハンマー部材支持部を有する、
請求項5に記載の鍵盤楽器。
【請求項8】
鍵の長手方向の後側で、前記鍵盤部と前記棚板を固定する固定部材であって、下向きに突出する第2挿入部を含む固定部材を有し、
前記鍵盤シャーシは、前記第2挿入部が挿入されている第2被挿入部を有する、
請求項5乃至請求項7の何れかに記載の鍵盤楽器。
発明の詳細な説明
【技術分野】
【0001】
本発明は、鍵盤楽器に関する。
続きを表示(約 2,100 文字)
【背景技術】
【0002】
従来から、楽器ケースの下面を備える棚板に、複数の鍵を備える鍵盤シャーシ等の鍵盤部が取り付けられた鍵盤楽器が提供されている。例えば、特許文献1には、楽器ケースと接続される連結バーが設けられた鍵盤シャーシを備える鍵盤楽器が開示されている。鍵盤シャーシの棚板に対する固定は、棚板の下面に取り付けられる補強用のリブを介して、棚板の下面側からねじ部材を取り付けることで行われている。
【先行技術文献】
【特許文献】
【0003】
特開2006-047837号公報
【発明の概要】
【発明が解決しようとする課題】
【0004】
棚板の下面側からねじ部材を組み付けるには、楽器ケースを反転させたり、楽器ケースの下側に潜り込んでねじ締め作業を行ったりする必要があり、組立作業がし難いことがある。一方、棚板に鍵盤シャーシを載置して上側からねじ部材を取り付けるように構成すると、そのためのスペースが必要となり、楽器ケース、ひいては鍵盤楽器が大型化してしまうことがある。
【0005】
本発明は、鍵盤部を楽器ケースに良好に組立て可能な小型の鍵盤楽器を提供することを目的とする。
【課題を解決するための手段】
【0006】
本発明に係る鍵盤楽器は、前板と、棚板と、前記前板と前記棚板を互いに固定する接続部材であって、鍵の長手方向の後側に向けて突出するフック部を含む接続部材と、を有する楽器ケースと、係止部を有し、前記フック部と前記棚板との間に前記係止部が配置されている状態で、前記楽器ケースに固定されている鍵盤部と、を有する。
【発明の効果】
【0007】
本発明によれば、鍵盤部を楽器ケースに良好に組立て可能な小型の鍵盤楽器を提供することができる。
【図面の簡単な説明】
【0008】
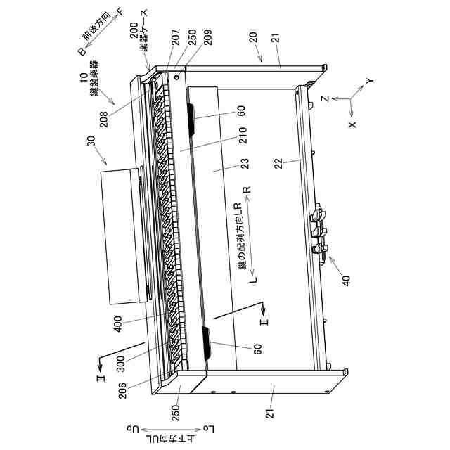
本発明の実施形態に係る鍵盤楽器を示す斜視図である。
本発明の実施形態に係る鍵盤楽器の図1のII-II断面図である。
本発明の実施形態に係る鍵盤楽器の前板と棚板を組み合わせた状態を後側から見た斜視図である。
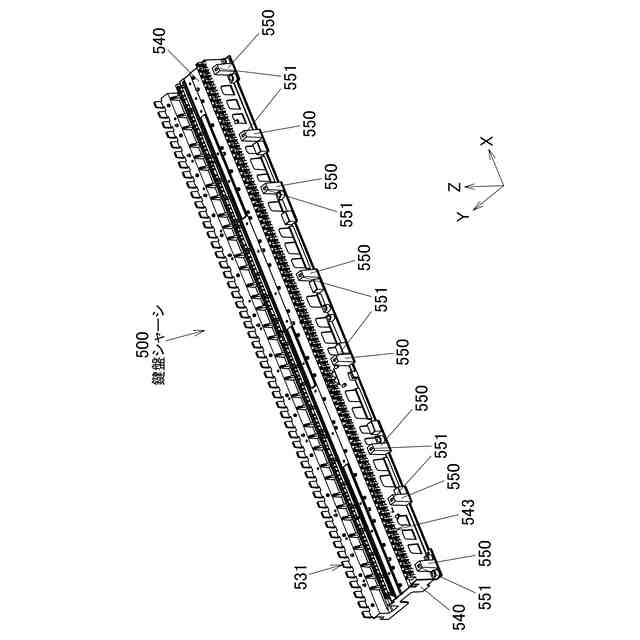
本発明の実施形態に係る鍵盤楽器の鍵盤シャーシを前側から見た斜視図である。
本発明の実施形態に係る鍵盤楽器の鍵盤シャーシを後側から見た斜視図である。
本発明の実施形態に係る鍵盤楽器のマウント部材を前上側から見た斜視図である。
本発明の実施形態に係る鍵盤楽器のマウント部材を後下側から見た斜視図である。
本発明の実施形態に係る鍵盤楽器の組立方法の説明図であって、前板が接続された棚板にマウント部材を載置した状態を示す平面図である。
本発明の実施形態に係る鍵盤楽器の組立方法の説明図であって、図8のマウント部材に複数の鍵を支持する鍵盤シャーシを嵌合させる様子を示す図8のIX-IX断面に相当する断面図である。なお、複数の鍵は断面とせず、基板やスイッチ等、一部の部材は省略されている。
本発明の実施形態に係る鍵盤楽器の組立方法の説明図であって、図8のマウント部材に複数の鍵を支持する鍵盤シャーシを載置して嵌合させた状態を示す平面図である。
本発明の実施形態に係る鍵盤楽器の組立方法の説明図であって、マウント部材に鍵盤シャーシを載置して嵌合させた状態を示す図10のXI-XI断面に相当する断面図である。なお、複数の鍵は断面とせず、基板やスイッチ等、一部の部材は省略されている。
本発明の実施形態に係る鍵盤楽器の組立方法の説明図であって、図11の状態から鍵盤部を前進させた状態を示す、図10のXI-XI断面に相当する断面図である。なお、複数の鍵は断面とせず、基板やスイッチ等、一部の部材は省略されている。
本発明の実施形態に係る鍵盤楽器の組立方法の説明図であって、鍵盤部を前側及び右側に移動して正規の位置とし、固定部材及び回転部材を取り付けた状態を示す平面図である。
本発明の実施形態に係る鍵盤楽器の回転部材を下側から見た斜視図である。
【発明を実施するための形態】
【0009】
以下、本発明の実施形態を図に基づいて説明する。図1に示すように、鍵盤楽器10は、楽器ケース200に、複数の白鍵300と複数の黒鍵400を含むフルサイズ(88鍵)の複数の鍵が設けられている。鍵盤楽器10は、楽器ケース200に着脱自在の譜面台30を有して、楽器スタンド20により支持されている。
【0010】
なお、以下の説明においては、複数の鍵(白鍵300、黒鍵400)の前後方向FBにおける前を前側F(y軸のプラス側)、鍵の前後方向FBの後を後側B(y軸のマイナス側)とし、鍵に向かって左を左側L(x軸のプラス側)、右を右側R(x軸のマイナス側)とする。鍵の配列方向LRは、左右方向である。また、鍵盤楽器10の上下方向ULにおいて上を上側Up(z軸のプラス側)、下を下側Lo(z軸のマイナス側)とする。
(【0011】以降は省略されています)
この特許をJ-PlatPat(特許庁公式サイト)で参照する
関連特許
カシオ計算機株式会社
支持台
5日前
カシオ計算機株式会社
電子鍵盤楽器
5日前
カシオ計算機株式会社
外装部品ユニット及び時計
5日前
カシオ計算機株式会社
カッターユニット及び切断装置
5日前
カシオ計算機株式会社
機器、制御方法およびプログラム
1日前
カシオ計算機株式会社
ロボット、及びロボットの製造方法
5日前
カシオ計算機株式会社
給電装置、及び、電力伝送システム
1日前
カシオ計算機株式会社
電子機器、及び、電力伝送システム
1日前
カシオ計算機株式会社
外装部品、外装部品ユニット及び時計
5日前
カシオ計算機株式会社
情報処理装置、方法およびプログラム
5日前
カシオ計算機株式会社
プログラム、電子機器及び登録処理方法
5日前
カシオ計算機株式会社
電子機器、登録処理方法及びプログラム
5日前
カシオ計算機株式会社
情報処理方法、プログラム及び情報処理装置
1日前
カシオ計算機株式会社
活動支援方法、プログラム及び活動支援装置
1日前
カシオ計算機株式会社
情報出力方法、情報出力装置及びプログラム
1日前
カシオ計算機株式会社
音声提供装置、音声提供方法及びプログラム
5日前
カシオ計算機株式会社
情報処理装置、プログラム及び情報処理方法
5日前
カシオ計算機株式会社
情報処理装置、表示制御方法、及びプログラム
5日前
カシオ計算機株式会社
印刷装置、印刷装置の制御方法及びプログラム
5日前
カシオ計算機株式会社
電子楽器、電子楽器の制御方法及びプログラム
5日前
カシオ計算機株式会社
機器の制御装置、機器の制御方法及びプログラム
5日前
カシオ計算機株式会社
画像処理装置、プログラム、及び、画像処理方法
5日前
カシオ計算機株式会社
入力文作成装置、入力文作成方法及びプログラム
5日前
カシオ計算機株式会社
情報処理装置、表示制御方法、及び、プログラム
5日前
カシオ計算機株式会社
位置測定システム、位置測定方法及びプログラム
1日前
カシオ計算機株式会社
通信方法、通信システム、電子機器及びプログラム
5日前
カシオ計算機株式会社
電子機器、心理的状態変動評価方法及びプログラム
5日前
カシオ計算機株式会社
電子機器、認証システム、制御方法及びプログラム
5日前
カシオ計算機株式会社
情報処理装置、制御データ作成方法、及びプログラム
1日前
カシオ計算機株式会社
表示制御プログラム、表示制御方法、及び、情報処理装置
5日前
カシオ計算機株式会社
端末装置、運動評価システム、運動評価方法及びプログラム
5日前
カシオ計算機株式会社
制御装置、投影システム、作業ガイド作成方法及びプログラム
5日前
カシオ計算機株式会社
情報処理装置、情報処理方法、プログラム及び学習支援システム
5日前
カシオ計算機株式会社
情報処理装置、情報処理方法、プログラム及び学習支援システム
5日前
カシオ計算機株式会社
情報処理装置、情報処理方法、プログラム及び学習支援システム
5日前
カシオ計算機株式会社
ロボット制御装置、ロボット、ロボットの制御方法及びプログラム
5日前
続きを見る
他の特許を見る