TOP
|
特許
|
意匠
|
商標
特許ウォッチ
Twitter
他の特許を見る
公開番号
2025137316
公報種別
公開特許公報(A)
公開日
2025-09-19
出願番号
2024059294
出願日
2024-04-02
発明の名称
光源装置及び投影装置
出願人
カシオ計算機株式会社
代理人
弁理士法人コスモ国際特許事務所
主分類
G03B
21/14 20060101AFI20250911BHJP(写真;映画;光波以外の波を使用する類似技術;電子写真;ホログラフイ)
要約
【課題】装置の小型化を図ることができる光源装置と、この光源装置を備える投影装置を提供する。
【解決手段】光源装置60は、レーザダイオード71と、マイクロレンズアレイ102及び反射ミラー104を有し、かつマイクロレンズアレイ102の反射ミラー104側とは反対側から入射される光を反射ミラー104でマイクロレンズアレイ102側に反射する反射MLA100と、レーザダイオード71から入射される光を反射MLA100に向けて反射又は透過し、反射MLA100から入射される光を反射又は透過する光学部材80と、を備え、反射MLA100は、反射ミラー104で反射される光が光学部材80に向かうように配置されている。
【選択図】図4
特許請求の範囲
【請求項1】
光源と、
マイクロレンズアレイ及び反射ミラーを有し、かつ前記マイクロレンズアレイの前記反射ミラー側とは反対側から入射される光を前記反射ミラーで前記マイクロレンズアレイ側に反射する反射レンズ部材と、
前記光源から入射される光を前記反射レンズ部材に向けて導光し、前記反射レンズ部材から入射される光を反射又は透過する光学部材と、を備え、
前記反射レンズ部材は、前記反射ミラーで反射される光が前記光学部材に向かうように配置されている、
光源装置。
続きを表示(約 1,000 文字)
【請求項2】
前記反射レンズ部材は、前記光学部材から前記反射レンズ部材に向かう光の光路と前記反射レンズ部材に反射されて前記光学部材に向かう光の光路とが重なるように配置されている、
請求項1に記載の光源装置。
【請求項3】
前記光学部材と前記反射レンズ部材との間の光路上に凸レンズ部材が設けられている、
請求項2に記載の光源装置。
【請求項4】
前記光学部材は、入射される光の偏光方向に応じて入射される光を反射又は透過する偏光ビームスプリッタと、該偏光ビームスプリッタと前記反射レンズ部材との間の光路上に設けられる1/4波長板と、を含む、
請求項1に記載の光源装置。
【請求項5】
前記光源からの光は、集光レンズを介さずに前記偏光ビームスプリッタに入射される、
請求項4に記載の光源装置。
【請求項6】
前記偏光ビームスプリッタと前記1/4波長板との間における光路上に集光レンズが設けられている、
請求項5に記載の光源装置。
【請求項7】
前記光学部材は、入射される光の入射角に応じて入射される光を反射又は透過する第1のプリズム部材を含む、
請求項1に記載の光源装置。
【請求項8】
前記反射レンズ部材は、前記反射ミラーが前記マイクロレンズアレイから該マイクロレンズアレイの焦点距離の1/2の距離だけ離れた位置に設けられている、
請求項1に記載の光源装置。
【請求項9】
請求項1~8のいずれか1項に記載の光源装置と、
画像光を生成する表示素子と、
前記表示素子から出射された前記画像光を被投影体に投影する投影光学系と、
前記光源装置と前記表示素子とを制御する制御部と、を備え、
前記光学部材は、前記反射レンズ部材から入射される光を前記表示素子に向けて反射又は透過する、
投影装置。
【請求項10】
入射される光の入射角に応じて入射される光を反射又は透過する第2のプリズム部材を備え、
前記光学部材の少なくとも一部は、前記第2のプリズムと一体化されており、
前記第2のプリズム部材は、前記光学部材を経由した光を前記表示素子に向けて導光するように配置されている、
請求項9に記載の投影装置。
発明の詳細な説明
【技術分野】
【0001】
本発明は、光源装置及び投影装置に関する。
続きを表示(約 1,600 文字)
【背景技術】
【0002】
従来から、光源から表示素子に向けて照射される光の光路上にマイクロレンズアレイを設けることで、表示素子に向けて照射される光を均一化するようにした投影装置が知られている。例えば特許文献1には、光源装置と、照明光学系と、画像形成素子と、投射光学系とを有するプロジェクタが開示されている。このプロジェクタは、レーザ光源から出射された光が、マイクロレンズからなる光学素子を通過するように構成されている。
【先行技術文献】
【特許文献】
【0003】
特開2023-51736号公報
【発明の概要】
【発明が解決しようとする課題】
【0004】
しかしながら、上記特許文献1のように光源から出射される光の光路上にマイクロレンズアレイが設けられた投影装置では、マイクロレンズアレイに入射される光の照射領域を調整するために光源からマイクロレンズアレイに至るまでの光路が長くなり易く、さらにマイクロレンズアレイから表示素子に向けて出射される光を束ねるためにマイクロレンズアレイから表示素子に至るまでの光路が長くなり易い。そのため、装置の小型化を図ることが困難であった。
【0005】
本発明は、以上の点に鑑み、装置の小型化を図ることができる光源装置と、この光源装置を備える投影装置を提供することを目的とする。
【課題を解決するための手段】
【0006】
本発明の光源装置は、光源と、マイクロレンズアレイ及び反射ミラーを有し、かつ前記マイクロレンズアレイの前記反射ミラー側とは反対側から入射される光を前記反射ミラーで前記マイクロレンズアレイ側に反射する反射レンズ部材と、前記光源から入射される光を前記反射レンズ部材に向けて導光し、前記反射レンズ部材から入射される光を反射又は透過する光学部材と、を備え、前記反射レンズ部材は、前記反射ミラーで反射される光が前記光学部材に向かうように配置されている。
【0007】
本発明の投影装置は、上記の光源装置と、画像光を生成する表示素子と、前記表示素子から出射された前記画像光を被投影体に投影する投影光学系と、前記光源装置と前記表示素子とを制御する制御部と、を備え、前記光学部材は、前記反射レンズ部材から入射される光を前記表示素子に向けて反射又は透過する。
【発明の効果】
【0008】
本発明によれば、装置の小型化を図ることができる光源装置と、この光源装置を備える投影装置を提供することができる。
【図面の簡単な説明】
【0009】
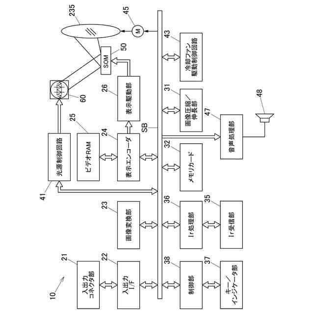
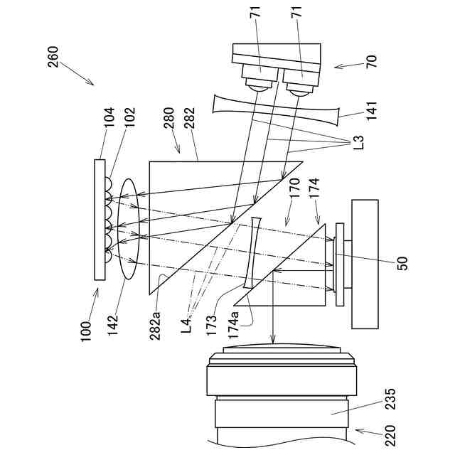
第1実施形態に係る投影装置の機能回路ブロックを示す図である。
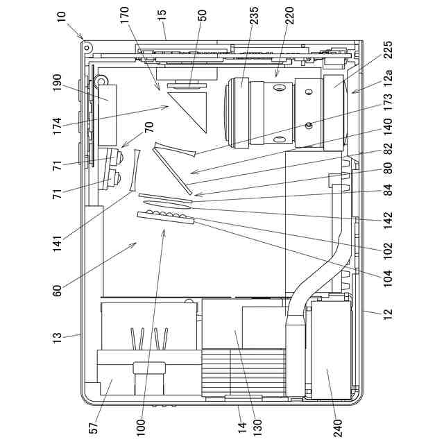
第1実施形態に係る投影装置の内部構造を示す平面模式図である。
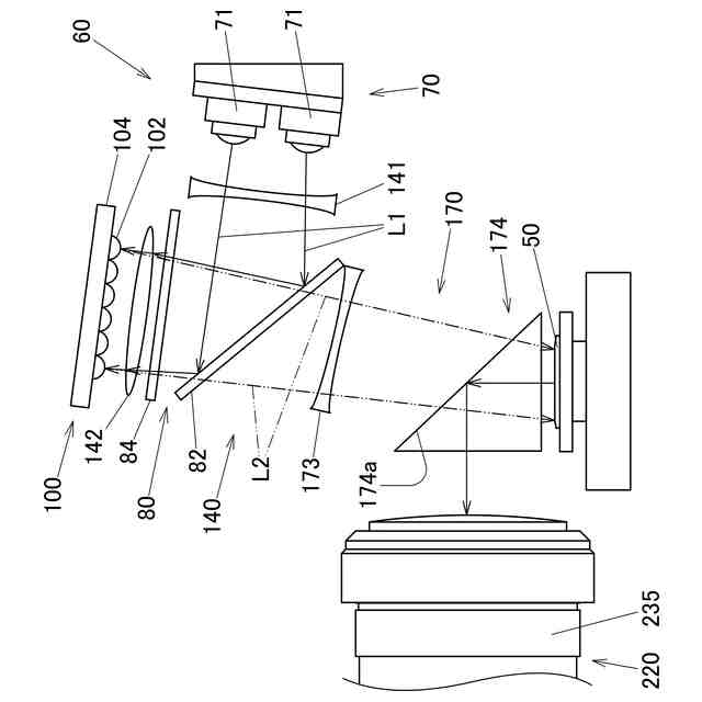
第1実施形態に係る投影装置の光源装置における光の出入射の態様を示す平面模式図である。
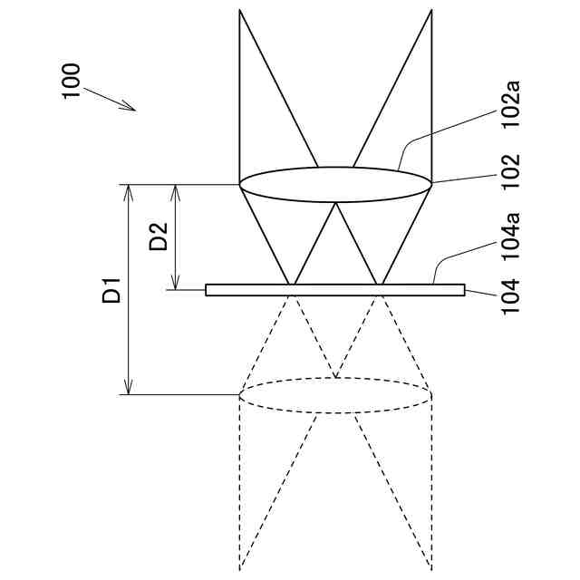
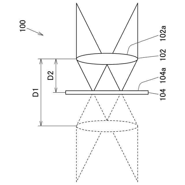
第1実施形態に係る投影装置の反射MLAの概略構成を示す模式図である。
第2実施形態に係る投影装置の光源装置における光の出入射の態様を示す平面模式図である。
第3実施形態に係る投影装置の光源装置における光の出入射の態様を示す平面模式図である。
【発明を実施するための形態】
【0010】
以下、図1~図4を参照して本発明の第1実施形態について説明する。図1は、投影装置10の機能回路ブロック図である。投影装置制御部は、画像変換部23と制御部38とを含むCPU、入出力インターフェース22を含むフロントエンドユニット、表示エンコーダ24と表示駆動部26等から構成される。入出力コネクタ部21から入力された各種規格の画像信号は、入出力インターフェース22、システムバスSBを介して画像変換部23で表示に適した所定のフォーマットの画像信号に統一するように変換された後、表示エンコーダ24に出力される。
(【0011】以降は省略されています)
この特許をJ-PlatPat(特許庁公式サイト)で参照する
関連特許
カシオ計算機株式会社
減音器具
1日前
カシオ計算機株式会社
印刷装置
1か月前
カシオ計算機株式会社
減音器具
1日前
カシオ計算機株式会社
装飾板及び時計
今日
カシオ計算機株式会社
機器ケース及び時計
23日前
カシオ計算機株式会社
光源装置及び投影装置
13日前
カシオ計算機株式会社
取付構造及び印刷装置
22日前
カシオ計算機株式会社
光源装置及び投影装置
1日前
カシオ計算機株式会社
光源装置及び投影装置
1日前
カシオ計算機株式会社
光源装置及び投影装置
13日前
カシオ計算機株式会社
端末装置及びプログラム
1日前
カシオ計算機株式会社
電子時計及び電子時計本体
14日前
カシオ計算機株式会社
電子機器、及び表示制御方法
3日前
カシオ計算機株式会社
電子時計、外装部材及びバンド
14日前
カシオ計算機株式会社
発音装置及び音出力制御システム
13日前
カシオ計算機株式会社
補助バスマスタ回路及び電子機器
3日前
カシオ計算機株式会社
演奏装置、方法およびプログラム
1か月前
カシオ計算機株式会社
演奏装置、方法およびプログラム
1日前
カシオ計算機株式会社
制御装置、方法およびプログラム
3日前
カシオ計算機株式会社
演奏装置、方法およびプログラム
今日
カシオ計算機株式会社
指針、時計、及び指針の製造方法
1か月前
カシオ計算機株式会社
保護ケース及び携帯端末ユニット
1か月前
カシオ計算機株式会社
制御装置、方法およびプログラム
3日前
カシオ計算機株式会社
時計、表示制御方法及びプログラム
14日前
カシオ計算機株式会社
制御装置、制御方法、及びプログラム
今日
カシオ計算機株式会社
発音装置、接続装置及び音出力システム
13日前
カシオ計算機株式会社
テープ製造方法及びテープ製造システム
21日前
カシオ計算機株式会社
情報処理装置、表示方法、及びプログラム
3日前
カシオ計算機株式会社
位置推定装置、位置推定方法、プログラム
21日前
カシオ計算機株式会社
電子時計、針位置検出方法及びプログラム
22日前
カシオ計算機株式会社
カット制御方法、カット装置及びプログラム
1か月前
カシオ計算機株式会社
学習支援装置、学習支援方法及びプログラム
1か月前
カシオ計算機株式会社
情報提供装置、情報提供方法及びプログラム
1日前
カシオ計算機株式会社
切断制御装置、切断制御方法及びプログラム
13日前
カシオ計算機株式会社
カット装置、カット制御方法及びプログラム
1か月前
カシオ計算機株式会社
情報処理装置、学習支援方法及びプログラム
27日前
続きを見る
他の特許を見る