TOP
|
特許
|
意匠
|
商標
特許ウォッチ
Twitter
他の特許を見る
公開番号
2025136784
公報種別
公開特許公報(A)
公開日
2025-09-19
出願番号
2024035631
出願日
2024-03-08
発明の名称
発音装置、接続装置及び音出力システム
出願人
カシオ計算機株式会社
代理人
弁理士法人光陽国際特許事務所
主分類
H04R
25/00 20060101AFI20250911BHJP(電気通信技術)
要約
【課題】聴力に係る検査精度の低下を低減できる発音装置、接続装置及び音出力システムを提供する。
【解決手段】第1の発音装置(10)は、開放型の第1出力部(11)と、設定データを取得する取得部としての通信部(16)と、取得された設定データに基づいて音データを生成する信号処理部(18)と、密閉型の第2出力部(31)を備える第2の発音装置(30)に接続可能な接続装置(20)と接続可能であり、第2の発音装置(30)に接続された接続装置(20)が第2出力部(31)へ出力するための音データを接続装置(20)に出力する接続端子(13)と、を備える。
【選択図】図3
特許請求の範囲
【請求項1】
開放型の第1出力部と、
設定データを取得する取得部と、
取得された前記設定データに基づいて音データを生成する信号処理部と、
密閉型の第2出力部を備える外部発音装置に接続可能な接続装置と接続可能であり、前記外部発音装置に接続された前記接続装置が前記第2出力部へ出力するための前記音データを前記接続装置に出力する第1接続部と、
を備える、発音装置。
続きを表示(約 910 文字)
【請求項2】
前記信号処理部は、前記音データを前記第1出力部へ出力するか、前記第1接続部へ出力するかを切り替える切替部を備える、請求項1記載の発音装置。
【請求項3】
前記取得部は、通信部を備え、
前記設定データは、前記通信部を介して外部から取得される、
請求項1記載の発音装置。
【請求項4】
開放型の第1出力部及び第1接続部を備える第1の発音装置における前記第1接続部を介して取得される音データを、密閉型の第2出力部を備える第2の発音装置へ出力可能に前記第2の発音装置と接続可能な第2接続部を備える、接続装置。
【請求項5】
前記第1の発音装置を収容する収容部と、
前記第1の発音装置が備える二次電池の充電電力を供給する電力供給部と、
を備え、
前記第1の発音装置が前記収容部に収容されている場合に、前記電力供給部は、前記二次電池を充電可能である、
請求項4記載の接続装置。
【請求項6】
前記第1接続部に自機が接続しており、かつ前記第2接続部が前記第2の発音装置と接続している場合に、前記第1接続部へ前記音データを出力させるための情報を前記第1の発音装置に対して出力する伝達部を備える、
請求項4記載の接続装置。
【請求項7】
開放型の第1出力部を有する第1の発音装置と、前記第1の発音装置と接続可能な接続装置と、前記接続装置と接続可能な密閉型の第2出力部を有する第2の発音装置と、を含み、
前記第1の発音装置は、
設定データを取得する取得部と、
取得された前記設定データに基づいて音データを生成する信号処理部と、
前記接続装置に接続可能であり、生成された前記音データを前記接続装置へ出力するための第1接続部と、
を備え、
前記接続装置は、
前記第2の発音装置に接続可能であり、前記第1接続部を介して取得される前記音データを前記第2の発音装置へ出力するための第2接続部を備える、
音出力システム。
発明の詳細な説明
【技術分野】
【0001】
この発明は、発音装置、接続装置及び音出力システムに関する。
続きを表示(約 1,300 文字)
【背景技術】
【0002】
聴力の低下したユーザに対して周囲の音を増幅して出力する補聴器として用いられる発音装置がある。補聴器は、長時間継続して利用されることも多いので、装着違和感の低減と耳孔内衛生環境の維持などを考慮して、耳孔を塞がない開放型の発音装置も使用されている。
【0003】
発音装置は、個々のユーザの聴力に応じて適切に増幅率が調整されることで、より快適に利用される。調整作業は、通常専門店などで専門のスタッフにより行われる。このように専門店を訪れる手間を省略するために、特許文献1では、携帯電話器を介して検査センターにアクセスして聴力検査を行う技術が開示されている。
【先行技術文献】
【特許文献】
【0004】
特開2003-319497号公報
【発明の概要】
【発明が解決しようとする課題】
【0005】
しかしながら、開放型の発音装置では、当該発音装置を介さずに直接外部の音が耳に入る。したがって、一般的な家庭環境では、調整時に周囲のノイズを完全に遮断するのが難しく、検査結果の精度が低下しやすい。
【0006】
この発明の目的は、聴力に係る検査精度の低下を低減できる発音装置、接続装置及び音出力システムを提供することにある。
【課題を解決するための手段】
【0007】
上記目的を達成するため、本発明は、
開放型の第1出力部と、
設定データを取得する取得部と、
取得された前記設定データに基づいて音データを生成する信号処理部と、
密閉型の第2出力部を備える外部発音装置に接続可能な接続装置と接続可能であり、前記外部発音装置に接続された前記接続装置が前記第2出力部へ出力するための前記音データを前記接続装置に出力する第1接続部と、
を備える、発音装置である。
【発明の効果】
【0008】
本発明に従うと、聴力に係る検査精度の低下を低減することができるという効果がある。
【図面の簡単な説明】
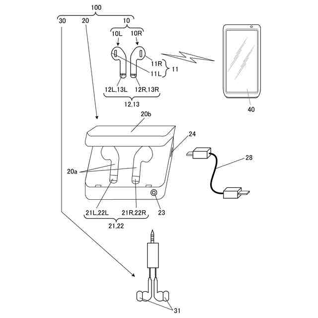
【0009】
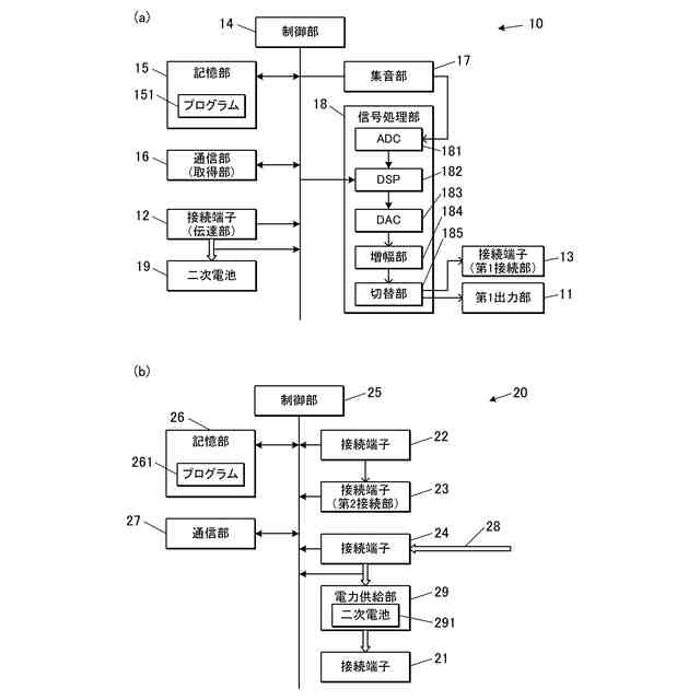
本実施形態の音出力システムの構成を説明する図である。
第1の発音装置及び接続装置の機能構成を示すブロック図である。
音の出力、通信及び充電について説明する図である。
検査時における接続装置、第1の発音装置及び電子機器の間での信号のやり取り及び動作を説明するシーケンス図である。
接続装置における出力制御処理の制御手順を示すフローチャートである。
第1の発音装置における出力先制御処理の制御手順を示すフローチャートである。
【発明を実施するための形態】
【0010】
以下、本発明の実施の形態を図面に基づいて説明する。本開示において、発音装置を便宜的に補聴器と表現するが、発音装置は、補聴器以外の集音器など、他のイヤーデバイスであってもよい。
図1は、本実施形態の音出力システム100の構成を説明する図である。
音出力システム100は、第1の発音装置10(発音装置)と、接続装置20と、第2の発音装置30とを含む。
(【0011】以降は省略されています)
この特許をJ-PlatPat(特許庁公式サイト)で参照する
関連特許
カシオ計算機株式会社
減音器具
1日前
カシオ計算機株式会社
減音器具
1日前
カシオ計算機株式会社
装飾板及び時計
今日
カシオ計算機株式会社
光源装置及び投影装置
13日前
カシオ計算機株式会社
光源装置及び投影装置
13日前
カシオ計算機株式会社
光源装置及び投影装置
1日前
カシオ計算機株式会社
光源装置及び投影装置
1日前
カシオ計算機株式会社
端末装置及びプログラム
1日前
カシオ計算機株式会社
電子機器、及び表示制御方法
3日前
カシオ計算機株式会社
発音装置及び音出力制御システム
13日前
カシオ計算機株式会社
制御装置、方法およびプログラム
3日前
カシオ計算機株式会社
制御装置、方法およびプログラム
3日前
カシオ計算機株式会社
演奏装置、方法およびプログラム
1日前
カシオ計算機株式会社
補助バスマスタ回路及び電子機器
3日前
カシオ計算機株式会社
演奏装置、方法およびプログラム
今日
カシオ計算機株式会社
制御装置、制御方法、及びプログラム
今日
カシオ計算機株式会社
発音装置、接続装置及び音出力システム
13日前
カシオ計算機株式会社
情報処理装置、表示方法、及びプログラム
3日前
カシオ計算機株式会社
切断制御装置、切断制御方法及びプログラム
13日前
カシオ計算機株式会社
情報提供装置、情報提供方法及びプログラム
1日前
カシオ計算機株式会社
投影装置、投影装置の調整方法及びプログラム
今日
カシオ計算機株式会社
電子時計、電子時計の制御方法及びプログラム
3日前
カシオ計算機株式会社
投影装置、投影装置の調整方法及びプログラム
今日
カシオ計算機株式会社
学習支援装置、学習支援方法およびプログラム
13日前
カシオ計算機株式会社
電子機器、電子機器の制御方法及びプログラム
3日前
カシオ計算機株式会社
情報処理装置、表示制御方法、及び、プログラム
1日前
カシオ計算機株式会社
情報処理装置、電子楽器、方法およびプログラム
今日
カシオ計算機株式会社
情報処理装置、電子楽器、発音制御方法及びプログラム
3日前
カシオ計算機株式会社
キャリブレーション装置、及びキャリブレーション方法
3日前
カシオ計算機株式会社
鍵盤楽器
2日前
カシオ計算機株式会社
情報処理装置、情報処理システム、情報処理方法及びプログラム
3日前
カシオ計算機株式会社
投影制御装置、投影制御システム、投影制御方法及びプログラム
今日
カシオ計算機株式会社
電子機器、電子機器の動作制御方法、プログラム及び情報処理システム
3日前
カシオ計算機株式会社
鍵盤楽器の製造方法及び鍵盤楽器
2日前
カシオ計算機株式会社
印刷データ圧縮方法、印刷データ転送方法、印刷データ圧縮装置、及び、プログラム
7日前
カシオ計算機株式会社
教師データ生成装置、学習装置、及び、領域検出装置、プログラム、教師データの生成方法、領域推定器の学習方法、領域検出方法
1日前
続きを見る
他の特許を見る