TOP
|
特許
|
意匠
|
商標
特許ウォッチ
Twitter
他の特許を見る
10個以上の画像は省略されています。
公開番号
2025136840
公報種別
公開特許公報(A)
公開日
2025-09-19
出願番号
2024035726
出願日
2024-03-08
発明の名称
切断制御装置、切断制御方法及びプログラム
出願人
カシオ計算機株式会社
代理人
弁理士法人光陽国際特許事務所
主分類
B26D
5/00 20060101AFI20250911BHJP(切断手工具;切断;切断機)
要約
【課題】エラー状態が発生しやすいカット困難箇所を予め判断する。
【解決手段】切断制御装置である端末装置50が、画像データに基づいて、複数のカットラインCLで構成された被切断媒体である紙60のカットデータを生成する生成手段、カットデータに基づいて、複数のカットラインCLのうち、切断方向Dに交差する方向に並んで設けられるカットラインCLを特定する特定手段、少なくとも特定手段で特定されたカットラインCL間の距離に基づいて、カット困難箇所pcを判断する判断手段として機能するCPU51を備えている。
【選択図】図8
特許請求の範囲
【請求項1】
画像データに基づいて、複数のカットラインで構成された被切断媒体のカットデータを生成する生成手段と、
前記カットデータに基づいて、前記複数のカットラインのうち、切断方向に交差する方向に並んで設けられるカットラインを特定する特定手段と、
少なくとも前記特定手段で特定された前記カットライン間の距離に基づいて、カット困難箇所を判断する判断手段と、
を備えることを特徴とする切断制御装置。
続きを表示(約 1,400 文字)
【請求項2】
前記特定手段は、一のカットラインを仮想的なドットで表現した場合に、前記一のカットライン上のドットからの距離が所定の閾値未満となるような箇所を有する他のカットラインがある場合、前記一のカットラインと前記他のカットラインとはカット困難箇所を構成すると判断する、
ことを特徴とする請求項1に記載の切断制御装置。
【請求項3】
前記判断手段は、前記カットライン間の距離に加えて、前記被切断媒体の種別、前記被切断媒体を切断する切断刃の状態を考慮して、前記カット困難箇所を判断する、
ことを特徴とする請求項1に記載の切断制御装置。
【請求項4】
前記カット困難箇所を報知手段によってユーザに報知させる報知制御手段を備える、
ことを特徴とする請求項1に記載の切断制御装置。
【請求項5】
複数のカットラインで構成されたカットデータに基づいて、被切断媒体をカットする場合のカット困難箇所を判断する判断手段と、
判断された前記カット困難箇所を、前記カット困難箇所以外の部分と識別可能に表示部に表示させる表示制御手段と、
前記表示されたカット困難箇所に関する対応を、ユーザの操作に応じて選択する選択手段と、
を備えることを特徴する切断制御装置。
【請求項6】
前記選択手段は、前記カットラインを自動的に修正するか、ユーザによる手動での修正を受付けるか、をユーザの操作に応じて選択する、
ことを特徴する請求項5に記載の切断制御装置。
【請求項7】
前記カットラインが修正された場合に、前記表示制御手段は、修正後の前記カットラインを修正前の前記カットラインと対比可能に前記表示部に表示させる、
ことを特徴する請求項5に記載の切断制御装置。
【請求項8】
画像データに基づいて、複数のカットラインで構成された被切断媒体のカットデータを生成し、
生成された前記カットデータに基づいて、前記複数のカットラインのうち、切断方向に交差する方向に並んで設けられるカットラインを特定し、
少なくとも特定された前記カットライン間の距離に基づいて、カット困難箇所を判断する、
ことを特徴とする切断制御方法。
【請求項9】
カットデータに基づいて、被切断媒体においてカット困難箇所を判断し、
判断された前記カット困難箇所を、前記カット困難箇所以外の部分と識別可能に表示部に表示させ、
前記表示されたカット困難箇所に関する対応を、ユーザの操作に応じて選択する、
ことを特徴する切断制御方法。
【請求項10】
切断制御装置のコンピュータを、
画像データに基づいて、複数のカットラインで構成された被切断媒体のカットデータを生成する生成手段、
生成された前記カットデータに基づいて、前記複数のカットラインのうち、切断方向に交差する方向に並んで設けられるカットラインを特定する特定手段、
少なくとも特定された前記カットライン間の距離に基づいて、カット困難箇所を判断する判断手段、
として機能させることを特徴とするプログラム。
(【請求項11】以降は省略されています)
発明の詳細な説明
【技術分野】
【0001】
本発明は、切断制御装置、切断制御方法及びプログラムに関する。
続きを表示(約 1,900 文字)
【背景技術】
【0002】
従来、切断対象である被切断媒体について画像などのカットデータに基づいた形状に切断する切断装置が知られている。例えば特許文献1には、画像が記録された画像シートを裁断するカット部と、裁断についてのエラーを検出するカットエラー検出部等を備える記録装置が記載されている。
【先行技術文献】
【特許文献】
【0003】
特許第5630174号公報
【発明の概要】
【発明が解決しようとする課題】
【0004】
しかしながら、特許文献1に記載の装置は、紙ジャムの発生等によりカッターキャリッジが異常停止した際にカッターエラー検出部がこれを検出してカッターエラー通知をするものであり、カット困難箇所を予め判断することができない。
【0005】
本発明はこうした課題を解決するためのものであり、エラー状態が発生しやすいカット困難箇所を予め判断することのできる切断制御装置、切断制御方法及びプログラムを提供する。
【課題を解決するための手段】
【0006】
前記課題を解決するために、本発明に係る切断制御装置は、
画像データに基づいて、複数のカットラインで構成された被切断媒体のカットデータを生成する生成手段と、
前記カットデータに基づいて、前記複数のカットラインのうち、切断方向に交差する方向に並んで設けられるカットラインを特定する特定手段と、
少なくとも前記特定手段で特定された前記カットライン間の距離に基づいて、カット困難箇所を判断する判断手段と、
を備えることを特徴とする。
【0007】
本発明の別の側面に係る切断制御装置は、
複数のカットラインで構成されたカットデータに基づいて、被切断媒体をカットする場合のカット困難箇所を判断する判断手段と、
判断された前記カット困難箇所を、前記カット困難箇所以外の部分と識別可能に表示部に表示させる表示制御手段と、
前記表示されたカット困難箇所に関する対応を、ユーザの操作に応じて選択する選択手段と、
を備えることを特徴する。
【発明の効果】
【0008】
本発明によれば、エラー状態が発生しやすいカット困難箇所を予め判断することができる。
【図面の簡単な説明】
【0009】
本発明の実施の形態の切断システムを示すブロック図である。
切断装置の機能構成を示すブロック図である。
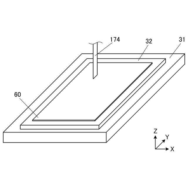
紙が貼り付けられた台紙が載置された載置台を示す斜視図である。
端末装置の機能構成を示すブロック図である。
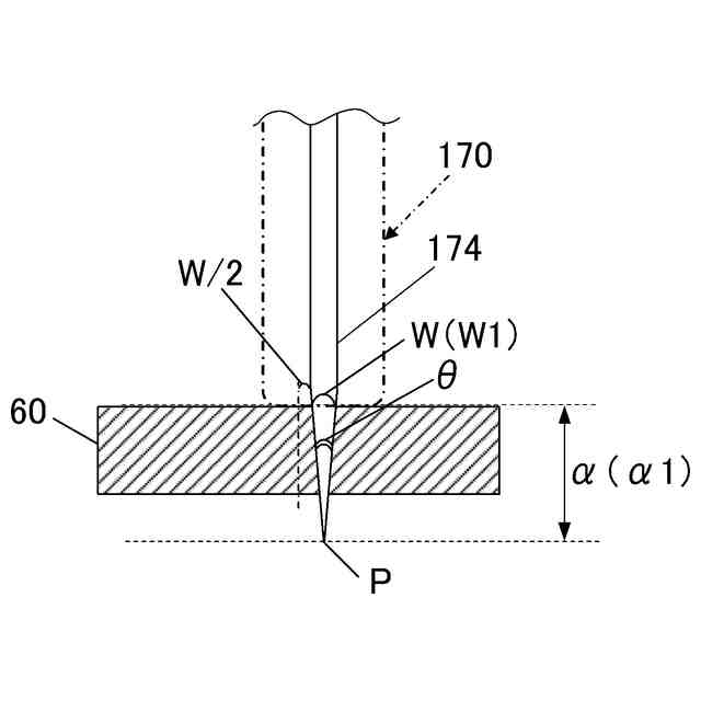
切断時の被切断媒体である紙とカッター刃との位置関係を示す図である。
切断時の被切断媒体である紙とカッター刃との位置関係を示す図であり、図5における矢視VI方向からカッター刃を見た図である。
図6と同じ方向からカッター刃を見た場合であって、図6よりも刃出し量が少ない場合の一例を示す図である。
(a)は、コ字状に切断する場合のカットライン例を示す模式図であり、(b)は、鋸歯状に切断する場合のカットライン例を示す模式図である。
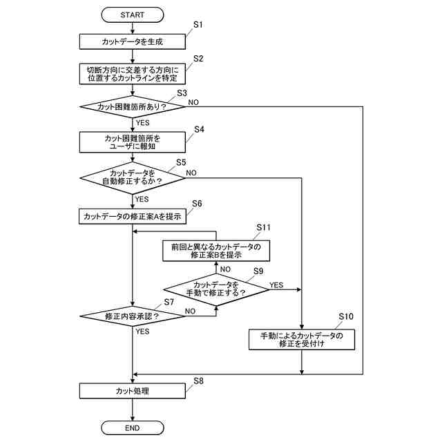
実施形態における切断制御方法を示すフローチャートである。
表示部に表示される報知画面例を示す図である。
表示部に表示される対応問合せ画面例を示す図である。
表示部に表示される修正案提示画面例を示す図である。
表示部に表示される手動修正受付画面例を示す図である。
カット困難箇所を示す一表示例を示す図である。
カット困難箇所を示す一表示例を示す図である。
カット困難箇所を示す一表示例を示す図である。
【発明を実施するための形態】
【0010】
図1から図16を参照しつつ、本発明に係る切断制御装置、切断制御方法及びプログラムの一実施形態について説明する。以下の実施形態では、切断装置10と連携する端末装置50が切断制御装置として機能し、切断装置10と端末装置50とにより切断システム1が構成されている場合を例示する(図1参照)。なお、以下に述べる実施形態には、本発明を実施するために技術的に好ましい種々の限定が付されているが、本発明の範囲を以下の実施形態及び図示例に限定するものではない。
(【0011】以降は省略されています)
この特許をJ-PlatPat(特許庁公式サイト)で参照する
関連特許
カシオ計算機株式会社
減音器具
1日前
カシオ計算機株式会社
印刷装置
1か月前
カシオ計算機株式会社
減音器具
1日前
カシオ計算機株式会社
装飾板及び時計
今日
カシオ計算機株式会社
機器ケース及び時計
23日前
カシオ計算機株式会社
光源装置及び投影装置
13日前
カシオ計算機株式会社
取付構造及び印刷装置
22日前
カシオ計算機株式会社
光源装置及び投影装置
1日前
カシオ計算機株式会社
光源装置及び投影装置
1日前
カシオ計算機株式会社
光源装置及び投影装置
13日前
カシオ計算機株式会社
端末装置及びプログラム
1日前
カシオ計算機株式会社
電子時計及び電子時計本体
14日前
カシオ計算機株式会社
電子機器、及び表示制御方法
3日前
カシオ計算機株式会社
電子時計、外装部材及びバンド
14日前
カシオ計算機株式会社
指針、時計、及び指針の製造方法
1か月前
カシオ計算機株式会社
制御装置、方法およびプログラム
3日前
カシオ計算機株式会社
演奏装置、方法およびプログラム
今日
カシオ計算機株式会社
保護ケース及び携帯端末ユニット
1か月前
カシオ計算機株式会社
演奏装置、方法およびプログラム
1日前
カシオ計算機株式会社
補助バスマスタ回路及び電子機器
3日前
カシオ計算機株式会社
発音装置及び音出力制御システム
13日前
カシオ計算機株式会社
演奏装置、方法およびプログラム
1か月前
カシオ計算機株式会社
制御装置、方法およびプログラム
3日前
カシオ計算機株式会社
時計、表示制御方法及びプログラム
14日前
カシオ計算機株式会社
制御装置、制御方法、及びプログラム
今日
カシオ計算機株式会社
発音装置、接続装置及び音出力システム
13日前
カシオ計算機株式会社
テープ製造方法及びテープ製造システム
21日前
カシオ計算機株式会社
位置推定装置、位置推定方法、プログラム
21日前
カシオ計算機株式会社
情報処理装置、表示方法、及びプログラム
3日前
カシオ計算機株式会社
電子時計、針位置検出方法及びプログラム
22日前
カシオ計算機株式会社
情報提供装置、情報提供方法及びプログラム
1日前
カシオ計算機株式会社
切断制御装置、切断制御方法及びプログラム
13日前
カシオ計算機株式会社
情報処理装置、学習支援方法及びプログラム
27日前
カシオ計算機株式会社
カット装置、カット制御方法及びプログラム
1か月前
カシオ計算機株式会社
カット制御方法、カット装置及びプログラム
1か月前
カシオ計算機株式会社
学習支援装置、学習支援方法及びプログラム
1か月前
続きを見る
他の特許を見る