TOP
|
特許
|
意匠
|
商標
特許ウォッチ
Twitter
他の特許を見る
公開番号
2025132070
公報種別
公開特許公報(A)
公開日
2025-09-10
出願番号
2024029395
出願日
2024-02-29
発明の名称
湯張り動作検証装置
出願人
大阪瓦斯株式会社
代理人
弁理士法人R&C
主分類
F24H
15/196 20220101AFI20250903BHJP(加熱;レンジ;換気)
要約
【課題】水位検出部の異常を適切に見つけ出すことができる湯張り動作検証装置を提供する。
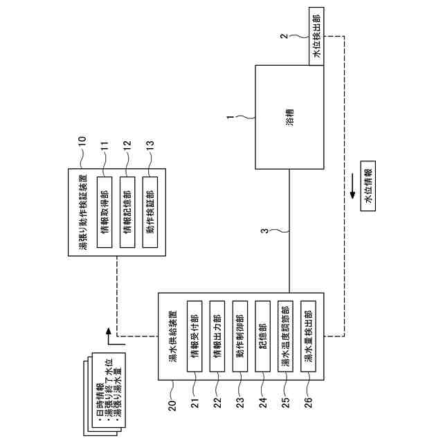
【解決手段】浴槽1へ湯水を供給する湯張り運転を行う湯水供給装置20を備える湯張りシステムの動作を検証する湯張り動作検証装置10であって、湯張り運転が終了した時点で水位検出部2によって検出された浴槽1における水位である湯張り終了水位についての情報、及び、浴槽1に貯えられる湯水の水位が目標水位になるまでの間に浴槽1に供給された湯水の量である湯張り湯水量についての情報を取得する情報取得部11と、特定の湯張り運転での湯張り湯水量及び湯張り終了水位と、時間的に前後して行われた別の湯張り運転での湯張り湯水量及び湯張り終了水位との比較結果に基づいて、水位検出部2による水位の検出に異常が発生しているか否かを判定する動作検証部13とを備える。
【選択図】図1
特許請求の範囲
【請求項1】
浴槽に貯えられる湯水の水位を検出する水位検出部と、前記浴槽に貯えられる湯水の水位が目標水位になるように前記浴槽へ湯水を供給する湯張り運転を行う湯水供給装置とを備える湯張りシステムの動作を検証する湯張り動作検証装置であって、
前記湯水供給装置が行った前記湯張り運転が終了した時点で前記水位検出部によって検出された前記浴槽における水位である湯張り終了水位についての情報、及び、前記湯張り運転を開始してから前記浴槽に貯えられる湯水の水位が前記目標水位になるまでの間に前記浴槽に供給された湯水の量である湯張り湯水量についての情報を取得する情報取得部と、
前記情報取得部が取得した情報を記憶する情報記憶部と、
特定の前記湯張り運転での前記湯張り湯水量及び前記湯張り終了水位と、時間的に前後して行われた別の前記湯張り運転での前記湯張り湯水量及び前記湯張り終了水位との比較結果に基づいて、前記水位検出部による水位の検出に異常が発生しているか否かを判定する動作検証部とを備える湯張り動作検証装置。
続きを表示(約 330 文字)
【請求項2】
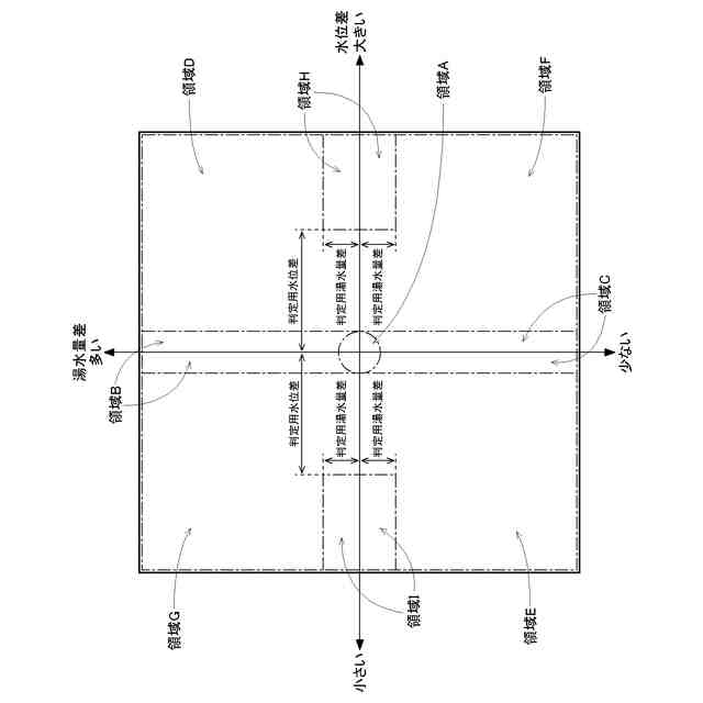
前記動作検証部は、特定の前記湯張り運転での前記湯張り湯水量と、時間的に前後して行われた別の前記湯張り運転での前記湯張り湯水量との間の湯水量差、及び、特定の前記湯張り運転での前記湯張り終了水位と、時間的に前後して行われた別の前記湯張り運転での前記湯張り終了水位との間の水位差に基づいて、前記水位検出部による水位の検出に異常が発生しているか否かを判定する請求項1に記載の湯張り動作検証装置。
【請求項3】
前記動作検証部は、前記水位差が所定の判定用水位差より大きく、且つ、前記湯水量差が所定の判定用湯水量差以下である場合、前記水位検出部による水位の検出に異常が発生していると判定する請求項2に記載の湯張り動作検証装置。
発明の詳細な説明
【技術分野】
【0001】
本発明は、湯張り動作検証装置に関する。
続きを表示(約 2,000 文字)
【背景技術】
【0002】
住戸などには、浴槽へ湯水を供給する湯張り運転を行う湯水供給装置が設置される。この湯水供給装置が湯張り運転を行う場合、浴槽に貯えられる湯水の水位を検出する水位検出部の検出結果を参照して、浴槽に貯えられる湯水の水位が目標水位になるように浴槽へ湯水を供給する。
【0003】
このような水位検出部と湯水供給装置とを備える湯張りシステムの動作を検証することも行われている。特許文献1(特開2022-112779号公報)には、上述した湯張りシステムに対応する給湯システムが記載されている。そして、給湯システムで用いられる部品の故障予兆の有無を判定することが記載されている。例えば、給湯運転に使用される給湯装置の駆動部品については、給湯運転のために設定した目標値となるように駆動し、この目標値に対する実績値を取得する。そして、取得した実績値が、予め設定された正常範囲内であり、且つ予め設定された故障予兆基準に到達した場合に、その部品が故障予兆部品と判定する。このように、特許文献1に記載の発明では、部品の現在の状態に基づいて、その部品の故障予兆の有無を判定している。
【0004】
特許文献2(特開2022-145133号公報)には、過去の実績データに基づいて未来の推測データを算出し、その推測データが閾値に達すると予測される時期をメンテナンス時期と判定する給湯器の故障推定システムが記載されている。つまり、特許文献2のシステムでは、累積的に増加するデータを用いてメンテナンス時期を判定している。
【先行技術文献】
【特許文献】
【0005】
特開2022-112779号公報
特開2022-145133号公報
【発明の概要】
【発明が解決しようとする課題】
【0006】
尚、特許文献1に記載の発明では、部品の現在の状態に基づいてその部品が故障予兆部品であるか否かを判定している。そのため、部品の現在の状態は故障予兆基準に到達していないが、前日の部品の状態と比べると異常があるような状態を見つけ出すことができない。
【0007】
また、特許文献2の発明では、累積的に増加するデータを用いてメンテナンス時期に到達しているか否か、即ち、経年劣化しているか否かを判定するため、例えば使用開始されてから間もない物の異常を見つけ出すことはできない。
【0008】
本発明は、上記の課題に鑑みてなされたものであり、その目的は、水位検出部の異常を適切に見つけ出すことができる湯張り動作検証装置を提供する点にある。
【課題を解決するための手段】
【0009】
上記目的を達成するための本発明に係る湯張り動作検証装置の特徴構成は、浴槽に貯えられる湯水の水位を検出する水位検出部と、前記浴槽に貯えられる湯水の水位が目標水位になるように前記浴槽へ湯水を供給する湯張り運転を行う湯水供給装置とを備える湯張りシステムの動作を検証する湯張り動作検証装置であって、
前記湯水供給装置が行った前記湯張り運転が終了した時点で前記水位検出部によって検出された前記浴槽における水位である湯張り終了水位についての情報、及び、前記湯張り運転を開始してから前記浴槽に貯えられる湯水の水位が前記目標水位になるまでの間に前記浴槽に供給された湯水の量である湯張り湯水量についての情報を取得する情報取得部と、
前記情報取得部が取得した情報を記憶する情報記憶部と、
特定の前記湯張り運転での前記湯張り湯水量及び前記湯張り終了水位と、時間的に前後して行われた別の前記湯張り運転での前記湯張り湯水量及び前記湯張り終了水位との比較結果に基づいて、前記水位検出部による水位の検出に異常が発生しているか否かを判定する動作検証部とを備える点にある。
【0010】
上記特徴構成によれば、動作検証部は、特定の湯張り運転での湯張り湯水量及び湯張り終了水位と、時間的に前後して行われた別の湯張り運転での湯張り湯水量及び湯張り終了水位との比較結果に基づいて、水位検出部による水位の検出に異常が発生しているか否かを判定する。つまり、1回の湯張り運転での湯張り湯水量及び湯張り終了水位に異常があるか否かではなく、時間的に前後した複数回の湯張り運転での湯張り湯水量及び湯張り終了水位の比較結果に基づいて、水位検出部による水位の検出に異常が発生しているか否かを判定する。そのため、1回の湯張り運転での湯張り湯水量及び湯張り終了水位には表れないような異常の予兆も見つけ出すことができる。
従って、水位検出部の異常を適切に見つけ出すことができる湯張り動作検証装置を提供できる。
(【0011】以降は省略されています)
この特許をJ-PlatPat(特許庁公式サイト)で参照する
関連特許
株式会社コロナ
空調装置
23日前
株式会社コロナ
空調装置
3か月前
株式会社コロナ
給湯装置
2か月前
株式会社コロナ
加湿装置
14日前
株式会社コロナ
空調装置
1か月前
株式会社コロナ
空調装置
4日前
株式会社コロナ
風呂給湯機
22日前
株式会社コロナ
空気調和機
2か月前
個人
住宅換気空調システム
1か月前
株式会社コロナ
空気調和機
1か月前
株式会社コロナ
暖房システム
4日前
株式会社パロマ
給湯器
2か月前
株式会社コロナ
直圧式給湯機
2か月前
株式会社コロナ
直圧式給湯機
1か月前
ホーコス株式会社
排気フード
2か月前
株式会社コロナ
貯湯式給湯機
8日前
株式会社コロナ
貯湯式給湯装置
2か月前
株式会社コロナ
輻射式冷房装置
1か月前
ホーコス株式会社
換気扇取付枠
23日前
株式会社ノーリツ
温水装置
3か月前
株式会社ツインバード
加熱調理器
14日前
個人
籾殻(そば殻)燃焼ストーブ
1か月前
三菱電機株式会社
送風装置
2か月前
株式会社コロナ
開放式燃焼暖房機
1か月前
株式会社ノーリツ
温水装置
3か月前
株式会社パロマ
給湯暖房機
2か月前
株式会社パロマ
給湯暖房機
2か月前
株式会社パロマ
給湯暖房機
2か月前
株式会社パロマ
給湯暖房機
2か月前
株式会社パロマ
給湯暖房機
2か月前
株式会社パロマ
給湯暖房機
2か月前
株式会社パロマ
給湯暖房機
2か月前
株式会社パロマ
給湯暖房機
2か月前
株式会社ノーリツ
給湯装置
3か月前
株式会社パロマ
給湯暖房機
2か月前
大阪瓦斯株式会社
加熱調理器
1か月前
続きを見る
他の特許を見る