TOP
|
特許
|
意匠
|
商標
特許ウォッチ
Twitter
他の特許を見る
10個以上の画像は省略されています。
公開番号
2025132109
公報種別
公開特許公報(A)
公開日
2025-09-10
出願番号
2024029463
出願日
2024-02-29
発明の名称
情報処理装置、情報処理システム、情報処理方法、およびプログラム
出願人
沖電気工業株式会社
代理人
個人
,
個人
,
個人
主分類
G06Q
40/02 20230101AFI20250903BHJP(計算;計数)
要約
【課題】金融機関の顧客の情報を活用して、顧客の本人確認書類を出力する。
【解決手段】顧客による現金振込の取引の実行の指示を受け付ける振込受付部と、前記顧客の識別情報を取得する顧客識別情報取得部と、前記現金振込の取引を実行する取引実行部と、前記現金振込の取引の実行結果を、前記顧客の識別情報と関連付けて出力する出力部と、を備える、情報処理装置。
【選択図】図1
特許請求の範囲
【請求項1】
金融機関に口座を開設している顧客の、公的に発行された本人確認書類である公的書類の情報を、当該顧客の情報と関連付けて記憶する記憶部と、
前記顧客の情報および前記公的書類の情報に基づき、前記顧客の本人確認書類を新たに生成する、本人確認書類生成部と、
前記顧客による前記本人確認書類の出力依頼に基づき、前記本人確認書類生成部により生成された前記本人確認書類を出力する出力部と、
を備える、情報処理装置。
続きを表示(約 950 文字)
【請求項2】
前記出力依頼は、前記顧客により設定された送付先を含み、
前記出力部は、前記顧客により設定された送付先に、前記本人確認書類を送信する、請求項1に記載の情報処理装置。
【請求項3】
前記記憶部は、同一の顧客に対する複数の前記公的書類の情報を記憶し、
前記出力依頼は、前記複数の公的書類のうちいずれの公的書類の情報に基づき前記本人確認書類を生成するかの情報を含む、
請求項1に記載の情報処理装置。
【請求項4】
前記情報処理装置は、前記顧客により操作される情報処理端末から、前記情報処理端末に入力された情報に基づき生成される前記出力依頼を取得する取得部をさらに備える、請求項1~3のいずれか一項に記載の情報処理装置。
【請求項5】
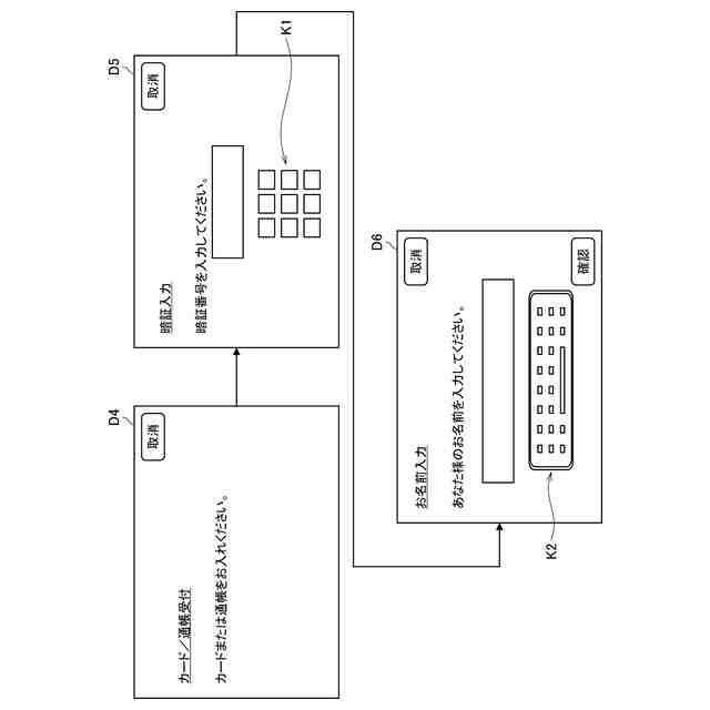
前記出力依頼は、前記情報処理端末により撮影された前記顧客の顔画像を含む、請求項4に記載の情報処理装置。
【請求項6】
前記記憶部は、前記情報処理端末により撮影された前記公的書類の情報を記憶する、請求項4に記載の情報処理装置。
【請求項7】
前記情報処理装置は、前記金融機関への前記口座に関する手続きに用いられた公的書類に含まれる情報と、前記情報処理端末により撮影された公的書類に含まれる情報との一致に基づき前記顧客を認証する認証部をさらに備え、
前記記憶部は、前記認証部により顧客が認証された場合に、前記情報処理端末により撮影された公的書類の情報を記憶する、請求項6に記載の情報処理装置。
【請求項8】
前記本人確認書類生成部は、前記情報処理端末により撮影された前記顧客の顔画像を含む前記本人確認書類を生成する、請求項4に記載の情報処理装置。
【請求項9】
前記公的書類の情報は、前記情報処理端末により撮影された前記公的書類の画像を含み、
前記本人確認書類生成部は、前記公的書類の画像を含む前記本人確認書類を生成する、
請求項4に記載の情報処理装置。
【請求項10】
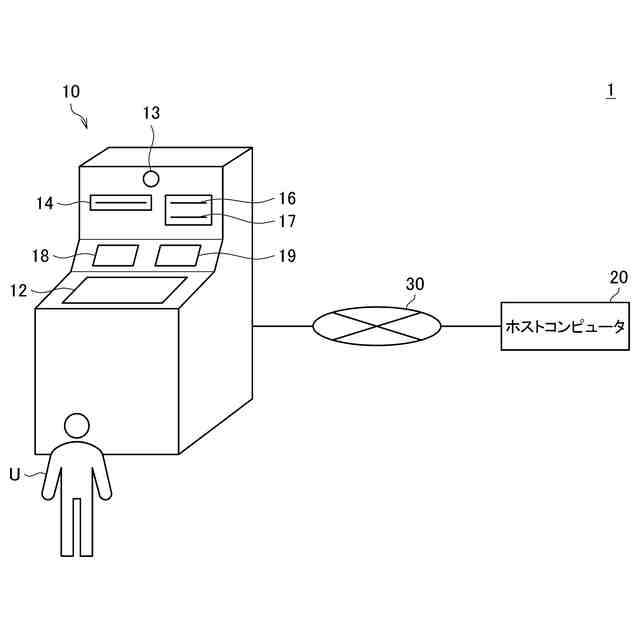
前記情報処理端末は、現金自動預け払い機である、請求項4に記載の情報処理装置。
(【請求項11】以降は省略されています)
発明の詳細な説明
【技術分野】
【0001】
本発明は、情報処理装置、情報処理システム、情報処理方法、およびプログラムに関する。
続きを表示(約 1,100 文字)
【背景技術】
【0002】
近年、様々なサービスを利用するにあたり、利用者の本人確認を行うために、利用者の本人確認書類が必要とされる場合がある。ここで、利用者は常に本人確認書類を携帯しているとは限らないため、利用者が本人確認書類を携帯していない場合であっても利用者の本人確認を可能とする技術が開発されている。
【0003】
例えば、特許文献1には、利用者が管理センターに登録した本人確認書類(本人確認証類)を、サービスを提供する手続対象機関に出力する技術が開示されている。
【先行技術文献】
【特許文献】
【0004】
特開2004-94884号公報
【発明の概要】
【発明が解決しようとする課題】
【0005】
しかし、利用者の利便性の観点から、既に登録されている利用者の情報を活用して本人確認書類を出力することが求められる。
【0006】
そこで、本発明は、上記問題に鑑みてなされたものであり、本発明の目的とするところは、金融機関の顧客の情報を活用して、顧客の本人確認書類を出力することが可能な、新規かつ改良された技術を提供することにある。
【課題を解決するための手段】
【0007】
上記課題を解決するために、本発明のある観点によれば、金融機関に口座を開設している顧客の、公的に発行された本人確認書類である公的書類の情報を、当該顧客の情報と関連付けて記憶する記憶部と、前記顧客の情報および前記公的書類の情報に基づき、前記顧客の本人確認書類を新たに生成する、本人確認書類生成部と、前記顧客による前記本人確認書類の出力依頼に基づき、前記本人確認書類生成部により生成された前記本人確認書類を出力する出力部と、を備える、情報処理装置が提供される。
【0008】
前記出力依頼は、前記顧客により設定された送付先を含み、前記出力部は、前記顧客により設定された送付先に、前記本人確認書類を送信してもよい。
【0009】
前記記憶部は、同一の顧客に対する複数の前記公的書類の情報を記憶し、前記出力依頼は、前記複数の公的書類のうちいずれの公的書類の情報に基づき前記本人確認書類を生成するかの情報を含んでもよい。
【0010】
前記情報処理装置は、前記顧客により操作される情報処理端末から、前記情報処理端末に入力された情報に基づき生成される前記出力依頼を取得する取得部をさらに備えてもよい。
(【0011】以降は省略されています)
この特許をJ-PlatPat(特許庁公式サイト)で参照する
関連特許
沖電気工業株式会社
ナビゲーションシステム
2日前
個人
地球保全システム
1日前
個人
本人認証連動型帳票出力支援システム
3日前
株式会社カネカ
生産計画立案システム
3日前
株式会社北國銀行
勘定系システム
3日前
トヨタ自動車株式会社
情報処理装置
3日前
トヨタ自動車株式会社
情報処理装置
3日前
トヨタ自動車株式会社
情報処理装置
3日前
個人
検索装置、検索方法、及びプログラム
3日前
トヨタ自動車株式会社
情報処理装置
3日前
個人
計算装置
2日前
アズビル株式会社
情報処理システムおよび方法
1日前
日本電気株式会社
分析装置
3日前
株式会社アスキュー
サーバ装置、及びアンケート方法
3日前
株式会社JVCケンウッド
評価装置及び評価方法
3日前
キヤノン株式会社
半導体装置
1日前
株式会社JVCケンウッド
再生装置及び再生方法
1日前
トヨタ自動車株式会社
情報処理装置
3日前
トヨタ自動車株式会社
情報処理装置
3日前
株式会社JVCケンウッド
再生装置及び再生方法
1日前
日本電気株式会社
検知装置および検知方法
3日前
株式会社サトー
識別バンド
1日前
ローム株式会社
監視回路
3日前
株式会社リコー
ファイル分析・保存システム
3日前
OGI infotec株式会社
CAD用のプログラム
3日前
株式会社竹中工務店
評価システム、及び評価プログラム
3日前
カシオ計算機株式会社
補助バスマスタ回路及び電子機器
3日前
株式会社キーエンス
画像検査装置
1日前
富士通株式会社
行列演算回路
3日前
いすゞ自動車株式会社
システム
3日前
株式会社フジタ
床衝撃音レベル予測システム
3日前
株式会社リコー
見積書作成装置、方法、プログラム
3日前
トヨタ自動車株式会社
資産の稼動状況管理システム
3日前
東京瓦斯株式会社
データ管理装置
1日前
株式会社リコー
表示装置、表示方法およびプログラム
3日前
富士通株式会社
管理装置、管理方法、および管理プログラム
1日前
続きを見る
他の特許を見る