TOP
|
特許
|
意匠
|
商標
特許ウォッチ
Twitter
他の特許を見る
10個以上の画像は省略されています。
公開番号
2025132219
公報種別
公開特許公報(A)
公開日
2025-09-10
出願番号
2024029628
出願日
2024-02-29
発明の名称
表示装置及び電子機器
出願人
セイコーエプソン株式会社
代理人
個人
,
個人
,
個人
主分類
G09G
3/3291 20160101AFI20250903BHJP(教育;暗号方法;表示;広告;シール)
要約
【課題】画素回路を駆動する回路を簡素化して面積サイズを低減させた表示装置を提供すること。
【解決手段】第1~第4トランジスター及び発光素子を含む画素回路と、データ電位を発生させるデータ電位発生回路と、を有し、第1期間において、前記第2トランジスターがオンし、前記第3トランジスター及び前記第4トランジスターがオフし、データ線を介して、前記第1トランジスターのゲートに第1電位が供給され、第2期間において、前記第2トランジスター及び前記第3トランジスターがオンし、前記第4トランジスターがオフし、前記データ線と前記第1トランジスターのゲート及びドレインとが電気的に接続され、第3期間において、前記第2トランジスターがオンし、前記第3トランジスター及び前記第4トランジスターがオフし、前記第1トランジスターのゲートに、前記データ線及び前記第2トランジスターを介して前記データ電位が供給される、表示装置。
【選択図】図4
特許請求の範囲
【請求項1】
走査線と、
データ線と、
前記走査線と前記データ線とに対応して設けられた画素回路と、
データ電位を発生させるデータ電位発生回路と、を有し、
前記画素回路は、第1トランジスター、第2トランジスター、第3トランジスター、第4トランジスター及び発光素子を含み、
前記第1トランジスターは、ゲートとソースとの間の電圧に応じた電流を前記発光素子に供給し、
前記第2トランジスターは、前記走査線の電位に応じて、前記データ線と前記第1トランジスターの前記ゲートとの電気的接続を制御し、
前記第3トランジスターは、前記データ線と前記第1トランジスターのドレインとの電気的接続を制御し、
前記第4トランジスターは、前記発光素子と前記第1トランジスターの前記ドレインとの電気的接続を制御し、
第1期間において、
前記第2トランジスターがオンし、前記第3トランジスター及び前記第4トランジスターがオフし、前記データ線を介して、前記第1トランジスターの前記ゲートに所定の第1電位が供給され、
前記第1期間の後の第2期間において、
前記第2トランジスター及び前記第3トランジスターがオンし、前記第4トランジスターがオフし、前記データ線と前記第1トランジスターの前記ゲート及び前記ドレインとが電気的に接続され、
前記第2期間の後の第3期間において、
前記第2トランジスターがオンし、前記第3トランジスター及び前記第4トランジスターがオフし、前記第1トランジスターの前記ゲートに、前記データ線及び前記第2トランジスターを介して前記データ電位が供給される、表示装置。
続きを表示(約 1,100 文字)
【請求項2】
請求項1において、
前記データ電位発生回路は、前記データ電位を出力する容量型DACを含む、表示装置。
【請求項3】
請求項2において、
前記第2期間において、前記容量型DACの出力ノードに所定の第2電位が供給される、表示装置。
【請求項4】
請求項2において、
前記データ電位発生回路が発生させた前記データ電位が供給されるデータ供給線と、
前記データ線と前記データ供給線との電気的接続を制御するスイッチ回路と、を有し、
前記第1期間及び前記第2期間において、前記スイッチ回路がオフし、
前記第3期間において、前記スイッチ回路がオンし、前記データ電位発生回路から出力される前記データ電位が、前記データ供給線から前記データ線に転送される、表示装置。
【請求項5】
請求項1において、
前記データ電位発生回路は、増幅回路を含む、表示装置。
【請求項6】
請求項1において、
前記データ電位発生回路が発生させた前記データ電位が供給されるデータ供給線と、
データ転送線と、
前記データ転送線に接続された容量素子と、
前記データ線と前記データ転送線との電気的接続を制御する第1スイッチ回路と、
前記データ転送線と前記データ供給線との電気的接続を制御する第2スイッチ回路と、を有し、
前記第1期間及び前記第2期間において、前記第1スイッチ回路がオフし、
前記第1期間及び第3期間において、前記第2スイッチ回路がオフし、
前記第2期間の一部と重複する期間において、前記第2スイッチ回路がオンし、前記データ電位発生回路から出力される前記データ電位が、前記データ供給線から前記データ転送線に転送され、前記データ転送線に転送された前記データ電位が前記容量素子に保持され、
前記第3期間において、前記第1スイッチ回路がオンし、前記容量素子に保持されている前記データ電位が前記第1トランジスターの前記ゲートに供給される、表示装置。
【請求項7】
請求項1において、
前記第3期間の後の第4期間において、
前記第2トランジスター及び前記第3トランジスターがオフし、前記第4トランジスターがオンし、前記第1トランジスターの前記ソースから前記ドレインへと流れる電流が前記第4トランジスターを介して前記発光素子に供給され、前記発光素子が発光する、表示装置。
【請求項8】
請求項1乃至7のいずれか一項に記載の表示装置を有する、電子機器。
発明の詳細な説明
【技術分野】
【0001】
本発明は、表示装置及び電子機器に関する。
続きを表示(約 2,400 文字)
【背景技術】
【0002】
有機EL(Electro Luminescence)素子などの発光素子を有する表示装置が知られている。この表示装置では、発光素子と当該発光素子の駆動や発光タイミングの制御に用いられる複数のトランジスターとを有する多数の画素回路が、1本のデータ線に接続される。
【0003】
例えば、特許文献1には、データ線と画素回路との間に設けられたカップリング容量の一端に、発光素子の駆動用トランジスターの閾値電圧を保持した後、当該カップリング容量の他端から、階調データに応じた電圧変化によって画素回路にデータを書き込む表示装置が開示されている。
【先行技術文献】
【特許文献】
【0004】
特開2021-96418号公報
【発明の概要】
【発明が解決しようとする課題】
【0005】
しかしながら、特許文献1に記載の表示装置では、表示画像の高精細化による画素数の増加や画面サイズの増大に伴ってデータ線の負荷容量が大きくなると、データ線の負荷容量の増大に比例して、カップリング容量の容量値を大きくする必要があり、表示装置の面積サイズが大きくなってしまう。
【課題を解決するための手段】
【0006】
本発明に係る表示装置の一態様は、
走査線と、
データ線と、
前記走査線と前記データ線とに対応して設けられた画素回路と、
データ電位を発生させるデータ電位発生回路と、を有し、
前記画素回路は、第1トランジスター、第2トランジスター、第3トランジスター、第4トランジスター及び発光素子を含み、
前記第1トランジスターは、ゲートとソースとの間の電圧に応じた電流を前記発光素子に供給し、
前記第2トランジスターは、前記走査線の電位に応じて、前記データ線と前記第1トランジスターの前記ゲートとの電気的接続を制御し、
前記第3トランジスターは、前記データ線と前記第1トランジスターのドレインとの電気的接続を制御し、
前記第4トランジスターは、前記発光素子と前記第1トランジスターの前記ドレインとの電気的接続を制御し、
第1期間において、
前記第2トランジスターがオンし、前記第3トランジスター及び前記第4トランジスターがオフし、前記データ線を介して、前記第1トランジスターの前記ゲートに所定の第1電位が供給され、
前記第1期間の後の第2期間において、
前記第2トランジスター及び前記第3トランジスターがオンし、前記第4トランジスターがオフし、前記データ線と前記第1トランジスターの前記ゲート及び前記ドレインとが電気的に接続され、
前記第2期間の後の第3期間において、
前記第2トランジスターがオンし、前記第3トランジスター及び前記第4トランジスターがオフし、前記第1トランジスターの前記ゲートに、前記データ線及び前記第2トランジスターを介して前記データ電位が供給される。
【0007】
本発明に係る電子機器の一態様は、
前記表示装置の一態様を有する。
【図面の簡単な説明】
【0008】
本実施形態の表示装置を模式的に示す平面図。
表示装置の表示パネルを模式的に示す平面図。
表示装置の電気的な構成を示すブロック図。
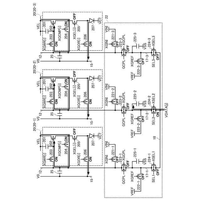
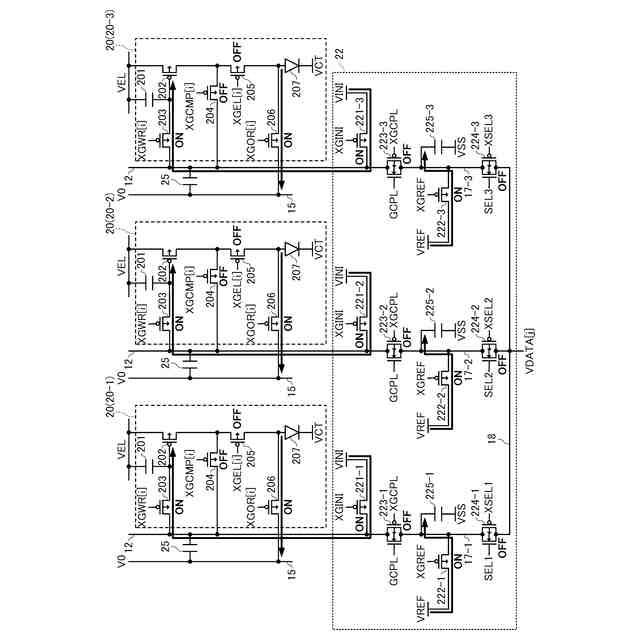
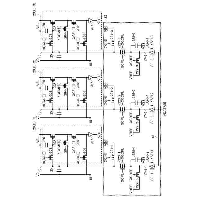
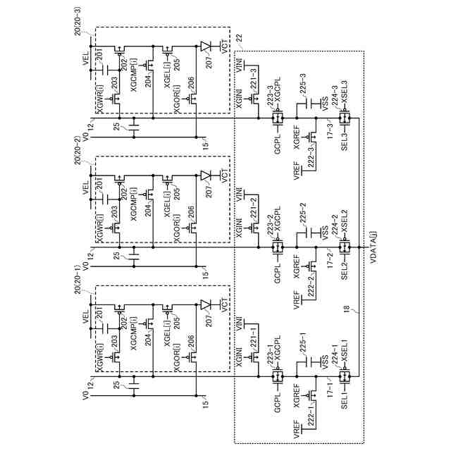
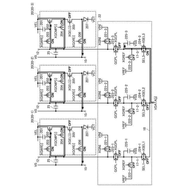
第1実施形態における画素回路及びデータ線駆動回路の構成を示す図。
第1実施形態の表示装置における各種信号の波形の一例を示すタイミングチャート図。
第1実施形態の表示装置の動作を説明するための図。
第1実施形態の表示装置の動作を説明するための図。
第1実施形態の表示装置の動作を説明するための図。
第1実施形態の表示装置の動作を説明するための図。
第1実施形態の表示装置の動作を説明するための図。
第1実施形態の表示装置の動作を説明するための図。
第2実施形態における画素回路及びデータ線駆動回路の構成を示す図。
第2実施形態の表示装置における各種信号の波形の一例を示すタイミングチャート図。
第2実施形態の表示装置の動作を説明するための図。
第2実施形態の表示装置の動作を説明するための図。
第2実施形態の表示装置の動作を説明するための図。
第2実施形態の表示装置の動作を説明するための図。
第2実施形態の表示装置の動作を説明するための図。
第2実施形態の表示装置の動作を説明するための図。
本実施形態に係るヘッドマウントディスプレイを模式的に示す斜視図。
本実施形態に係るヘッドマウントディスプレイの像形成装置及び導光装置を模式的に示す図。
【発明を実施するための形態】
【0009】
以下、本発明の好適な実施形態について図面を用いて詳細に説明する。なお、以下に説明する実施形態は、特許請求の範囲に記載された本発明の内容を不当に限定するものではない。また以下で説明される構成の全てが本発明の必須構成要件であるとは限らない。
【0010】
1.表示装置
1-1.第1実施形態
1-1-1.表示装置の全体構成
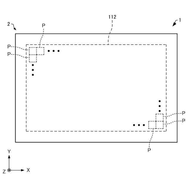
図1は、本実施形態の表示装置1を模式的に示す斜視図である。図2は、本実施形態の表示装置1の表示パネル2を模式的に示す平面図である。なお、図1及び図2には、互いに直交する3軸として、X軸、Y軸及びZ軸を示している。
(【0011】以降は省略されています)
この特許をJ-PlatPat(特許庁公式サイト)で参照する
関連特許
個人
回転式カード学習具
1か月前
日本精機株式会社
表示装置
1か月前
日本精機株式会社
表示装置
10日前
日本精機株式会社
表示装置
3か月前
個人
時刻表示機能つき手帳
2か月前
個人
計算用教具
6日前
中国電力株式会社
標示旗
16日前
日本精機株式会社
車両用表示装置
1か月前
日本精機株式会社
車両用表示装置
1か月前
日本精機株式会社
車両用表示装置
1か月前
個人
モデルで薔薇の花嫁様を描く為
27日前
日本精機株式会社
車両用センサ装置
6日前
トヨタ自動車株式会社
評価方法
2か月前
株式会社一弘社
情報表示板
1か月前
シャープ株式会社
表示装置
17日前
シャープ株式会社
表示装置
2か月前
パイオニア株式会社
表示装置
2か月前
株式会社ウメラボ
学習支援システム
2日前
個人
音楽教材
1か月前
個人
口唇閉鎖の訓練具
2か月前
ニチレイマグネット株式会社
磁着式電飾装置
16日前
株式会社半導体エネルギー研究所
半導体装置
2か月前
株式会社ノジマ
応対体験システム
2か月前
株式会社リコー
画像投射システム
17日前
BEST株式会社
吊り下げ表示部材
1か月前
学校法人関西医科大学
腹腔鏡手術訓練装置
16日前
シチズンファインデバイス株式会社
液晶表示装置
1か月前
株式会社バンダイ
情報処理装置およびプログラム
2か月前
個人
サインポスト
2か月前
株式会社サンゲツ
見本帳
1か月前
シチズンファインデバイス株式会社
液晶表示装置
25日前
朝日インテック株式会社
心臓モデル装置
3か月前
シャープ株式会社
表示装置
1か月前
シャープ株式会社
表示装置
1か月前
個人
ピアノの指トレーニング器具及び練習方法
2か月前
ニデックインスツルメンツ株式会社
情報処理装置
2か月前
続きを見る
他の特許を見る