TOP
|
特許
|
意匠
|
商標
特許ウォッチ
Twitter
他の特許を見る
10個以上の画像は省略されています。
公開番号
2025132301
公報種別
公開特許公報(A)
公開日
2025-09-10
出願番号
2024029746
出願日
2024-02-29
発明の名称
情報処理装置、情報処理システム及びプログラム
出願人
カシオ計算機株式会社
代理人
弁理士法人光陽国際特許事務所
主分類
G06Q
50/20 20120101AFI20250903BHJP(計算;計数)
要約
【課題】選択された学習機能の利用状況をユーザが容易に把握できるようにする。
【解決手段】サーバー装置10の制御部11は、学習指導者又は管理者により第一端末装置20Aを介して第一学習機能が分析対象として選択された場合に、第一分類を選択可能に第一端末装置20Aに表示させる。また、制御部11は、学習指導者又は管理者により第一端末装置20Aを介して第二学習機能が分析対象として選択された場合に、第二分類を選択可能に第一端末装置20Aに表示させる。そして、制御部11は、選択された分類に基づいて学習者による選択された学習機能の利用状況を導出し第一端末装置20Aに表示させる。
【選択図】図1
特許請求の範囲
【請求項1】
学習指導者又は管理者が使用する第一端末装置と、複数の学習者が使用する複数の第二端末装置と、に通信可能に接続される情報処理装置であって、
前記第二端末装置には、前記学習者により利用される、第一学習機能及び第二学習機能を含む互いに異なる複数の学習機能が提供され、
前記複数の学習者は、前記第一学習機能に対応する第一分類に属する第一グループにグループ分けされるとともに、前記第二学習機能に対応する第二分類に属する第二グループにグループ分けされており、
前記学習指導者又は前記管理者により前記第一端末装置を介して前記第一学習機能が分析対象として選択された場合に前記第一分類を選択可能に前記第一端末装置に表示させ、前記第二学習機能が分析対象として選択された場合に前記第二分類を選択可能に前記第一端末装置に表示させ、前記選択された分類に基づいて学習者による前記第一学習機能又は前記第二学習機能の利用状況を導出し前記第一端末装置に表示させる表示制御部、
を備える情報処理装置。
続きを表示(約 1,400 文字)
【請求項2】
前記第一分類はクラス、授業および学校であり、
前記第二分類はクラスおよび授業である、
請求項1に記載の情報処理装置。
【請求項3】
前記表示制御部は、
前記第一分類又は前記第二分類としてクラスが選択された場合、前記学習指導者又は前記管理者が属する学校における複数のクラスの中から分析対象とするクラスを選択可能に前記第一端末装置に表示させ、前記選択されたクラスに属する学習者による前記第一学習機能又は第二学習機能の利用状況を導出し前記第一端末装置に表示させる、
請求項2に記載の情報処理装置。
【請求項4】
前記第一分類および前記第二分類におけるクラスは、前記学習者のそれぞれに対して一つ設定され、
前記第一分類および前記第二分類における授業は、前記学習者のそれぞれに対して複数設定され、
前記第一分類における学校は、前記学習者のそれぞれに対して一つ設定される、
請求項2に記載の情報処理装置。
【請求項5】
前記第一学習機能は電子付箋機能及びノートブック機能である、
請求項1に記載の情報処理装置。
【請求項6】
前記第二学習機能は電子辞書機能である、
請求項1に記載の情報処理装置。
【請求項7】
前記表示制御部は、
前記学習指導者又は前記管理者により前記第一端末装置を介してアクセス数が分析対象として選択された場合に、前記学習指導者又は前記管理者が所属する学校における前記複数の学習機能へのアクセス数を前記第一端末装置に表示させる、
請求項1に記載の情報処理装置。
【請求項8】
前記表示制御部は、
前記選択された分類に属する学習者による前記第一学習機能又は前記第二学習機能の前記利用状況と前記学習者の成績情報とを並べて前記第一端末装置に表示させる、
請求項1に記載の情報処理装置。
【請求項9】
請求項1から8のいずれか一項に記載の情報処理装置と、
前記情報処理装置と通信可能に接続される第一端末装置及び第二端末装置と、
を備える情報処理システム。
【請求項10】
学習指導者又は管理者が使用する第一端末装置及び複数の学習者が使用する複数の第二端末装置に通信可能に接続される情報処理装置のコンピュータを、
前記第二端末装置には、前記学習者により利用される、第一学習機能及び第二学習機能を含む互いに異なる複数の学習機能が提供され、
前記複数の学習者は、前記第一学習機能に対応する第一分類に属する第一グループにグループ分けされるとともに、前記第二学習機能に対応する第二分類に属する第二グループにグループ分けされており、
前記学習指導者又は前記管理者により前記第一端末装置を介して前記第一学習機能が分析対象として選択された場合に前記第一分類を選択可能に前記第一端末装置に表示させ、前記第二学習機能が分析対象として選択された場合に前記第二分類を選択可能に前記第一端末装置に表示させ、前記選択された分類に基づいて学習者による前記第一学習機能又は前記第二学習機能の利用状況を導出し前記第一端末装置に表示させる表示制御部、
として機能させるためのプログラム。
発明の詳細な説明
【技術分野】
【0001】
本発明は、情報処理装置、情報処理システム及びプログラムに関する。
続きを表示(約 2,300 文字)
【背景技術】
【0002】
従来、受講者の操作ログ情報を分析し、マーカされた箇所の資料、ページ、記入者数などの情報を集計して表示する学習管理システムがある(例えば、特許文献1参照)。
【先行技術文献】
【特許文献】
【0003】
特開2018-146845号公報
【発明の概要】
【発明が解決しようとする課題】
【0004】
しかし、特許文献1に記載の発明では、学習管理システムにより提供される複数の学習機能のうち、ユーザにより選択された学習機能に応じて、その学習機能の利用状況の分析対象の単位を変化させることができない。そのため、ユーザは、選択した学習機能の利用状況を容易に把握できない。
【0005】
本発明の課題は、選択された学習機能の利用状況をユーザが容易に把握できるようにすることである。
【課題を解決するための手段】
【0006】
上記課題を解決するため、本発明の情報処理装置は、学習指導者又は管理者が使用する第一端末装置と、複数の学習者が使用する複数の第二端末装置と、に通信可能に接続される情報処理装置であって、前記第二端末装置には、前記学習者により利用される、第一学習機能及び第二学習機能を含む互いに異なる複数の学習機能が提供され、前記複数の学習者は、前記第一学習機能に対応する第一分類に属する第一グループにグループ分けされるとともに、前記第二学習機能に対応する第二分類に属する第二グループにグループ分けされており、前記学習指導者又は前記管理者により前記第一端末装置を介して前記第一学習機能が分析対象として選択された場合に前記第一分類を選択可能に前記第一端末装置に表示させ、前記第二学習機能が分析対象として選択された場合に前記第二分類を選択可能に前記第一端末装置に表示させ、前記選択された分類に基づいて学習者による前記第一学習機能又は前記第二学習機能の利用状況を導出し前記第一端末装置に表示させる表示制御部、を備える。
【発明の効果】
【0007】
本発明によれば、選択された学習機能の利用状況を学習指導者又は管理者が容易に把握できる。
【図面の簡単な説明】
【0008】
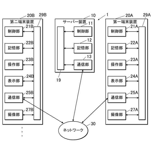
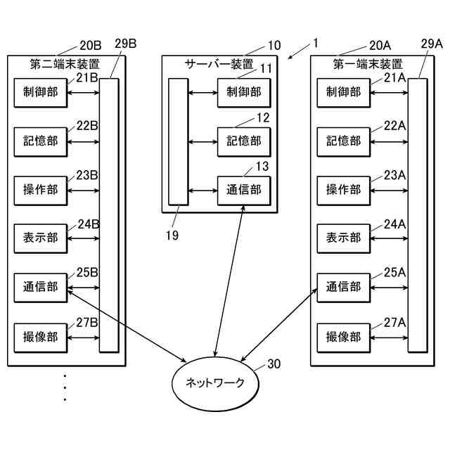
本実施形態に係る情報処理システムの概略構成を示す図である。
サーバー装置に記憶されるデータベースの構成例を示す図である。
生徒が利用する電子辞書を選択するための画面の一例を示す図である。
生徒が利用するノートブックを選択するための画面の一例を示す図である。
利用するノートブックが選択された際に表示される画面の一例を示す図である。
サーバー装置の制御部により実行される分析処理の流れを示すフローチャートである。
先生又は管理者がログインした場合に表示される、分析対象の項目を選択するための画面の一例を示す図である。
分析対象の項目として電子付箋機能が選択された場合に表示される分析用の画面の一例を示す図である。
分析対象の項目として電子辞書機能が選択された場合に表示される分析用の画面の一例を示す図である。
分析対象の項目としてノートブック機能が選択された場合に表示される分析用の画面の一例を示す図である。
分析対象の項目としてアクセス数が選択された場合に表示される分析用の画面の一例を示す図である。
分析対象の項目として電子付箋機能が選択され、分析単位としてクラスが選択された場合に表示されるグラフの一例を示す図である。
分析対象の項目として電子付箋機能が選択され、分析単位として学校が選択された場合に表示されるグラフの一例を示す図である。
分析対象の項目として電子辞書機能が選択され、分析単位としてクラスが選択された場合に表示されるグラフの一例を示す図である。
分析対象の項目としてノートブック機能が選択され、分析単位としてクラスが選択された場合に表示されるグラフの一例を示す図である。
分析対象の項目としてノートブック機能が選択され、分析単位として授業が選択された場合に表示されるグラフの一例を示す図である。
分析対象の項目としてアクセス数が選択された場合に表示されるグラフの一例を示す図である。
【発明を実施するための形態】
【0009】
以下、本発明の実施形態に係る情報処理システムについて、図面を参照して詳細に説明する。上記情報処理システムは、学校の管理者、学習指導者である学校の先生、及び学習者である生徒によって使用されるものとする。なお、学校とは、正規の小学校、中学校、高校、大学だけではなく、専門学校、学習塾、予備校などを含むものである。
【0010】
情報処理システム1は、図1に示すように、情報処理装置であるサーバー装置10と、第一端末装置20Aと、複数の第二端末装置20Bを含む。サーバー装置10、第一端末装置20A及び第二端末装置20Bは、ネットワーク30を介して通信可能に接続される。ネットワーク30は、例えば、インターネット、無線LAN(Local Area Network)、有線LAN、移動体通信ネットワーク、近距離無線通信網、あるいは、これらの一部又は全部の組合せ等の、任意の通信ネットワークである。なお、情報処理システム1は、第一端末装置20Aを複数備えていてもよい。
(【0011】以降は省略されています)
この特許をJ-PlatPat(特許庁公式サイト)で参照する
関連特許
個人
地球保全システム
2日前
株式会社キーエンス
受発注システム
1日前
個人
食品レシピ生成システム
1日前
株式会社キーエンス
受発注システム
1日前
株式会社キーエンス
受発注システム
1日前
個人
海外支援型農作物活用システム
14日前
大同特殊鋼株式会社
疵判定方法
8日前
個人
未来型家系図構築システム
14日前
キヤノン株式会社
表示システム
1日前
中部電力株式会社
学習装置
14日前
株式会社竹中工務店
管理システム
14日前
株式会社キーエンス
製品受発注システム
1日前
フリー株式会社
情報処理システム
8日前
個人
本人認証連動型帳票出力支援システム
4日前
ブラザー工業株式会社
サポートプログラム
7日前
株式会社カネカ
生産計画立案システム
4日前
個人
特殊駐車場および料金精算アプリ
14日前
株式会社SUBARU
車両用表示装置
15日前
株式会社北國銀行
勘定系システム
4日前
個人
冷凍食品ギフトおよび定期便支援システム
8日前
HIKEN株式会社
警備員予約システム
7日前
株式会社デンソー
移動体制御装置
1日前
株式会社キーエンス
携帯情報端末
14日前
トヨタ自動車株式会社
情報処理装置
4日前
トヨタ自動車株式会社
情報処理装置
4日前
トヨタ自動車株式会社
情報処理装置
4日前
株式会社フューチャーアイ
サービス提供システム
1日前
トヨタ自動車株式会社
情報処理装置
4日前
トヨタ自動車株式会社
情報処理装置
4日前
株式会社Iranoan
商品販売システム
14日前
個人
検索装置、検索方法、及びプログラム
4日前
大阪瓦斯株式会社
蓄電制御装置
8日前
中部電力株式会社
マッチングシステム
7日前
株式会社ダイフク
物品搬送設備
14日前
個人
フードロス通知連携型農作物活用支援システム
8日前
個人
計算装置
3日前
続きを見る
他の特許を見る