TOP
|
特許
|
意匠
|
商標
特許ウォッチ
Twitter
他の特許を見る
公開番号
2025133048
公報種別
公開特許公報(A)
公開日
2025-09-10
出願番号
2025025433
出願日
2025-02-19
発明の名称
磁化推定装置、磁化推定方法、及びプログラム
出願人
学校法人法政大学
代理人
個人
,
個人
,
個人
主分類
G06F
30/20 20200101AFI20250903BHJP(計算;計数)
要約
【課題】磁性体に装荷されている永久磁石の磁化の状態を直接的に推定することが可能な磁化推定装置を提供する。
【解決手段】磁化推定装置10は、磁性体に装荷されている永久磁石24の磁化の状態を推定する。磁化推定装置10は、磁性体の回転に伴い永久磁石24に基づいて誘起される第1誘導起電力V
0
(t)を測定する測定部11と、測定部11により測定された第1誘導起電力V
0
(t)に基づき、磁化推定アルゴリズムを用いて第1誘導起電力V
0
(t)が誘起されるときの永久磁石24の磁化の状態を推定する制御部15と、を備える。
【選択図】図1
特許請求の範囲
【請求項1】
磁性体に装荷されている永久磁石の磁化の状態を推定する磁化推定装置であって、
前記磁性体の回転に伴い前記永久磁石に基づいて誘起される第1誘導起電力を測定する測定部と、
前記測定部により測定された前記第1誘導起電力に基づき、磁化推定アルゴリズムを用いて前記第1誘導起電力が誘起されるときの前記永久磁石の磁化の状態を推定する制御部と、
を備える、
磁化推定装置。
続きを表示(約 1,000 文字)
【請求項2】
請求項1に記載の磁化推定装置であって、
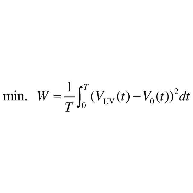
前記制御部は、前記磁化推定アルゴリズムにおいて、前記測定部により測定された前記第1誘導起電力とシミュレーションにより生成された磁化分布に基づく第2誘導起電力との間の差分を含む目的関数に基づく最適化問題を解くことで前記磁化の状態を推定する、
磁化推定装置。
【請求項3】
請求項2に記載の磁化推定装置であって、
前記制御部は、前記磁化推定アルゴリズムにおいて、前記シミュレーションにより生成された前記磁化分布の修正量を算出し前記磁化分布を更新する、
磁化推定装置。
【請求項4】
請求項3に記載の磁化推定装置であって、
前記制御部は、前記目的関数の勾配を算出して最適化手法により前記修正量を算出する、
磁化推定装置。
【請求項5】
請求項2乃至4のいずれか1項に記載の磁化推定装置であって、
前記制御部は、前記目的関数の勾配を随伴変数法により算出する、
磁化推定装置。
【請求項6】
請求項2乃至4のいずれか1項に記載の磁化推定装置であって、
前記制御部は、前記目的関数が許容値未満になると、前記磁化推定アルゴリズムを終了させる、
磁化推定装置。
【請求項7】
請求項2乃至4のいずれか1項に記載の磁化推定装置であって、
前記制御部は、前記シミュレーションにより生成された前記磁化分布から磁気非線形性を考慮した電磁界解析により磁界を算出する、
磁化推定装置。
【請求項8】
請求項2乃至4のいずれか1項に記載の磁化推定装置であって、
前記測定部は、前記磁性体の周囲を囲む固定子において前記磁性体の外周に沿って連続的に配置されている複数相の電機子巻線を含む、
磁化推定装置。
【請求項9】
請求項8に記載の磁化推定装置であって、
前記第2誘導起電力は、異なる相間の線間電圧である、
磁化推定装置。
【請求項10】
請求項8に記載の磁化推定装置であって、
前記測定部は、前記磁性体と前記固定子との間の空隙に配置されているピックアップコイルを含む、
磁化推定装置。
(【請求項11】以降は省略されています)
発明の詳細な説明
【技術分野】
【0001】
本開示は、磁化推定装置、磁化推定方法、及びプログラムに関する。
続きを表示(約 2,400 文字)
【背景技術】
【0002】
従来、磁化分布などを含む、永久磁石の磁化の状態を算出するための技術が知られている。例えば、特許文献1には、既存の汎用磁界計算ソルバーを用いて磁石の磁化分布を算出することが可能な磁化分布算出処理装置が開示されている。
【先行技術文献】
【特許文献】
【0003】
特開2002-328956号公報
【発明の概要】
【発明が解決しようとする課題】
【0004】
しかしながら、特許文献1に記載の従来技術では、磁性体に装荷されている永久磁石の磁化の状態を直接的に推定することについて十分に考慮されていなかった。
【0005】
本開示は、磁性体に装荷されている永久磁石の磁化の状態を直接的に推定することが可能な磁化推定装置、磁化推定方法、及びプログラムを提供することを目的とする。
【課題を解決するための手段】
【0006】
上記の課題を解決するための第1の観点による磁化推定装置は、
磁性体に装荷されている永久磁石の磁化の状態を推定する磁化推定装置であって、
前記磁性体の回転に伴い前記永久磁石に基づいて誘起される第1誘導起電力を測定する測定部と、
前記測定部により測定された前記第1誘導起電力に基づき、磁化推定アルゴリズムを用いて前記第1誘導起電力が誘起されるときの前記永久磁石の磁化の状態を推定する制御部と、
を備える。
【0007】
第2の観点による磁化推定方法は、
磁性体に装荷されている永久磁石の磁化の状態を推定する磁化推定方法であって、
前記磁性体の回転に伴い前記永久磁石に基づいて誘起される第1誘導起電力を測定することと、
測定された前記第1誘導起電力に基づき、磁化推定アルゴリズムを用いて前記第1誘導起電力が誘起されるときの前記永久磁石の磁化の状態を推定することと、
を含む。
【0008】
第3の観点によるプログラムは、
磁性体に装荷されている永久磁石の磁化の状態を推定する磁化推定装置に、
前記磁性体の回転に伴い前記永久磁石に基づいて誘起される第1誘導起電力を測定することと、
測定された前記第1誘導起電力に基づき、磁化推定アルゴリズムを用いて前記第1誘導起電力が誘起されるときの前記永久磁石の磁化の状態を推定することと、
を含む動作を実行させる。
【発明の効果】
【0009】
本開示の一実施形態に係る磁化推定装置、磁化推定方法、及びプログラムによれば、磁性体に装荷されている永久磁石の磁化の状態を直接的に推定することが可能である。
【図面の簡単な説明】
【0010】
本開示の一実施形態に係る磁化推定装置を含む磁化推定システムの構成の一部を概略的に例示する構成図である。
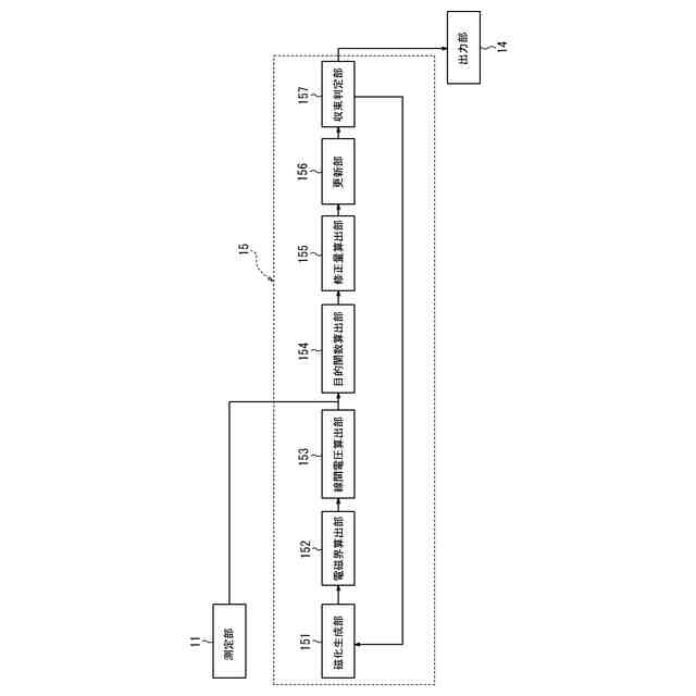
図1の磁化推定装置の構成の一例を示すブロック図である。
図2の制御部の構成の一例を主に示す機能ブロック図である。
図2の磁化推定装置により実行される磁化推定方法の一例を説明するためのフローチャートである。
図2の磁化推定装置による推定結果と対比される目標磁化分布を示す模式図である。
図5Aに示される磁化分布に起因して得られる第1誘導起電力の時間波形を示すグラフ図である。
図2の制御部によるシミュレーションでの初期分布を示す模式図である。
図5Cに示される磁化分布に起因して得られる第2誘導起電力の時間波形を示すグラフ図である。
図2の出力部に出力された推定結果の第1例を示す模式図である。
図5Eに示される磁化分布に起因して得られる第2誘導起電力の時間波形を主に示すグラフ図である。
反復回数に対して目的関数の値が変化する様子を示したグラフ図である。
図2の磁化推定装置による推定結果と対比される目標磁化分布を示す模式図である。
図6Aに示される磁化分布に起因して得られる第1誘導起電力の時間波形を示すグラフ図である。
図2の制御部によるシミュレーションでの初期分布を示す模式図である。
図6Cに示される磁化分布に起因して得られる第2誘導起電力の時間波形を示すグラフ図である。
図2の出力部に出力された推定結果の第2例を示す模式図である。
図6Eに示される磁化分布に起因して得られる第2誘導起電力の時間波形を主に示すグラフ図である。
反復回数に対して目的関数の値が変化する様子を示したグラフ図である。
本開示の第1変形例に係る磁化推定装置を含む磁化推定システムの構成の一部を概略的に例示する構成図である。
本開示の第2変形例に係る磁化推定装置を含む磁化推定システムの構成の一部を概略的に例示する構成図である。
図8Aの二点鎖線囲み部で断面を拡大した拡大断面図である。
第2変形例に係る磁化推定装置による推定結果と対比される第1目標磁化分布を示す模式図である。
図2の出力部に出力された推定結果の一例を示す模式図である。
図9Bに示される磁化分布に起因して得られる第2誘導起電力の時間波形を主に示すグラフ図である。
第2変形例に係る磁化推定装置による推定結果と対比される第2目標磁化分布を示す模式図である。
図2の出力部に出力された推定結果の一例を示す模式図である。
図10Bに示される磁化分布に起因して得られる第2誘導起電力の時間波形を主に示すグラフ図である。
【発明を実施するための形態】
(【0011】以降は省略されています)
この特許をJ-PlatPat(特許庁公式サイト)で参照する
関連特許
個人
裁判のAI化
2か月前
個人
工程設計支援装置
1か月前
個人
フラワーコートA
1か月前
個人
地球保全システム
2日前
個人
情報処理システム
2か月前
個人
冷凍食品輸出支援構造
29日前
個人
為替ポイント伊達夢貯
29日前
個人
介護情報提供システム
2か月前
個人
携帯情報端末装置
1か月前
個人
表変換編集支援システム
22日前
個人
設計支援システム
2か月前
個人
設計支援システム
2か月前
個人
結婚相手紹介支援システム
1か月前
個人
知財出願支援AIシステム
29日前
株式会社サタケ
籾摺・調製設備
2か月前
個人
AIによる情報の売買の仲介
1か月前
個人
行動時間管理システム
24日前
株式会社カクシン
支援装置
2か月前
個人
パスワード管理支援システム
22日前
株式会社アジラ
進入判定装置
1か月前
個人
海外支援型農作物活用システム
14日前
個人
備蓄品の管理方法
2か月前
個人
AIキャラクター制御システム
22日前
株式会社キーエンス
受発注システム
1日前
個人
食品レシピ生成システム
1日前
株式会社キーエンス
受発注システム
1日前
個人
システム及びプログラム
15日前
個人
パスポートレス入出国システム
1か月前
個人
アンケート支援システム
1か月前
株式会社キーエンス
受発注システム
1日前
日本精機株式会社
施工管理システム
1か月前
個人
SaaS型勤務調整支援システム
22日前
サクサ株式会社
中継装置
2か月前
キヤノン株式会社
表示システム
1日前
個人
人格進化型対話応答制御システム
22日前
サクサ株式会社
中継装置
22日前
続きを見る
他の特許を見る