TOP
|
特許
|
意匠
|
商標
特許ウォッチ
Twitter
他の特許を見る
10個以上の画像は省略されています。
公開番号
2025133128
公報種別
公開特許公報(A)
公開日
2025-09-11
出願番号
2024030872
出願日
2024-03-01
発明の名称
表示装置
出願人
株式会社ジャパンディスプレイ
代理人
弁理士法人筒井国際特許事務所
主分類
G09F
9/30 20060101AFI20250904BHJP(教育;暗号方法;表示;広告;シール)
要約
【課題】表示装置の性能を向上させる。
【解決手段】表示装置DSP1は、配線基板10と、配線基板10上に搭載された複数の発光素子20と、配線基板10を支持する光透過性の円形板30と、円形板30の中心30Cを回転軸として回転可能な状態で円形板30の周縁部を支持可能な支持台40と、円形板30を回転動作させることが可能な回転駆動部50と、複数の発光素子20のオン-オフ動作を制御可能な発光制御回路C1と、複数の発光素子20のそれぞれに電力を供給可能な電力供給回路C2と、を有している。
【選択図】図1
特許請求の範囲
【請求項1】
配線基板と、
第1方向に沿って並ぶように前記配線基板上に搭載された複数の発光素子と、
前記配線基板を支持する光透過性の円形板と、
前記円形板の中心を回転軸として回転可能な状態で前記円形板の周縁部を支持可能な支持台と、
前記円形板を回転動作させることが可能な回転駆動部と、
前記複数の発光素子のオン-オフ動作を制御可能な発光制御回路と、
前記複数の発光素子のそれぞれに電力を供給可能な電力供給回路と、
を有する、表示装置。
続きを表示(約 1,300 文字)
【請求項2】
請求項1において、
前記円形板は、周縁部に複数のギア歯を備えたギアを含み、
前記回転駆動部は、
前記円形板の前記複数のギア歯とかみ合うことにより前記円形板の回転動作を駆動する駆動ギアと、
前記駆動ギアを回転動作させることが可能な駆動モータと、
を含み、
前記回転駆動部は、前記支持台内に収容されている、表示装置。
【請求項3】
請求項1において、
前記円形板の周縁部には、前記円形板の円周に沿って延びている配線が配置され、
前記配線は、前記複数の発光素子のそれぞれと電気的に接続され、
前記支持台には、回転動作中の前記円形板の前記配線に継続的に接触可能な接続端子が配置され、
前記電力供給回路は、前記接続端子、および前記配線を介して前記複数の発光素子に電力が供給可能である、表示装置。
【請求項4】
請求項3において、
前記配線基板には、前記複数の発光素子のそれぞれと電気的に接続された前記発光制御回路が配置され、
前記配線基板は、前記複数の発光素子のそれぞれと前記発光制御回路とを電気的に接続する複数の基板配線を有し、
前記電力供給回路は、前記接続端子、および前記配線を介して前記発光制御回路に電力を供給可能である、表示装置。
【請求項5】
請求項4において、
前記発光制御回路は、
前記複数の発光素子のオン状態およびオフ状態の切り替えを行うスイッチング回路と、
映像信号を外部から無線通信により受信する受信回路と、
前記映像信号およびクロック信号に基づいて前記複数の発光素子のそれぞれのスイッチングのタイミングを制御するタイミング制御回路と、
前記タイミング制御回路に伝送する前記クロック信号を生成するクロック信号生成回路と、
を含んでいる、表示装置。
【請求項6】
請求項3において、前記配線は、前記円形板の側面に形成されている、表示装置。
【請求項7】
請求項1において、
前記円形板は、前面、および前記前面の反対側の背面を備え、
前記円形板の前記前面または前記背面の周縁部には、前記円形板の円周に沿って延びている配線が配置され、
前記配線は、前記複数の発光素子のいずれかと電気的に接続され、
前記支持台には、回転動作中の前記円形板の前記配線に継続的に接触可能な接続端子が配置され、
前記発光制御回路は、前記支持台内に配置され、かつ、前記接続端子、および前記配線を介して前記複数の発光素子に制御信号が供給可能である、表示装置。
【請求項8】
請求項1において、
前記配線基板は、平面視において扇形または台形を成し、
前記配線基板が備える複数の辺のうち、前記円形板の中心に最も近い第1辺の長さは、前記円形板の中心から最も遠い第2辺の長さよりも短い、表示装置。
【請求項9】
請求項1において、前記配線基板は、光透過性を備える、表示装置。
発明の詳細な説明
【技術分野】
【0001】
本発明は、表示装置に関する。
続きを表示(約 1,500 文字)
【背景技術】
【0002】
特許文献1(特開2023-31638号公報)には、回転可能に支持された基板に、複数の発光素子が1列で配列された回転式表示装置が記載されている。
【先行技術文献】
【特許文献】
【0003】
特開2023-31638号公報
【発明の概要】
【発明が解決しようとする課題】
【0004】
回転式表示装置は、複数の発光素子が配列された基板が高速で回転することにより、文字や図形情報を表示することができる。また、細い帯状の基板を用いれば、文字や図形情報などの表示画像の背景が視認可能である。
【0005】
しかし、このような回転式表示装置には、改善の余地がある。例えば、特許文献1に記載されているように、基板の回転軸を支持する支持部材が回転軸の延長線上に設けられている場合、支持部材によって背景が阻害される。
【0006】
本発明の目的は、表示装置の性能を向上させる技術を提供することにある。
【課題を解決するための手段】
【0007】
一実施の形態に係る表示装置は、配線基板と、第1方向に沿って並ぶように前記配線基板上に搭載された複数の発光素子と、前記配線基板を支持する光透過性の円形板と、前記円形板の中心を回転軸として回転可能な状態で前記円形板の周縁部を支持可能な支持台と、前記円形板を回転動作させることが可能な回転駆動部と、前記複数の発光素子のオン-オフ動作を制御可能な発光制御回路と、前記複数の発光素子のそれぞれに電力を供給可能な電力供給回路と、を有している。
【図面の簡単な説明】
【0008】
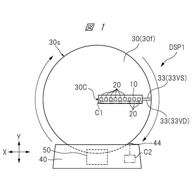
一実施形態である表示装置の構成例を示す平面図である。
図1に示す表示装置の円形板を回転させて画像を表示させた状態を示す平面図である。
図1に示す表示装置の側面図である。
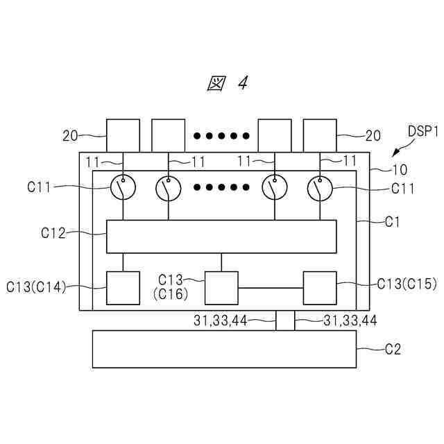
図1から図3に示す表示装置が備えている回路の構成例を示す説明図である。
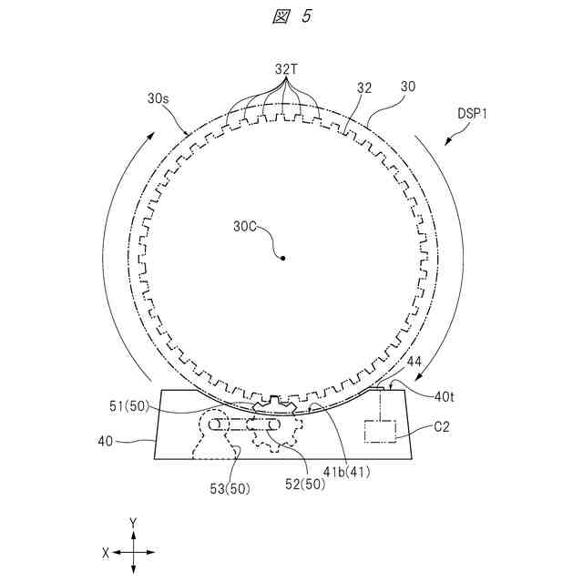
図1に示す円形板を回転させる構造の一例を示す説明図である。
図5に示す支持台の上面側の構造例を示す上面図である。
図1に対する変形例を示す平面図である。
図1に対する他の変形例を示す平面図である。
図1に対する他の変形例を示す平面図である。
図1に示す配線基板に対する変形例を示す断面図である。
【発明を実施するための形態】
【0009】
以下に、本発明の各実施の形態について、図面を参照しつつ説明する。なお、開示はあくまで一例にすぎず、当業者において、発明の主旨を保っての適宜変更について容易に想到し得るものについては、当然に本発明の範囲に含有されるものである。また、図面は説明をより明確にするため、実際の態様に比べ、各部の幅、厚さ、形状等について模式的に表される場合があるが、あくまで一例であって、本発明の解釈を限定するものではない。また、本明細書と各図において、既出の図に関して前述したものと同様の要素には、同一または関連する符号を付して、詳細な説明を適宜省略することがある。
【0010】
<表示装置>
まず、本実施の形態の表示装置である回転式表示装置の構成例について説明する。図1は、一実施形態である回転式表示装置の構成例を示す平面図である。図2は、図1に示す表示装置の円形板を回転させて画像を表示させた状態を示す平面図である。図3は、図1に示す表示装置の側面図である。図4は、図1から図3に示す表示装置が備えている回路の構成例を示す説明図である。
(【0011】以降は省略されています)
この特許をJ-PlatPat(特許庁公式サイト)で参照する
関連特許
個人
回転式カード学習具
1か月前
日本精機株式会社
表示装置
1か月前
日本精機株式会社
表示装置
3か月前
個人
時刻表示機能つき手帳
2か月前
日本精機株式会社
表示装置
11日前
個人
計算用教具
7日前
中国電力株式会社
標示旗
17日前
日本精機株式会社
車両用表示装置
1か月前
日本精機株式会社
車両用表示装置
1か月前
日本精機株式会社
車両用表示装置
1か月前
個人
モデルで薔薇の花嫁様を描く為
28日前
日本精機株式会社
車両用センサ装置
7日前
トヨタ自動車株式会社
評価方法
2か月前
シャープ株式会社
表示装置
18日前
シャープ株式会社
表示装置
3か月前
株式会社一弘社
情報表示板
1か月前
個人
口唇閉鎖の訓練具
2か月前
個人
音楽教材
1か月前
株式会社ウメラボ
学習支援システム
3日前
パイオニア株式会社
表示装置
3か月前
ニチレイマグネット株式会社
磁着式電飾装置
17日前
株式会社半導体エネルギー研究所
半導体装置
2か月前
株式会社リコー
画像投射システム
18日前
株式会社ノジマ
応対体験システム
2か月前
株式会社バンダイ
情報処理装置およびプログラム
2か月前
学校法人関西医科大学
腹腔鏡手術訓練装置
17日前
個人
サインポスト
2か月前
シチズンファインデバイス株式会社
液晶表示装置
26日前
BEST株式会社
吊り下げ表示部材
1か月前
シチズンファインデバイス株式会社
液晶表示装置
1か月前
株式会社サンゲツ
見本帳
1か月前
朝日インテック株式会社
心臓モデル装置
3か月前
厦門天馬顕示科技有限公司
走査回路
3か月前
個人
ピアノの指トレーニング器具及び練習方法
2か月前
シャープ株式会社
表示装置
1か月前
シャープ株式会社
表示装置
1か月前
続きを見る
他の特許を見る