TOP
|
特許
|
意匠
|
商標
特許ウォッチ
Twitter
他の特許を見る
10個以上の画像は省略されています。
公開番号
2025134359
公報種別
公開特許公報(A)
公開日
2025-09-17
出願番号
2024032211
出願日
2024-03-04
発明の名称
半導体装置及び製造方法
出願人
株式会社東芝
,
東芝デバイス&ストレージ株式会社
代理人
個人
主分類
H10D
30/66 20250101AFI20250909BHJP()
要約
【課題】電流制御を最適化して電気特性を向上することができる半導体装置を提供することである。
【解決手段】実施形態の半導体装置は、半導体基板と、前記半導体基板の上に設けられた層間絶縁膜と、前記層間絶縁膜の上に設けられた第1電極と、前記半導体基板の下に設けられた第2電極と、前記半導体基板の厚さの方向である第1方向において前記層間絶縁膜から前記半導体基板に達し、前記第1方向に交差する第2方向に複数設けられ、前記第1方向及び前記第2方向に交差する第3方向に延在するゲート領域と、前記第2方向で前記ゲート領域の間に、前記第3方向にそれぞれ離間して複数設けられ、前記第1電極と前記半導体基板を電気的に接続するプラグと、を有する。
【選択図】 図1B
特許請求の範囲
【請求項1】
半導体基板と、
前記半導体基板の上に設けられた層間絶縁膜と、
前記層間絶縁膜の上に設けられた第1電極と、
前記半導体基板の下に設けられた第2電極と、
前記半導体基板の厚さの方向である第1方向において前記層間絶縁膜から前記半導体基板に達し、前記第1方向に交差する第2方向に複数設けられ、前記第1方向及び前記第2方向に交差する第3方向に延在するゲート領域と、
前記第2方向において前記ゲート領域の間に位置し、前記第3方向にそれぞれ離間して複数設けられ、前記第1電極と前記半導体基板を電気的に接続するプラグと、
を有する半導体装置。
続きを表示(約 1,000 文字)
【請求項2】
前記プラグの、前記第2方向と前記第3方向を含む平面における形状は、長方形である、
請求項1に記載の半導体装置。
【請求項3】
前記プラグの形状である長方形の長辺は、前記第2方向に沿って伸びる、
請求項2に記載の半導体装置。
【請求項4】
前記半導体基板は、
第1導電形の第1半導体領域と、
前記第1半導体領域の上に設けられた第2導電形の第2半導体領域と、
前記第2半導体領域の上に選択的に設けられた第1導電形の第3半導体領域と、
前記第2電極と前記第1半導体領域の間に設けられた第2導電形の第4半導体領域と、
を有し、
前記ゲート領域は、
前記ゲート領域に埋め込まれたゲート電極と、
前記ゲート電極を被覆するゲート絶縁膜と、
を有する、
請求項3に記載の半導体装置。
【請求項5】
前記第3半導体領域は、前記第3方向に複数設けられる前記ゲート領域の間に、前記第2方向に離間して複数設けられる、
請求項4に記載の半導体装置。
【請求項6】
前記第2方向に離間して設けられた前記第3半導体領域の間に、前記第2半導体領域と接する前記プラグが少なくとも一つ設けられた、
請求項5に記載の半導体装置。
【請求項7】
複数設けられる前記プラグのうち、少なくとも一部において、前記第3方向に隣り合う前記プラグが前記第3半導体領域と接する、
請求項6に記載の半導体装置。
【請求項8】
複数設けられる前記プラグのうち、少なくとも一部において、前記第3方向に隣り合う前記プラグが前記第3方向に離間した前記第3半導体領域の間に位置する、
請求項6に記載の半導体装置。
【請求項9】
前記第3半導体領域の一部は前記ゲート領域の間で前記第2方向の一方向に偏在し、また、一部は前記第2方向で反対の方向に偏在し、
前記第3方向に複数設けられた前記プラグは、前記第3半導体領域が前記第2方向で偏在している方向と同じ方向にそれぞれ偏在して配置される、
請求項5に記載の半導体装置。
【請求項10】
前記プラグの前記第1方向の深さDと前記プラグの前記第2方向における長さL1は、0<D/L1≦2を満たす、
請求項1乃至9のいずれか1項に記載の半導体装置。
(【請求項11】以降は省略されています)
発明の詳細な説明
【技術分野】
【0001】
本発明の実施形態は、半導体装置及び製造方法に関する。
続きを表示(約 1,900 文字)
【背景技術】
【0002】
絶縁膜を介して対向する電極と半導体基板とを電気的に接続するためにプラグを形成する構造が知られている。プラグは、エッチング等によって掘削された開口部に、例えばW(タングステン)を埋め込むことで形成される。
【先行技術文献】
【特許文献】
【0003】
特開2020-198425号公報
【発明の概要】
【発明が解決しようとする課題】
【0004】
本発明が解決しようとする課題は、電流制御を最適化して電気特性を向上することができる半導体装置を提供することである。
【課題を解決するための手段】
【0005】
実施形態の半導体装置は、半導体基板と、前記半導体基板の上に設けられた層間絶縁膜と、前記層間絶縁膜の上に設けられた第1電極と、前記半導体基板の下に設けられた第2電極と、前記半導体基板の厚さの方向である第1方向において前記層間絶縁膜から前記半導体基板に達し、前記第1方向に交差する第2方向に複数設けられ、前記第1方向及び前記第2方向に交差する第3方向に延在するゲート領域と、前記第2方向で前記ゲート領域の間に、前記第3方向にそれぞれ離間して複数設けられ、前記第1電極と前記半導体基板を電気的に接続するプラグと、を有する。
【0006】
実施形態の半導体装置の製造方法は、層間絶縁膜を半導体基板の上に形成する工程と、ゲート領域が延在する方向にそれぞれ離間して複数形成され、前記層間絶縁膜を貫通し前記半導体基板に達する開口部を形成する工程と、前記層間絶縁膜の上、及び、前記開口部にタングステン膜を形成する工程と、前記タングステン膜を部分的に除去し、プラグを形成する工程と、前記層間絶縁膜及び前記プラグの上に第1電極を形成する工程と、を備える。
【図面の簡単な説明】
【0007】
第1実施形態に係る半導体装置を示す平面図である。
図1Aの領域aを示す拡大平面図である。
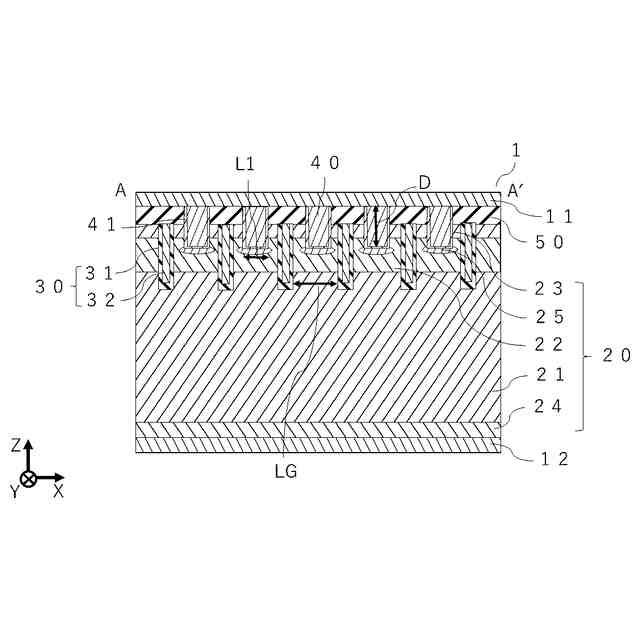
図1BのA―A′断面を示す断面図である。
図1BのB-B′断面を示す拡大断面図である。
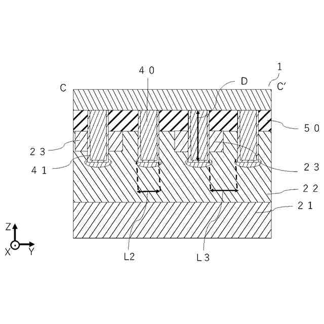
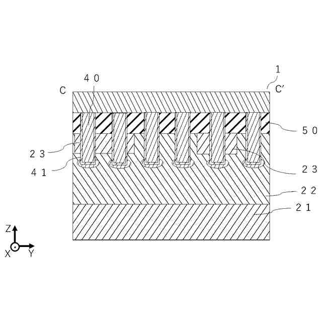
図1BのC―C′断面を示す拡大断面図である。
図1BのC―C′断面を示す拡大断面図の別の例である。
第1実施形態に係る半導体装置の第1変形例を示す拡大平面図である。
第1参考例に係る半導体装置を示す拡大平面図である。
図4のD―D′断面を示す断面図である。
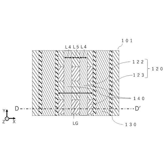
第2参考例に係る半導体装置を示す拡大平面図である。
第2実施形態に係る半導体装置を示す拡大平面図である。
図7のE―E′断面を示す断面図である。
図7のF―F′断面を示す断面図である。
第3実施形態に係る半導体装置を示す拡大平面図である。
図9のG―G′断面を示す断面図である。
第1実施形態に係る半導体装置の製造方法のうち、層間絶縁膜を設ける工程を示す、図1のA―A′断面に対応した断面図である。
第1実施形態に係る半導体装置の製造方法のうち、レジストを設ける工程を示す、図1のA―A′断面に対応した断面図である。
第1実施形態に係る半導体装置の製造方法のうち、開口部を設ける工程を示す、図1のA―A′断面に対応した断面図である。
第1実施形態に係る半導体装置の製造方法のうち、タングステン膜を形成する工程を示す、図1のA―A′断面に対応した断面図である。
第1実施形態に係る半導体装置の製造方法のうち、タングステン膜をエッチバックする工程を示す、図1のA―A′断面に対応した断面図である。
第1実施形態に係る半導体装置の製造方法のうち、第1電極を設ける工程を示す、図1のA―A′断面に対応した断面図である。
【発明を実施するための形態】
【0008】
以下に、本発明の各実施の形態について図面を参照しつつ説明する。
【0009】
なお、図面は模式的または概念的なものであり、各部分の厚みと幅との関係、部分間の大きさの比率などは、必ずしも現実のものと同一とは限らない。また、同じ部分を表す場合であっても、図面により互いの寸法や比率が異なって表される場合もある。
【0010】
なお、本願明細書と各図において、既出の図に関して前述したものと同様の要素には同一の符号を付して詳細な説明は適宜省略する。
(【0011】以降は省略されています)
この特許をJ-PlatPat(特許庁公式サイト)で参照する
関連特許
株式会社東芝
センサ
2か月前
株式会社東芝
固定子
1か月前
株式会社東芝
モータ
9日前
株式会社東芝
センサ
14日前
株式会社東芝
センサ
1か月前
株式会社東芝
センサ
14日前
株式会社東芝
吸音装置
9日前
株式会社東芝
電子装置
8日前
株式会社東芝
金型構造
14日前
株式会社東芝
回路素子
2か月前
株式会社東芝
ドア構造
1か月前
株式会社東芝
粒子加速器
8日前
株式会社東芝
半導体装置
11日前
株式会社東芝
半導体装置
11日前
株式会社東芝
半導体装置
11日前
株式会社東芝
半導体装置
11日前
株式会社東芝
ラック装置
1か月前
株式会社東芝
電動送風機
1か月前
株式会社東芝
半導体装置
11日前
株式会社東芝
半導体装置
11日前
株式会社東芝
半導体装置
11日前
株式会社東芝
半導体装置
21日前
株式会社東芝
半導体装置
23日前
株式会社東芝
X線厚み計
2か月前
株式会社東芝
ディスク装置
11日前
株式会社東芝
差動伝送回路
1か月前
株式会社東芝
音響制御装置
7日前
株式会社東芝
異常検出装置
1か月前
株式会社東芝
ディスク装置
1か月前
株式会社東芝
アイソレータ
1か月前
株式会社東芝
計測システム
1か月前
株式会社東芝
開発支援装置
1か月前
株式会社東芝
ディスク装置
11日前
株式会社東芝
ディスク装置
1か月前
株式会社東芝
ディスク装置
1か月前
株式会社東芝
電子デバイス
9日前
続きを見る
他の特許を見る