TOP
|
特許
|
意匠
|
商標
特許ウォッチ
Twitter
他の特許を見る
10個以上の画像は省略されています。
公開番号
2025123502
公報種別
公開特許公報(A)
公開日
2025-08-22
出願番号
2025105778,2021030312
出願日
2025-06-23,2021-02-26
発明の名称
照明装置、モジュールおよび時計
出願人
カシオ計算機株式会社
代理人
個人
,
個人
主分類
G04B
19/30 20060101AFI20250815BHJP(時計)
要約
【課題】 多様性に優れた照明装置、それを備えたモジュール、およびそれらを備えた時計を提供する。
【解決手段】 ハウジング10の上面に設けられた被照明体である文字板8を照明する発光部33、およびハウジング10の下側から発光部33に亘って設けられ、発光部33を支持する接続部である一対の支持脚34を有する発光部材31と、一対の支持脚34を保持して文字板8の外周における所定箇所に発光部33の設置状態を調整してハウジング10から独立した状態で配置される取付調整部材32と、を備えている。従って、発光部材31を保持する取付調整部材32を文字板8の外周におけるハウジング10の所定箇所に独立して配置させることにより、取付調整部材32によって発光部33の設置状態を調整して、ハウジング10に対して発光部33を最適な状態で設置することができるので、多様性に優れたものを提供することができる。
【選択図】 図9
特許請求の範囲
【請求項1】
ハウジングの上面に設けられた被照明体を照明する発光部、および前記ハウジングの下側から前記発光部に亘って設けられ、前記発光部を支持する接続部を有する発光部材と、
前記接続部を保持して、前記被照明体の外周における所定箇所において、前記ハウジングから独立した状態で配置されている取付調整部材と、
前記被照明体の外周に設置されて前記被照明体を保持する設置部材と、
を備え、
前記取付調整部材は、前記設置部材に設けられた取付収納部内に別部品として配置されている
ことを特徴とする照明装置。
続きを表示(約 890 文字)
【請求項2】
ハウジングの上面に設けられた被照明体を照明する発光部、および前記ハウジングの下側から前記発光部に亘って設けられ、前記発光部を支持する接続部を有する発光部材と、
前記接続部を保持して、前記被照明体の外周における所定箇所において、前記ハウジングから独立した状態で配置されている取付調整部材と、
を備え、
前記取付調整部材には、前記接続部である一対の支持脚が挿入する一対の取付孔が貫通して設けられており、
前記一対の支持脚は、前記一対の取付孔を貫通して前記発光部と反対側に突出し、これら突出した各端部が折り曲げられて、折曲部がそれぞれ設けられている
ことを特徴とする照明装置。
【請求項3】
請求項1又は2に記載の照明装置において、
前記接続部は、前記発光部に電気的に接続される一対の支持脚である
ことを特徴とする照明装置。
【請求項4】
請求項1~請求項3のいずれかに記載の照明装置において、
前記発光部材は、前記接続部である一対の支持脚が前記被照明体の下側に配置された回路基板と電気的に接続される
ことを特徴とする照明装置。
【請求項5】
請求項2に記載の照明装置において、
前記被照明体の外周に設置されて前記被照明体を保持する設置部材を更に備え、
前記一対の支持脚の前記折曲部は、前記設置部材に応じて折曲位置が設定されて回路基板と電気的に接続される
ことを特徴とする照明装置。
【請求項6】
請求項1~請求項5のいずれかに記載の照明装置において、
前記取付調整部材は、前記発光部を前記被照明体よりも上側に保持する
ことを特徴とする照明装置。
【請求項7】
請求項1~請求項6のいずれかに記載された照明装置を備えていることを特徴とするモジュール。
【請求項8】
請求項1~請求項7のいずれかに記載された照明装置を備えていることを特徴とする時計。
発明の詳細な説明
【技術分野】
【0001】
この発明は、腕時計、携帯電話、携帯情報端末などの電子機器に用いられる照明装置、それを備えたモジュール、およびそれらを備えた時計に関する。
続きを表示(約 2,000 文字)
【背景技術】
【0002】
例えば、腕時計においては、特許文献1に記載されているように、文字板の下面に回路基板を配置し、この回路基板の外周部に発光ダイオードなどの発光部を設け、この発光部によって文字板を照明するように構成されたものが知られている。
【先行技術文献】
【特許文献】
【0003】
特開2007-155595号公報
【発明の概要】
【発明が解決しようとする課題】
【0004】
このような腕時計では、文字板の下面に配置された回路基板に発光部を直接設けた構造であるから、腕時計の機種によって、例えば文字板と回路基板との間にソーラーパネルなどの他の部材が配置されると、文字板に対して発光部の高さが低くなり、発光部が文字板の下側に配置されてしまい、文字板を良好に照明することができない。
【0005】
このため、このような腕時計では、発光部で文字板を照明するために、発光部の上方に位置する見切り部に反射面を設け、この反射面で発光部の光を文字板の上面に向けて反射させる構造など、機種ごとに異なる特殊な構造を採用しなければならないため、多様性に欠けるという問題がある。
【0006】
この発明が解決しようとする課題は、多様性に優れた照明装置、それを備えたモジュール、およびそれらを備えた時計を提供することである。
【課題を解決するための手段】
【0007】
上記課題を解決するため、本発明の第1態様に係る照明装置は、
ハウジングの上面に設けられた被照明体を照明する発光部、および前記ハウジングの下側から前記発光部に亘って設けられ、前記発光部を支持する接続部を有する発光部材と、
前記接続部を保持して、前記被照明体の外周における所定箇所において、前記ハウジングから独立した状態で配置されている取付調整部材と、
前記被照明体の外周に設置されて前記被照明体を保持する設置部材と、
を備え、
前記取付調整部材は、前記設置部材に設けられた取付収納部内に別部品として配置されている。
上記課題を解決するため、本発明の第2態様に係る照明装置は、
ハウジングの上面に設けられた被照明体を照明する発光部、および前記ハウジングの下側から前記発光部に亘って設けられ、前記発光部を支持する接続部を有する発光部材と、
前記接続部を保持して、前記被照明体の外周における所定箇所において、前記ハウジングから独立した状態で配置されている取付調整部材と、
を備え、
前記取付調整部材には、前記接続部である一対の支持脚が挿入する一対の取付孔が貫通して設けられており、
前記一対の支持脚は、前記一対の取付孔を貫通して前記発光部と反対側に突出し、これら突出した各端部が折り曲げられて、折曲部がそれぞれ設けられている。
【発明の効果】
【0008】
この発明によれば、多様性に優れたものを提供することができる。
【図面の簡単な説明】
【0009】
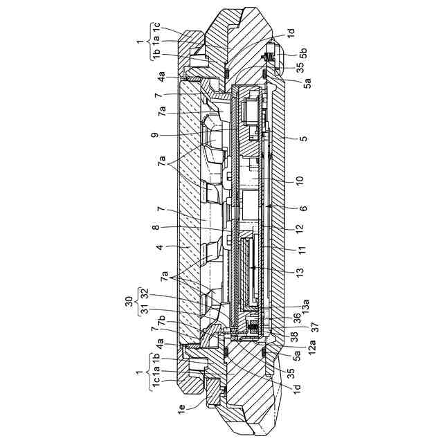
この発明を適用した腕時計の一実施形態を示した拡大正面図である。
図1に示された腕時計のA-A矢視における拡大断面図である。
図2に示された時計モジュールを示した拡大斜視図である。
図3に示された時計モジュールの拡大裏面図である。
図4に示された時計モジュールにおいて、押え板と回路基板とを取り外した状態を示した拡大裏面図である。
図5に示された時計モジュールの電池収納部において、ハウジングに回路基板を配置させて電極端子を傾けた状態を示した要部の拡大斜視図である。
図6に示された電池収納部の電極端子を示した拡大斜視図である。
図6に示された電池収納部内に電池を収納させて押え付ける前の状態の電池押え部を示した要部の拡大斜視図である。
図2に示された時計モジュールにおける照明装置を示した要部の拡大断面図である。
図9に示された照明装置の発光部材を示した拡大斜視図である。
【発明を実施するための形態】
【0010】
以下、図1~図10を参照して、この発明を腕時計に適用した一実施形態について説明する。
この腕時計は、図1に示すように、腕時計ケース1を備えている。この腕時計ケース1の6時側と12時側とには、時計バンド(図示せず)が取り付けられるバンド取付部2がそれぞれ設けられている。この腕時計ケース1の2時側、4時側、8時側、および10時側には、スイッチ部3がそれぞれ設けられている。
(【0011】以降は省略されています)
この特許をJ-PlatPat(特許庁公式サイト)で参照する
関連特許
カシオ計算機株式会社
支持台
1日前
カシオ計算機株式会社
減音器具
3日前
カシオ計算機株式会社
減音器具
3日前
カシオ計算機株式会社
電子鍵盤楽器
1日前
カシオ計算機株式会社
装飾板及び時計
2日前
カシオ計算機株式会社
光源装置及び投影装置
3日前
カシオ計算機株式会社
光源装置及び投影装置
3日前
カシオ計算機株式会社
端末装置及びプログラム
3日前
カシオ計算機株式会社
外装部品ユニット及び時計
1日前
カシオ計算機株式会社
カッターユニット及び切断装置
1日前
カシオ計算機株式会社
演奏装置、方法およびプログラム
2日前
カシオ計算機株式会社
補助バスマスタ回路及び電子機器
5日前
カシオ計算機株式会社
演奏装置、方法およびプログラム
3日前
カシオ計算機株式会社
ロボット、及びロボットの製造方法
1日前
カシオ計算機株式会社
外装部品、外装部品ユニット及び時計
1日前
カシオ計算機株式会社
情報処理装置、方法およびプログラム
1日前
カシオ計算機株式会社
制御装置、制御方法、及びプログラム
2日前
カシオ計算機株式会社
電子機器、登録処理方法及びプログラム
1日前
カシオ計算機株式会社
プログラム、電子機器及び登録処理方法
1日前
カシオ計算機株式会社
情報提供装置、情報提供方法及びプログラム
3日前
カシオ計算機株式会社
音声提供装置、音声提供方法及びプログラム
1日前
カシオ計算機株式会社
情報処理装置、プログラム及び情報処理方法
1日前
カシオ計算機株式会社
投影装置、投影装置の調整方法及びプログラム
2日前
カシオ計算機株式会社
印刷装置、印刷装置の制御方法及びプログラム
1日前
カシオ計算機株式会社
情報処理装置、表示制御方法、及びプログラム
1日前
カシオ計算機株式会社
電子楽器、電子楽器の制御方法及びプログラム
1日前
カシオ計算機株式会社
投影装置、投影装置の調整方法及びプログラム
2日前
カシオ計算機株式会社
情報処理装置、電子楽器、方法およびプログラム
2日前
カシオ計算機株式会社
画像処理装置、プログラム、及び、画像処理方法
1日前
カシオ計算機株式会社
情報処理装置、表示制御方法、及び、プログラム
1日前
カシオ計算機株式会社
機器の制御装置、機器の制御方法及びプログラム
1日前
カシオ計算機株式会社
情報処理装置、表示制御方法、及び、プログラム
3日前
カシオ計算機株式会社
入力文作成装置、入力文作成方法及びプログラム
1日前
カシオ計算機株式会社
電子機器、認証システム、制御方法及びプログラム
1日前
カシオ計算機株式会社
電子機器、心理的状態変動評価方法及びプログラム
1日前
カシオ計算機株式会社
通信方法、通信システム、電子機器及びプログラム
1日前
続きを見る
他の特許を見る