TOP
|
特許
|
意匠
|
商標
特許ウォッチ
Twitter
他の特許を見る
公開番号
2025135545
公報種別
公開特許公報(A)
公開日
2025-09-18
出願番号
2024201531
出願日
2024-11-19
発明の名称
加工装置およびウェーハの加工方法
出願人
株式会社ディスコ
代理人
弁理士法人東京アルパ特許事務所
主分類
H01L
21/67 20060101AFI20250910BHJP(基本的電気素子)
要約
【課題】テーブルにおけるウェーハの有無を良好に検知する。
【解決手段】圧力センサ487の測定値が所定の閾値以下にならずに連続加工が一時停止したときに、ロボットハンド151のウェーハ有無センサ153によって、保持面82におけるウェーハ100の有無を検知する。これにより、保持面82におけるウェーハの有無を明確に検知することができる。したがって、たとえば、保持面82に不適格なウェーハ100が載置されたままになっているにも関わらず、連続加工が再開されて、このウェーハ100に次のウェーハ100が重ねて配置されてウェーハ100が破損してしまうことを、良好に防止することが可能となる。また、保持面82におけるウェーハ100の有無を、作業者が目視によって検知する必要がない。このため、作業効率を高めることができる。
【選択図】図2
特許請求の範囲
【請求項1】
カセットを載置するためのカセットステージと、
ウェーハを吸引保持するチャックテーブルと、
該チャックテーブルに保持されたウェーハを加工する加工ユニットと、
洗浄されるウェーハを吸引保持するスピンナテーブルと、
該カセットステージに載置された該カセットに対してウェーハを搬出または搬入するためにウェーハを保持するロボットハンドを有するロボットと、を備える加工装置であって、
該ロボットハンドは、ウェーハの有無を検知するウェーハ有無センサを備え、
該ロボットハンドの該ウェーハ有無センサを使って該スピンナテーブルにウェーハが有るか無いかを検知する制御部をさらに備える、
加工装置。
続きを表示(約 1,500 文字)
【請求項2】
該制御部は、該スピンナテーブルと、該スピンナテーブルの上方に配置された該ロボットハンドとを相対的に水平移動させながら、該ロボットハンドの該ウェーハ有無センサを使って、該スピンナテーブルにウェーハが有るか無いかを検知する、
請求項1に記載の加工装置。
【請求項3】
カセットを載置するためのカセットステージと、
ウェーハを吸引保持するチャックテーブルと、
該チャックテーブルに保持されたウェーハを加工する加工ユニットと、
該チャックテーブルに保持させるウェーハの位置決めをするための位置決めテーブルと、
該カセットステージに載置された該カセットに対してウェーハを搬出または搬入するためにウェーハを保持するロボットハンドを有するロボットと、を備える加工装置であって、
該ロボットハンドは、ウェーハの有無を検知するウェーハ有無センサを備え、
該ロボットハンドの該ウェーハ有無センサを使って該位置決めテーブルにウェーハが有るか無いかを検知する制御部をさらに備える、
加工装置。
【請求項4】
該制御部は、該位置決めテーブルと、該位置決めテーブルの上方に配置された該ロボットハンドとを相対的に水平移動させながら、該ロボットハンドの該ウェーハ有無センサを使って、該位置決めテーブルにウェーハが有るか無いかを検知する、
請求項3に記載の加工装置。
【請求項5】
請求項1記載の加工装置を用いてウェーハを加工するウェーハの加工方法であって、
該チャックテーブルにウェーハを保持させる保持工程と、
該ウェーハを該加工ユニットによって加工する加工工程と、
該加工後のウェーハを該スピンナテーブルに保持させ該ウェーハを洗浄する洗浄工程と、
所定のタイミングで該洗浄工程の前に実施される、該ロボットハンドの該ウェーハ有無センサを使って該スピンナテーブルにウェーハが有るか無いかを検知するウェーハ検知工程と、を含み、
該ウェーハ検知工程にて該スピンナテーブルにウェーハが無いことが検知された場合に、該洗浄工程が実施される一方、
該ウェーハ検知工程にて該スピンナテーブルにウェーハが有ることが検知された場合に、該加工装置の通知部によってウェーハが該スピンナテーブルにあることを作業者に通知する通知工程が実施される、
ウェーハの加工方法。
【請求項6】
請求項3記載の加工装置を用いてウェーハを加工するウェーハの加工方法であって、
該カセットからウェーハを取り出して該位置決めテーブルに保持させ該ウェーハの位置決めを実施する位置決め工程と、
該位置決め工程が実施された該ウェーハを該チャックテーブルに保持させる保持工程と、
該ウェーハを該加工ユニットによって加工する加工工程と、
所定のタイミングで該位置決め工程の前に実施される、該ロボットハンドの該ウェーハ有無センサを使って該位置決めテーブルにウェーハが有るか無いかを検知するウェーハ検知工程と、を含み、
該ウェーハ検知工程にて該位置決めテーブルにウェーハが無いことが検知された場合に該位置決め工程が実施される一方、
該ウェーハ検知工程にて該位置決めテーブルにウェーハが有ることが検知された場合に、該加工装置の通知部によってウェーハが該位置決めテーブルにあることを作業者に通知する通知工程が実施される、
ウェーハの加工方法。
発明の詳細な説明
【技術分野】
【0001】
本発明は、加工装置およびウェーハの加工方法に関する。
続きを表示(約 1,600 文字)
【背景技術】
【0002】
特許文献1および2に開示のように、ウェーハを研削する研削装置のような加工装置では、カセットステージに載置されたウェーハをチャックテーブルに搬送して、チャックテーブルに保持されたウェーハを砥石で研削加工する。その後、チャックテーブルからスピンナ洗浄ユニットのスピンナテーブルにウェーハを搬送して、スピンナテーブルでウェーハを洗浄してから、ウェーハをカセットに収納している。
【先行技術文献】
【特許文献】
【0003】
特開2021-126744号公報
特開2021-132180号公報
【発明の概要】
【発明が解決しようとする課題】
【0004】
スピンナテーブルでウェーハを保持して洗浄する際、ウェーハが反っていると、加工装置は、スピンナテーブルにウェーハが保持されていないと認識して、洗浄動作を停止することがある。すなわち、実際にはスピンナテーブルにウェーハがあるにも関わらず、加工装置が、スピンナテーブルにウェーハが無いと認識してしまうことがある。
【0005】
この状態で連続加工が継続された場合、スピンナテーブルにあるウェーハの上に、次のウェーハが重ねて載置されることになり、スピンナ洗浄ユニットでの洗浄中に、重なっていたウェーハが離れて破損することがある。
【0006】
したがって、本発明の目的は、スピンナテーブルのようなテーブルにおけるウェーハの有無を良好に検知することにある。
【課題を解決するための手段】
【0007】
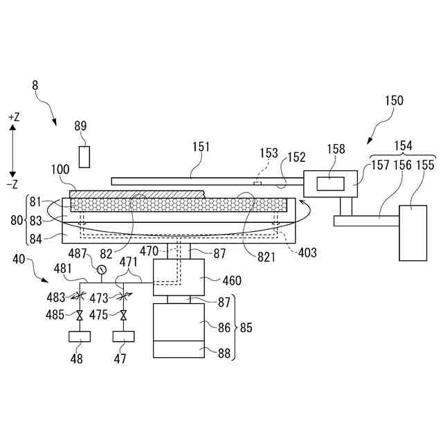
本発明の第1の加工装置は、カセットを載置するためのカセットステージと、ウェーハを吸引保持するチャックテーブルと、該チャックテーブルに保持されたウェーハを加工する加工ユニットと、洗浄されるウェーハを吸引保持するスピンナテーブルと、該カセットステージに載置された該カセットに対してウェーハを搬出または搬入するためにウェーハを保持するロボットハンドを有するロボットと、を備える加工装置であって、該ロボットハンドは、ウェーハの有無を検知するウェーハ有無センサを備え、該ロボットハンドの該ウェーハ有無センサを使って該スピンナテーブルにウェーハが有るか無いかを検知する制御部をさらに備える。
【0008】
第1の加工装置では、該制御部は、該スピンナテーブルと、該スピンナテーブルの上方に配置された該ロボットハンドとを相対的に水平移動させながら、該ロボットハンドの該ウェーハ有無センサを使って、該スピンナテーブルにウェーハが有るか無いかを検知してもよい。
【0009】
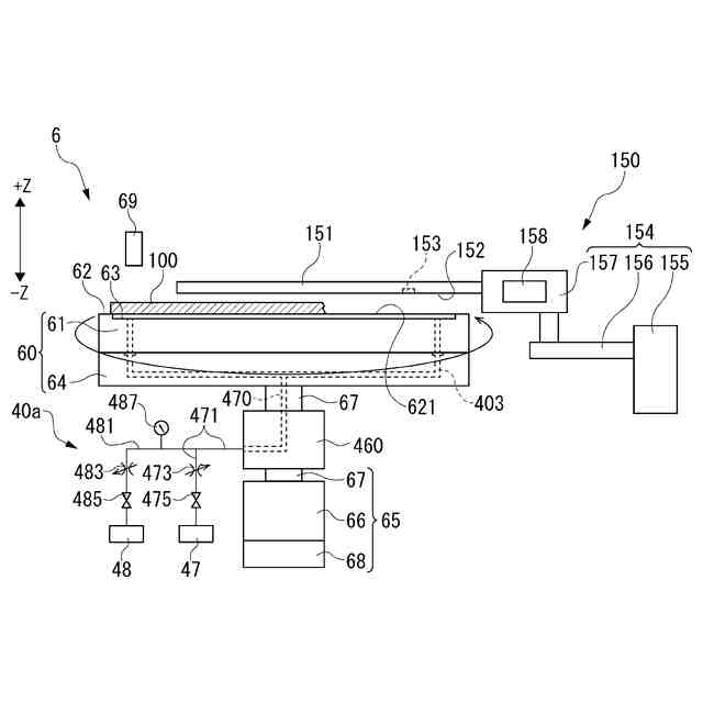
本発明の第2の加工装置は、カセットを載置するためのカセットステージと、ウェーハを吸引保持するチャックテーブルと、該チャックテーブルに保持されたウェーハを加工する加工ユニットと、該チャックテーブルに保持させるウェーハの位置決めをするための位置決めテーブルと、該カセットステージに載置された該カセットに対してウェーハを搬出または搬入するためにウェーハを保持するロボットハンドを有するロボットと、を備える加工装置であって、該ロボットハンドは、ウェーハの有無を検知するウェーハ有無センサを備え、該ロボットハンドの該ウェーハ有無センサを使って該位置決めテーブルにウェーハが有るか無いかを検知する制御部をさらに備える。
【0010】
第2の加工装置では、該制御部は、該位置決めテーブルと、該位置決めテーブルの上方に配置された該ロボットハンドとを相対的に水平移動させながら、該ロボットハンドの該ウェーハ有無センサを使って、該位置決めテーブルにウェーハが有るか無いかを検知してもよい。
(【0011】以降は省略されています)
この特許をJ-PlatPat(特許庁公式サイト)で参照する
関連特許
株式会社ディスコ
ノズル
13日前
株式会社ディスコ
加工装置
13日前
株式会社ディスコ
研削装置
29日前
株式会社ディスコ
加工装置
15日前
株式会社ディスコ
加工装置
22日前
株式会社ディスコ
加工装置
1か月前
株式会社ディスコ
加工方法
14日前
株式会社ディスコ
診断方法
3日前
株式会社ディスコ
フレーム
13日前
株式会社ディスコ
切削装置
13日前
株式会社ディスコ
研磨装置
今日
株式会社ディスコ
切削装置
6日前
株式会社ディスコ
加工装置
1か月前
株式会社ディスコ
加工装置
1か月前
株式会社ディスコ
薬液管理方法
1か月前
株式会社ディスコ
シート貼着装置
14日前
株式会社ディスコ
加工水供給装置
6日前
株式会社ディスコ
ノズルユニット
3日前
株式会社ディスコ
接合強度検査方法
23日前
株式会社ディスコ
チャックテーブル
23日前
株式会社ディスコ
液体供給システム
13日前
株式会社ディスコ
ドレッシング方法
1か月前
株式会社ディスコ
切削ブレード治具
3日前
株式会社ディスコ
ドレッシング方法
27日前
株式会社ディスコ
ウェーハの製造方法
21日前
株式会社ディスコ
洗浄液供給システム
23日前
株式会社ディスコ
被加工物の加工方法
21日前
株式会社ディスコ
被加工物の加工方法
13日前
株式会社ディスコ
ウエーハの加工方法
24日前
株式会社ディスコ
ウエーハの加工装置
1か月前
株式会社ディスコ
砥石及び研削ホイール
1か月前
株式会社ディスコ
加工装置及び加工方法
1か月前
株式会社ディスコ
洗浄装置及び洗浄方法
27日前
株式会社ディスコ
測定方法及び測定治具
29日前
株式会社ディスコ
切削方法及び切削装置
21日前
株式会社ディスコ
洗浄装置及び洗浄方法
今日
続きを見る
他の特許を見る