TOP
|
特許
|
意匠
|
商標
特許ウォッチ
Twitter
他の特許を見る
10個以上の画像は省略されています。
公開番号
2025136691
公報種別
公開特許公報(A)
公開日
2025-09-19
出願番号
2024035460
出願日
2024-03-08
発明の名称
メモリシステムおよび制御方法
出願人
キオクシア株式会社
代理人
弁理士法人酒井国際特許事務所
主分類
G06F
11/10 20060101AFI20250911BHJP(計算;計数)
要約
【課題】より高精度に誤り訂正を実行する。
【解決手段】メモリシステムは、第1誤り訂正符号と第2誤り訂正符号とによる連接符号を記憶する不揮発性メモリと、メモリコントローラと、を備える。メモリコントローラは、不揮発性メモリから読み出した読出し情報に対する第1誤り訂正符号を用いた第1復号処理、または、読出し情報に誤りが含まれていないことを検査する検査処理が成功した場合に、第2誤り訂正符号のパリティである第1パリティを生成し、生成された第1パリティと、第2復号処理を実行後の第2誤り訂正符号のパリティである第2パリティと、を用いて、読出し情報に誤りが含まれているか否かを判定するための第1評価値を算出する。メモリコントローラは、第1評価値を用いて、読出し情報に誤りが含まれているか否かを判定する。
【選択図】図1
特許請求の範囲
【請求項1】
記憶するデータを用いて生成される第1誤り訂正符号と、前記第1誤り訂正符号を用いて生成される第2誤り訂正符号と、による連接符号を記憶する不揮発性メモリと、
前記不揮発性メモリから読出し情報を読み出し、
前記読出し情報に対して前記第2誤り訂正符号を用いた第2復号処理を実行し、
前記第2復号処理による復号が失敗した場合に、前記読出し情報に対して前記第1誤り訂正符号を用いた第1復号処理を実行し、
前記第1復号処理、または、前記第1誤り訂正符号を用いて前記読出し情報に誤りが含まれていないことを検査する検査処理が成功した場合に、前記第2誤り訂正符号のパリティである第1パリティを生成し、生成された前記第1パリティと、前記第2復号処理を実行後の前記第2誤り訂正符号のパリティである第2パリティと、を用いて、前記読出し情報に誤りが含まれているか否かを判定するための第1評価値を算出し、
前記第1評価値を用いて、前記読出し情報に誤りが含まれているか否かを判定する、
メモリコントローラと、
を備えるメモリシステム。
続きを表示(約 2,100 文字)
【請求項2】
前記第2誤り訂正符号は、符号を構成するシンボルのうち少なくとも1つのシンボルがN個(Nは2以上の整数)の成分符号群によってそれぞれ保護されているN次元の誤り訂正符号であり、
前記第2復号処理は、前記読出し情報に含まれるM個(1≦i≦N、niを第i次元の成分符号群に含まれる成分符号の個数として、Mはniの総和)の成分符号を復号し、
前記メモリコントローラは、
前記検査処理により前記読出し情報に誤りが含まれていないと判定された場合に、M個の前記成分符号それぞれに対して前記第1パリティを生成し、
生成されたM個の前記第1パリティと、前記第2復号処理を実行後のM個の前記成分符号の前記第2パリティと、を用いて、前記第1評価値を算出する、
請求項1に記載のメモリシステム。
【請求項3】
前記メモリコントローラは、
M個の前記成分符号ごとに前記第1パリティと前記第2パリティとのハミング距離を算出し、前記ハミング距離が第1閾値以上である前記成分符号の個数である前記第1評価値を算出する、
請求項2に記載のメモリシステム。
【請求項4】
前記メモリコントローラは、
M個の前記成分符号ごとに前記第1パリティと前記第2パリティとのハミング距離を算出し、算出されたM個の前記ハミング距離のうち、値が大きい順に予め定められた個数の前記ハミング距離の総和である前記第1評価値を算出する、
請求項2に記載のメモリシステム。
【請求項5】
前記メモリコントローラは、
M個の前記成分符号のうち、前記第1復号処理による訂正の対象となった1つ以上の前記成分符号それぞれについて、前記第1パリティと前記第2パリティとのハミング距離を算出し、算出した前記ハミング距離の統計値である前記第1評価値を算出する、
請求項2に記載のメモリシステム。
【請求項6】
前記統計値は、総和または平均値である、
請求項5に記載のメモリシステム。
【請求項7】
前記第2誤り訂正符号は、符号を構成するシンボルのうち少なくとも1つのシンボルがN個(Nは2以上の整数)の成分符号群によってそれぞれ保護されているN次元の誤り訂正符号であり、
前記第2復号処理は、前記読出し情報に含まれるM個(1≦i≦N、niを第i次元の成分符号群に含まれる成分符号の個数として、Mはniの総和)の成分符号を復号し、
前記メモリコントローラは、
前記第1誤り訂正符号と、前記第2復号処理によるM個の前記成分符号それぞれの訂正の信頼度に基づく第2評価値と、を用いて、前記検査処理を実行する、
請求項1に記載のメモリシステム。
【請求項8】
前記第2評価値は、
シンドロームが充足であり、かつ、前記信頼度が第2閾値以上である前記成分符号の個数、または、
前記信頼度が第2閾値以上である前記成分符号の個数、または、
前記信頼度の総和
である、
請求項7に記載のメモリシステム。
【請求項9】
前記第2誤り訂正符号は、符号を構成するシンボルのうち少なくとも1つのシンボルがN個(Nは2以上の整数)の成分符号群によってそれぞれ保護されているN次元の誤り訂正符号であり、
前記第2復号処理は、前記読出し情報に含まれるM個(1≦i≦N、niを第i次元の成分符号群に含まれる成分符号の個数として、Mはniの総和)の成分符号を復号し、
前記メモリコントローラは、
M個の前記成分符号それぞれを復号するごとに、前記検査処理を実行する、
請求項1に記載のメモリシステム。
【請求項10】
記憶するデータを用いて生成される第1誤り訂正符号と、前記第1誤り訂正符号を用いて生成される第2誤り訂正符号と、による連接符号を記憶する不揮発性メモリを制御するメモリコントローラによる制御方法であって、
前記不揮発性メモリから読出し情報を読み出し、
前記読出し情報に対して前記第2誤り訂正符号を用いた第2復号処理を実行し、
前記第2復号処理による復号が失敗した場合に、前記読出し情報に対して前記第1誤り訂正符号を用いた第1復号処理を実行し、
前記第1復号処理、または、前記第1誤り訂正符号を用いて前記読出し情報に誤りが含まれていないことを検査する検査処理が成功した場合に、前記第2誤り訂正符号のパリティである第1パリティを生成し、生成された前記第1パリティと、前記第2復号処理を実行後の前記第2誤り訂正符号のパリティである第2パリティと、を用いて、前記読出し情報に誤りが含まれているか否かを判定するための第1評価値を算出し、
前記第1評価値を用いて、前記読出し情報に誤りが含まれているか否かを判定する、
ことを含む制御方法。
発明の詳細な説明
【技術分野】
【0001】
本発明の実施形態は、メモリシステムおよび制御方法に関する。
続きを表示(約 1,900 文字)
【背景技術】
【0002】
メモリシステムでは、NAND型フラッシュメモリ等のメモリに記憶するデータを保護するために、誤り訂正符号化されたデータがメモリに記憶される。このため、メモリに記憶されたデータを読み出す際には、メモリから読み出された誤り訂正符号化されたデータ(受信語とも称される。)を復号して誤り訂正符号化される前のデータを復元する。
【先行技術文献】
【特許文献】
【0003】
米国特許出願公開第2019/0089384号明細書
米国特許出願公開第2019/0288711号明細書
米国特許出願公開第2017/0093438号明細書
【発明の概要】
【発明が解決しようとする課題】
【0004】
本発明の実施形態は、より高精度に誤り訂正(復号)を実行することができるメモリシステムおよび制御方法を提供することを目的とする。
【課題を解決するための手段】
【0005】
実施形態のメモリシステムは、第1誤り訂正符号と第2誤り訂正符号とによる連接符号を記憶する不揮発性メモリと、メモリコントローラと、を備える。メモリコントローラは、不揮発性メモリから読み出した読出し情報に対する第1誤り訂正符号を用いた第1復号処理、または、読出し情報に誤りが含まれていないことを検査する検査処理が成功した場合に、第2誤り訂正符号のパリティである第1パリティを生成し、生成された第1パリティと、第2復号処理を実行後の第2誤り訂正符号のパリティである第2パリティと、を用いて、読出し情報に誤りが含まれているか否かを判定するための第1評価値を算出する。メモリコントローラは、第1評価値を用いて、読出し情報に誤りが含まれているか否かを判定する。
【図面の簡単な説明】
【0006】
実施形態に係るメモリシステムのブロック図。
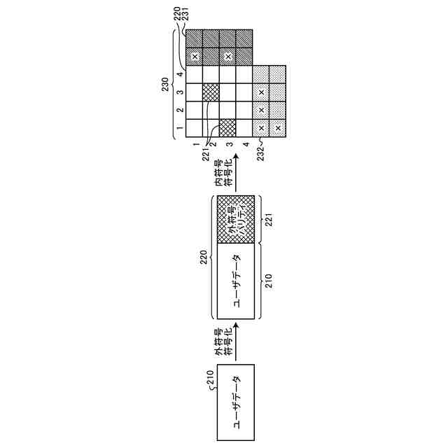
外符号および内符号の例について説明するための図。
第1の実施形態の復号器のブロック図。
第1の実施形態の復号処理のフローチャート。
第1の実施形態の判定処理のフローチャート。
外符号による復号処理に成功した例を示す図。
外符号による復号処理に失敗した例を示す図。
偽陽性と判定する例を説明するための図。
評価値を用いた判定処理の例を説明するための図。
評価値を用いた判定処理の例を説明するための図。
第2の実施形態の復号器のブロック図。
第2の実施形態の判定処理のフローチャート。
評価値を用いた判定処理の例を説明するための図。
第3の実施形態の復号器のブロック図。
第3の実施形態の検査処理のフローチャート。
第3の実施形態の検査処理の例を説明するための図。
【発明を実施するための形態】
【0007】
以下に添付図面を参照して、実施形態に係るメモリシステムを詳細に説明する。なお、以下の実施形態により本発明が限定されるものではない。
【0008】
(第1の実施形態)
図1は、第1の実施形態に係るメモリシステムの概略構成例を示すブロック図である。図1に示すように、メモリシステム1は、メモリコントローラ10と不揮発性メモリ20とを備える。メモリシステム1は、ホスト30と接続可能であり、図1ではホスト30と接続された状態が示されている。ホスト30は、例えば、パーソナルコンピュータ、携帯端末などの電子機器であってよい。
【0009】
不揮発性メモリ20は、データを不揮発に記憶する不揮発性メモリであり、例えば、NANDメモリである。以下の説明では、不揮発性メモリ20としてNANDメモリが用いられた場合を例示するが、不揮発性メモリ20として3次元構造フラッシュメモリ、ReRAM(Resistance Random Access Memory)、FeRAM(Ferroelectric Random Access Memory)等のNANDメモリ以外の記憶装置を用いることも可能である。また、不揮発性メモリ20が半導体メモリであることは必須ではなく、半導体メモリ以外の種々の記憶媒体に対して本実施形態を適用することも可能である。
【0010】
メモリシステム1は、メモリコントローラ10と不揮発性メモリ20とが1つのパッケージとして構成されるメモリカード等であってもよいし、SSD(Solid State Drive)等であってもよい。
(【0011】以降は省略されています)
この特許をJ-PlatPat(特許庁公式サイト)で参照する
関連特許
キオクシア株式会社
記憶装置
5日前
キオクシア株式会社
記憶装置
5日前
キオクシア株式会社
記憶装置
3日前
キオクシア株式会社
半導体装置
3日前
キオクシア株式会社
半導体装置
4日前
キオクシア株式会社
半導体装置
4日前
キオクシア株式会社
半導体装置
5日前
キオクシア株式会社
磁気記憶装置
7日前
キオクシア株式会社
磁気記憶装置
5日前
キオクシア株式会社
磁気記憶装置
4日前
キオクシア株式会社
通信システム
5日前
キオクシア株式会社
磁気記憶装置
5日前
キオクシア株式会社
基板ユニット
7日前
キオクシア株式会社
半導体記憶装置
5日前
キオクシア株式会社
半導体記憶装置
3日前
キオクシア株式会社
メモリデバイス
5日前
キオクシア株式会社
半導体記憶装置
5日前
キオクシア株式会社
半導体記憶装置
5日前
キオクシア株式会社
半導体記憶装置
7日前
キオクシア株式会社
半導体記憶装置
7日前
キオクシア株式会社
半導体記憶装置
4日前
キオクシア株式会社
半導体記憶装置
7日前
キオクシア株式会社
半導体記憶装置
4日前
キオクシア株式会社
半導体記憶装置
7日前
キオクシア株式会社
半導体記憶装置
3日前
キオクシア株式会社
半導体記憶装置
3日前
キオクシア株式会社
メモリシステム
4日前
キオクシア株式会社
半導体記憶装置
3日前
キオクシア株式会社
メモリシステム
3日前
キオクシア株式会社
半導体記憶装置
3日前
キオクシア株式会社
半導体記憶装置
3日前
キオクシア株式会社
半導体記憶装置
3日前
キオクシア株式会社
メモリデバイス
3日前
キオクシア株式会社
有機分子メモリ
3日前
キオクシア株式会社
半導体記憶装置
3日前
キオクシア株式会社
半導体記憶装置
3日前
続きを見る
他の特許を見る