TOP
|
特許
|
意匠
|
商標
特許ウォッチ
Twitter
他の特許を見る
公開番号
2025136741
公報種別
公開特許公報(A)
公開日
2025-09-19
出願番号
2024035557
出願日
2024-03-08
発明の名称
監視システムおよび監視システムの制御方法
出願人
株式会社国際電気
代理人
弁理士法人第一国際特許事務所
主分類
H04N
23/695 20230101AFI20250911BHJP(電気通信技術)
要約
【課題】映像に含まれる監視対象の大きさに基づいて所望のパン・チルトの速度を自動的に設定する技術を提供することを目的とする。
【解決手段】本発明の監視システムの一つは、撮像装置と、前記撮像装置を管理する管理サーバと、を備え、前記撮像装置は、パン・チルトを含む旋回制御が可能であり、前記管理サーバは、前記撮像装置が撮像した映像における監視対象の大きさに基づいて、前記撮像装置の旋回速度を設定する旋回速度算出部を含む。
【選択図】図1
特許請求の範囲
【請求項1】
撮像装置と、前記撮像装置を管理する管理サーバと、を備える監視システムにおいて、
前記撮像装置は、パン・チルトを含む旋回制御が可能であり、
前記管理サーバは、
前記撮像装置が撮像した映像における監視対象の大きさに基づいて、前記撮像装置の旋回速度を設定する旋回速度算出部を含む
ことを特徴とする監視システム。
続きを表示(約 1,100 文字)
【請求項2】
請求項1に記載の監視システムにおいて、
前記旋回速度算出部は、所定の周期で前記監視対象の大きさの変化を判定し、
前記監視対象の大きさが増大した場合には、前記旋回速度を遅く設定し、
前記監視対象の大きさが減少した場合には、前記旋回速度を早く設定する
ことを特徴とする監視システム。
【請求項3】
請求項2に記載の監視システムにおいて、
前記旋回速度算出部は、前記監視対象の大きさの変化が所定の範囲内である場合、前記旋回速度を変化させず設定する
ことを特徴とする監視システム。
【請求項4】
請求項2に記載の監視システムにおいて、
前記監視対象の大きさは、撮像した映像の表示画面における、前記監視対象の占めるピクセル数又は前記監視対象の占めるピクセル数の割合(以下、「画面占有率」という。)である
ことを特徴とする監視システム。
【請求項5】
請求項4に記載の監視システムにおいて、
前記監視対象の占めるピクセル数または、前記画面占有率に基づいて前記旋回速度を決定する旋回速度決定部と、を備える
ことを特徴とする監視システム。
【請求項6】
請求項5に記載の監視システムにおいて、
前記旋回速度決定部は、2段階ないし255段階に設定する旋回速度テーブルを備える、
ことを特徴とする監視システム。
【請求項7】
請求項4に記載の監視システムにおいて、
前記監視システムは、前記撮像装置を操作する操作端末と、を備え、
前記操作端末は、前記監視対象の占めるピクセル数または、前記画面占有率および前記旋回速度を表示する
ことを特徴とする監視システム。
【請求項8】
請求項7に記載の監視システムにおいて、
前記操作端末は、前記旋回速度算出部が算出した前記旋回速度を変更することが可能であることを特徴とする監視システム。
【請求項9】
撮像装置と、前記撮像装置を管理する管理サーバと、を備える監視システムにおいて、
前記管理サーバは、
所定の周期で前記撮像装置が撮像した映像から監視対象を検知し、
前記所定の周期で撮像した前記監視対象の大きさの変化を算出し、
前記監視対象の大きさの変化に基づいて前記撮像装置の旋回速度を算出し、
前記撮像装置のパン・チルトを含む旋回制御を行う
ことを特徴とする監視システムの制御方法。
発明の詳細な説明
【技術分野】
【0001】
本発明は、監視システムおよび監視システムの制御方法に関する。
続きを表示(約 1,700 文字)
【背景技術】
【0002】
従来の監視システムでは、撮像装置が、監視者の操作によりパン・チルト(水平・垂直)の旋回を制御することで、監視対象の追尾を続けることができる。
【0003】
また、監視カメラの制御においては、パン・チルト及びズームの動作に加えて、パン・チルトの速度についても、操作者の操作により制御されている。
例えば、監視カメラには、パン・チルトの旋回速度を操作者が選択する機能があり、広い範囲を映す画角の場合は、パン・チルトの旋回速度を速く設定し、ズームアップして狭い範囲を映す画角の場合は、旋回速度を遅く変更して設定する。
これにより、監視対象を大きく捉えた時に、過大な旋回速度によって監視対象の追尾を失することを防止できる。
【0004】
例えば、特許文献1では、「ズームレンズ41のズーム状態を制御するレンズ制御手段42と、カメラ4の撮影方向を水平方向に変えるパン駆動手段51と、カメラの撮影方向を垂直方向に変えるチルト駆動手段43とを備えるカメラユニットにおいて、ズームレンズのズーム状態に応じてパン駆動手段51およびチルト駆動手段43における動作速度を可変する制御手段53を設ける。画面上に被写体を拡大して映しているときには、パンチルトの回転速度が遅く、被写体を縮小して映しているときには、パンチルトの回転速度が速くなるように、画面のズーム状態に合った適正なパンチルト動作速度を設定することができる」ことが開示されている。
【先行技術文献】
【特許文献】
【0005】
特開2007-208659号公報
【発明の概要】
【発明が解決しようとする課題】
【0006】
しかしながら、特許文献1における技術では、操作者がパン・チルトの速度を変更する場合、パン・チルト・ズームの動作を中断した後、パン・チルトの速度を設定して、パン・チルト・ズームの動作の操作を再開する必要がある。このため、一時的に監視対象の捕捉を継続できなくなるという課題があった。
【0007】
そこで、本発明では、映像に含まれる監視対象の大きさに基づいて所望のパン・チルトの速度を自動的に設定する技術を提供することを目的とする。
【課題を解決するための手段】
【0008】
上記の課題を解決するために、本発明の監視システムの一つは、撮像装置と、前記撮像装置を管理する管理サーバと、を備え、前記撮像装置は、パン・チルトを含む旋回制御が可能であり、前記管理サーバは、前記撮像装置が撮像した映像における監視対象の大きさに基づいて、前記撮像装置の旋回速度を設定する旋回速度算出部を含む。
【発明の効果】
【0009】
本発明によれば、映像に含まれる監視対象の大きさに基づいて所望のパン・チルトの速度を自動的に設定する技術を提供することができる。
上記した以外の課題、構成および効果は、以下の発明を実施をするための形態における説明により明らかにされる。
【図面の簡単な説明】
【0010】
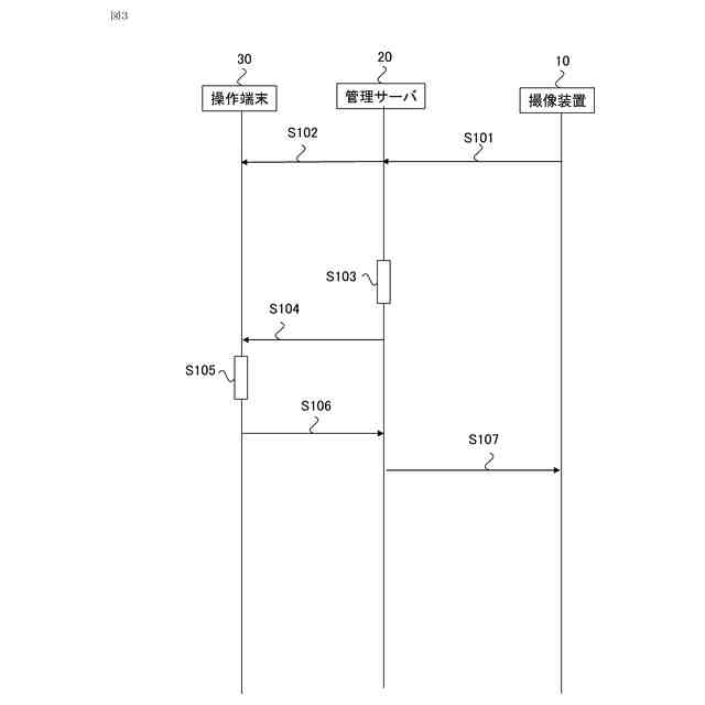
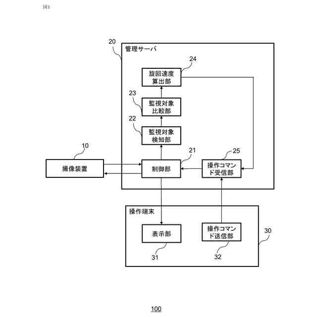
図1は、第1実施形態に係る監視システムの構成例を示す図である。
図2は、表示部で表示されるユーザインタフェースを示す図である。
図3は、第1実施形態に係る撮像装置のパン・チルトの速度を変更する処理のシーケンス図である。
図4は、図3における第1実施形態のシーケンスS103の処理のシーケンス図である。
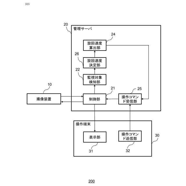
図5は、第2実施形態に係る監視システムを示す概要図である。
図6は、旋回速度決定部に格納された旋回速度テーブルを示す図である。
図7は、旋回速度決定部に格納されたズーム速度テーブルを示す図である。
図8は、図3における第2実施形態のシーケンスS103の処理のシーケンス図である。
【発明を実施するための形態】
(【0011】以降は省略されています)
この特許をJ-PlatPat(特許庁公式サイト)で参照する
関連特許
株式会社国際電気
防災システム
1か月前
株式会社国際電気
カメラシステム
15日前
株式会社国際電気
給油監視システム
6日前
株式会社国際電気
給油監視システム
23日前
株式会社国際電気
遠隔監視システム
1か月前
株式会社国際電気
電子機器の監視方法
1か月前
株式会社国際電気
放送システム及び放送方法
3日前
株式会社国際電気通信基礎技術研究所
通信装置、受信方法、及びプログラム
3日前
株式会社国際電気
監視システムおよび監視システムの制御方法
13日前
株式会社国際電気
駅ホーム監視システム及び駅ホーム監視方法
23日前
株式会社国際電気通信基礎技術研究所
親局装置、端末装置、無線通信方法、及びプログラム
3日前
株式会社国際電気通信基礎技術研究所
通信方法、通信システム、セキュリティ制御装置、端末装置、および、プログラム
27日前
株式会社国際電気通信基礎技術研究所
ヘルメット、脳磁図計測システム、情報取得装置、情報取得方法、およびプログラム
15日前
ENEOS株式会社
燃料供給所管理システム
7日前
株式会社国際電気通信基礎技術研究所
推定装置、それを備える無線通信システム、それを備える推定システムおよびコンピュータに実行させるためのプログラム
2日前
個人
店内配信予約システム
2か月前
WHISMR合同会社
収音装置
21日前
サクサ株式会社
中継装置
2か月前
キヤノン株式会社
電子機器
2か月前
日本精機株式会社
車両用表示装置
4か月前
アイホン株式会社
電気機器
15日前
キヤノン株式会社
撮像装置
3か月前
キヤノン株式会社
撮像装置
1か月前
キヤノン電子株式会社
画像読取装置
22日前
日本精機株式会社
画像投映システム
2か月前
株式会社リコー
画像形成装置
1か月前
ヤマハ株式会社
信号処理装置
3か月前
電気興業株式会社
無線中継器
3か月前
個人
ワイヤレスイヤホン対応耳掛け
13日前
株式会社リコー
画像形成装置
1か月前
株式会社リコー
画像形成装置
1か月前
キヤノン電子株式会社
モバイル装置
2か月前
キヤノン株式会社
画像表示装置
3か月前
キヤノン株式会社
通信システム
3か月前
ブラザー工業株式会社
読取装置
1か月前
キヤノン株式会社
画像処理装置
4か月前
続きを見る
他の特許を見る