TOP
|
特許
|
意匠
|
商標
特許ウォッチ
Twitter
他の特許を見る
公開番号
2025136833
公報種別
公開特許公報(A)
公開日
2025-09-19
出願番号
2024035719
出願日
2024-03-08
発明の名称
磁性薄膜及びこれを備える磁気センサ、並びに、磁気センサの製造方法
出願人
TDK株式会社
代理人
個人
,
個人
主分類
H10N
50/10 20230101AFI20250911BHJP()
要約
【課題】下地膜の形成に複数のターゲットを用いることなく、硬磁性膜の平坦性を高める。
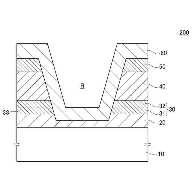
【解決手段】磁気センサ100は、基板10上に設けられた下地膜30と、下地膜30と接するよう、下地膜30の表面34に設けられた硬磁性膜40と、硬磁性膜40上に設けられた磁気抵抗効果素子60と、を備える。下地膜30は、基板10側に位置する第1の下地膜31と、第1の下地膜31と同じ材料からなり、硬磁性膜40と接する第2の下地膜32とを含む。下地膜30は、第1の下地膜31と第2の下地膜32の界面33において転位が生じている。
【選択図】図1
特許請求の範囲
【請求項1】
基板上に設けられた下地膜と、
前記下地膜と接するよう、前記下地膜の表面に設けられた硬磁性膜と、
前記硬磁性膜上に設けられた磁気抵抗効果素子と、
を備え、
前記下地膜は、前記基板側に位置する第1の下地膜と、前記第1の下地膜と同じ材料からなり、前記硬磁性膜と接する第2の下地膜とを含み、
前記下地膜は、前記第1の下地膜と前記第2の下地膜の界面において転位が生じている、
磁気センサ。
続きを表示(約 620 文字)
【請求項2】
前記基板と前記下地膜の間に設けられたアモルファス状の絶縁膜をさらに備える、
請求項1に記載の磁気センサ。
【請求項3】
前記下地膜はCrTiを含む、
請求項1に記載の磁気センサ。
【請求項4】
前記硬磁性膜はCoPtを含む、
請求項1に記載の磁気センサ。
【請求項5】
真空チャンバーを用いて、基板上に第1の下地膜を形成する第1の工程と、
前記真空チャンバーを用いて、前記第1の下地膜の表面に前記第1の下地膜と同じ材料からなる第2の下地膜を形成する第2の工程と、
前記第2の下地膜と接する硬磁性膜を形成する第3の工程と、
前記硬磁性膜上に磁気抵抗効果素子を形成する第4の工程と、
を備え、
前記第1の工程を行った後、前記第2の工程を行う前に、前記第1及び第2の工程における前記真空チャンバー内の真空度よりも真空度の低い雰囲気に前記第1の下地膜の前記表面を曝露する、
磁気センサの製造方法。
【請求項6】
基板上に設けられ、前記基板側に位置する第1の下地膜と、前記第1の下地膜と同じ材料からなり前記第1の下地膜との界面において転位が生じている第2の下地膜、とを含む下地膜と、
前記下地膜と接するよう、前記下地膜の表面に設けられた硬磁性膜と、
を備える磁性薄膜。
発明の詳細な説明
【技術分野】
【0001】
本開示は磁性薄膜に関し、特に、下地膜の表面に硬磁性膜が積層された構造を有する磁性薄膜に関する。また、本開示は、上記の磁性薄膜上に磁気抵抗効果素子が積層された構造を有する磁気センサ及びその製造方法に関する。
続きを表示(約 1,200 文字)
【背景技術】
【0002】
非特許文献1には、Co合金磁性膜の下地として、TiCrからなる第1の下地膜とCoCrからなる第2の下地膜の積層膜を用いることにより、Co合金磁性膜の垂直配向性を改善する方法が提案されている。
【先行技術文献】
【特許文献】
【0003】
MRヘッドと単層垂直媒体を用いた高密度磁気記録(日本応用磁気学会誌 Vol. 21, No. 6, 1997)
【発明の概要】
【発明が解決しようとする課題】
【0004】
しかしながら、非特許文献1に提案された方法では、第1及び第2の下地膜をスパッタリング法によって形成するためには、材料の異なる2つのターゲットが必要である。
【0005】
本開示においては、下地膜の形成に複数のターゲットを用いることなく、硬磁性膜の平坦性を高める技術が説明される。
【課題を解決するための手段】
【0006】
本開示の一側面による磁気センサは、基板上に設けられた下地膜と、下地膜と接するよう、下地膜の表面に設けられた硬磁性膜と、硬磁性膜上に設けられた磁気抵抗効果素子と、を備え、下地膜は、基板側に位置する第1の下地膜と、第1の下地膜と同じ材料からなり、硬磁性膜と接する第2の下地膜とを含み、下地膜は、第1の下地膜と第2の下地膜の界面において転位が生じている。
【0007】
本開示の一側面による磁気センサの製造方法は、真空チャンバーを用いて、基板上に第1の下地膜を形成する第1の工程と、真空チャンバーを用いて、第1の下地膜の表面に第1の下地膜と同じ材料からなる第2の下地膜を形成する第2の工程と、第2の下地膜と接する硬磁性膜を形成する第3の工程と、硬磁性膜上に磁気抵抗効果素子を形成する第4の工程と、を備え、第1の工程を行った後、第2の工程を行う前に、第1及び第2の工程における真空チャンバー内の真空度よりも真空度の低い雰囲気に第1の下地膜の表面を曝露する。
【0008】
本開示の一側面による磁性薄膜は、基板上に設けられ、基板側に位置する第1の下地膜と、第1の下地膜と同じ材料からなり第1の下地膜との界面において転位が生じている第2の下地膜、とを含む下地膜と、下地膜と接するよう、下地膜の表面に設けられた硬磁性膜と、を備える。
【発明の効果】
【0009】
本開示によれば、下地膜の形成に複数のターゲットを用いることなく、硬磁性膜の平坦性を高める技術が提供される。
【図面の簡単な説明】
【0010】
図1は、本開示に係る技術の第1の実施形態による磁気センサ100の構成を説明するための模式的な断面図である。
図2は、本開示に係る技術の第2の実施形態による磁気センサ200の構成を説明するための模式的な断面図である。
【発明を実施するための形態】
(【0011】以降は省略されています)
この特許をJ-PlatPat(特許庁公式サイト)で参照する
関連特許
TDK株式会社
電子部品
1か月前
TDK株式会社
電子部品
24日前
TDK株式会社
電子部品
3日前
TDK株式会社
電子部品
1か月前
TDK株式会社
電子部品
24日前
TDK株式会社
電子部品
3日前
TDK株式会社
電子部品
1か月前
TDK株式会社
フィルタ
3日前
TDK株式会社
コイル装置
1か月前
TDK株式会社
磁気センサ
1か月前
TDK株式会社
磁気センサ
23日前
TDK株式会社
コイル部品
24日前
TDK株式会社
コイル装置
7日前
TDK株式会社
コイル部品
7日前
TDK株式会社
光検知装置
今日
TDK株式会社
磁気センサ
1か月前
TDK株式会社
磁気センサ
1か月前
TDK株式会社
コイル部品
3日前
TDK株式会社
コイル部品
3日前
TDK株式会社
コイル部品
3日前
TDK株式会社
磁気センサ
1か月前
TDK株式会社
ガスセンサ
1か月前
TDK株式会社
ガスセンサ
3日前
TDK株式会社
磁気センサ
1か月前
TDK株式会社
コイル部品
1日前
TDK株式会社
ガスセンサ
今日
TDK株式会社
コイル部品
1か月前
TDK株式会社
センサ装置
今日
TDK株式会社
コイル部品
1か月前
TDK株式会社
コイル装置
1か月前
TDK株式会社
温度センサ
14日前
TDK株式会社
磁気計測装置
14日前
TDK株式会社
アンテナ装置
15日前
TDK株式会社
積層電子部品
1か月前
TDK株式会社
フィルタ装置
3日前
TDK株式会社
電力変換装置
3日前
続きを見る
他の特許を見る