TOP
|
特許
|
意匠
|
商標
特許ウォッチ
Twitter
他の特許を見る
公開番号
2025136870
公報種別
公開特許公報(A)
公開日
2025-09-19
出願番号
2024035783
出願日
2024-03-08
発明の名称
転がり軸受及び回転機械
出願人
NTN株式会社
代理人
個人
,
個人
,
個人
,
個人
主分類
F16C
19/06 20060101AFI20250911BHJP(機械要素または単位;機械または装置の効果的機能を生じ維持するための一般的手段)
要約
【課題】スタベーションが発生する軸受回転速度を転がり軸受自体で引き上げることである。
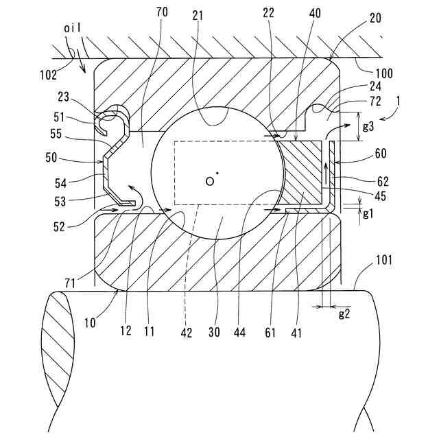
【解決手段】第一の軌道面11を有する内方部材10、第二の軌道面21を有する外方部材20、複数の転動体30、及び保持器40を備える転がり軸受1が、転動体30及び保持器40に対して軸方向一方側に離れた位置で外方部材20から内方部材10に向かって中空に突き出たシールド50と、転動体30及び保持器40に対して軸方向他方側に離れた位置で内方部材10から外方部材20に向かって中空に突き出たスリンガ60とをさらに備える。シールド50と内方部材10との間は、油を吸い込む第一の通油口71になっている。スリンガ60と外方部材20との間は、第一の通油口71から吸い込まれた油を吐き出す第二の通油口72になっている。
【選択図】図1
特許請求の範囲
【請求項1】
第一の軌道面を有する内方部材と、第二の軌道面を有する外方部材と、前記第一の軌道面と前記第二の軌道面との間に配置された複数の転動体と、前記複数の転動体を保持する保持器とを備える転がり軸受において、
前記転動体及び前記保持器に対して軸方向一方側に離れた位置で前記外方部材の内径面から前記内方部材の外径面に向かって突き出たシールドと、前記転動体及び前記保持器に対して軸方向一方側とは反対の軸方向他方側に離れた位置で前記内方部材の外径面から前記外方部材の内径面に向かって突き出たスリンガとをさらに備え、
前記シールドと前記内方部材との間が第一の通油口になっており、
前記スリンガと前記外方部材との間が第二の通油口になっていることを特徴とする転がり軸受。
続きを表示(約 1,300 文字)
【請求項2】
前記保持器が、前記複数の転動体に対して軸方向他方側で円周方向に延びる環状部を有し、
前記スリンガが、前記環状部の軸方向他方側の側面と軸方向に間隔を空けて対向する側板部を有する請求項1に記載の転がり軸受。
【請求項3】
前記スリンガが、前記環状部と径方向に間隔を空けて対向するように前記内方部材に嵌合された筒板部を有し、
前記側板部が、前記筒板部の軸方向他方側から径方向外側へ突き出ており、
前記筒板部と前記環状部との間の径方向間隔が、前記環状部の軸方向他方側の側面と前記側板部との間の軸方向間隔よりも小さく設けられている請求項2に記載の転がり軸受。
【請求項4】
前記側板部の外周縁と前記外方部材との間の径方向間隔が、前記環状部の軸方向他方側の側面と前記側板部との間の軸方向間隔よりも大きく設けられている請求項2又は3に記載の転がり軸受。
【請求項5】
前記外方部材が、前記環状部と径方向に間隔を空けて対向する肩部と、前記側板部と径方向に対向する位置で前記肩部よりも大径に設けられた切欠き部とを有し、
前記側板部の外径が、前記肩部よりも小径に設けられている請求項4に記載の転がり軸受。
【請求項6】
前記シールドの内径が、前記保持器の内径以下の大きさに設けられている請求項1から3のいずれか1項に記載の転がり軸受。
【請求項7】
前記保持器が、前記転動体よりも前記シールドから軸方向他方側へ離れた位置に設けられている請求項1から3のいずれか1項に記載の転がり軸受。
【請求項8】
前記シールドが、前記シールドの中で前記内方部材に最も近い先端板部と、前記先端板部の軸方向一方側から径方向外側へ傾斜した方向に延びる内径側テーパ板部とを有する請求項1から3のいずれか1項に記載の転がり軸受。
【請求項9】
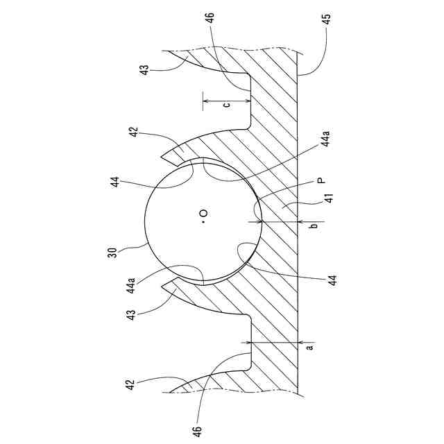
前記保持器が、円周方向に延びる環状部と、径方向内側、径方向外側及び軸方向一方側に開口した空間を形成するように前記環状部から軸方向一方側へ延びる複数対の爪部とを有する樹脂部材からなり、
前記転動体が、前記空間に配置された玉からなり、
円周方向に隣り合う前記転動体同士の間に位置する前記爪部同士の間が、軸方向他方側へ凹んだ形状になっており、当該爪部同士の間で最も軸方向他方側に位置する凹端面から前記保持器の軸方向他方側の側面までの最小軸方向厚さをaとし、前記空間の中で最も軸方向他方側に位置するポケット底から前記保持器の軸方向他方側の側面までの軸方向厚さをbとし、前記複数の転動体の中心を通る仮想平面と前記凹端面との間の最小距離をcとしたとき、a>bかつc>0を満足している請求項1から3のいずれか1項に記載の転がり軸受。
【請求項10】
請求項1から3のいずれか1つに係る転がり軸受と、前記転がり軸受に支持された回転部と、前記転がり軸受に対して軸方向一方側に油を供給する給油部とを備える回転機械。
発明の詳細な説明
【技術分野】
【0001】
この発明は、転がり軸受、及びこれを備える回転機械に関する。
続きを表示(約 2,100 文字)
【背景技術】
【0002】
転がり軸受は、第一の軌道面を含む内方部材と、第二の軌道面を含む外方部材と、これら軌道面間に配置された複数の転動体と、これら転動体を保持する保持器とを備える。
【0003】
転がり軸受の高速回転時、転動体と軌道面の弾性流体接触の入口部に一定以上の油が存在するとき、それ以上油膜厚さが増加しない十分潤滑となる。高速回転中に転がり軸受に対する供給油量が不足すると、転動体と軌道面間の油膜厚さが薄くなっていく枯渇潤滑(スタベーション)となり、転がり粘性抵抗が低下していくことが知られている(非特許文献1~3)。
【0004】
油潤滑方式で転がり軸受を高速回転させる場合、非特許文献1、2の試験例のように、シール、シールド等を備えないオープン軸受を採用し、内方部材を回転機械の回転部側に配置し、外方部材を回転機械のハウジング側に配置し、転がり軸受の側方に油を供給する給油部を回転機械に備えることが一般的である。
【0005】
非特許文献1、2に開示されたオープン軸受の試験例では、供給油量が70ml/minや100ml/minの場合、試験条件の最高軸受回転速度まで十分潤滑に保たれるが、供給油量が40ml/minの場合、試験条件の最高軸受回転速度よりも低い軸受回転速度でスタベーションが発生することが示されている。
【0006】
工作機械主軸で採用されるエアオイル潤滑方式では、給油部が精度よく少量の供給油量を独立制御することができるため、軸受回転速度に応じて供給油量を調整することにより、転動体と軌道面間の油膜が破断しない程度にスタベーションの状態を安定させて積極的に摩擦トルクの低減を図ることが可能である。非特許文献3では、エアオイル潤滑方式のように供給油量が少量であるときの摩擦トルクを理論的に推定するための計算方法が開示されている。
【先行技術文献】
【非特許文献】
【0007】
遠山,“高速回転深溝玉軸受の潤滑解析(第1報)-潤滑可視化による供給油量の影響評価-”,トライボロジー会議2023春 東京 予稿集,P.240-244
遠山,“高速回転深溝玉軸受の潤滑解析(第2報)-潤滑可視化による供給油量の影響評価-”,トライボロジー会議2023春 東京 予稿集,P.245-246
藤原,“エアオイル潤滑されたアンギュラ玉軸受の摩擦トルクの推定方法高速回転深溝玉軸受の潤滑解析(第1報)-潤滑可視化による供給油量の影響評価-”,NTN TECHNICAL REVIEW No.82(2014),P.54-P.60
【発明の概要】
【発明が解決しようとする課題】
【0008】
省エネルギ性が重視される現在では、転がり軸受の低トルク性が要求されるため、供給油量を少量に制限して攪拌抵抗を抑制することが行われる。オープン軸受の側方に油を少量供給する場合、少量の油が転がり軸受周囲の雰囲気と混ざって軸受内部に入るため、高速回転時、オープン軸受の両側面にエアカーテンが発生する。エアカーテンは、高速に回転する保持器や高速に公転する複数の転動体が油等の潤滑流体を攪拌することにより、油等の潤滑流体が円周方向に旋回しつつ側方へ拡散する現象である。エアカーテンの勢力が強いと、オープン軸受の側方に供給される油が転がり軸受の環状空間を貫通しにくくなり、転動体等の潤滑、冷却に貢献する油の量が減少していき、スタベーションに陥る。
【0009】
しかしながら、転がり軸受の耐故障性が重視される利用分野では、十分潤滑下で高速回転化を要求されることもある。エアオイル潤滑方式のように少量の供給油量を精度よく制御することが可能な給油部を備える回転機械の場合、軸受回転速度の上昇やエアカーテンの影響を考慮した制御に基づいて給油部からの供給油量を増やすことにより、十分潤滑を維持することが可能であるが、そのような制御機能付き給油部を採用することができない場合もある。例えば、車両駆動用の電動モータと歯車減速機とインバータとを一体化した電動アクスルユニット(いわゆるe-Axle)等の場合、モータシャフトや減速機の入力軸と減速機の二段目以降の伝達軸とでは運転中の回転速度が大きく異なるので、入力軸等の高速軸を支持する転がり軸受と、二段目以降の伝達軸を支持する転がり軸受とでは、望ましい供給油量が異なる。高速軸を支持する転がり軸受の油潤滑に専用の制御機能付き給油部を設けることは、ユニットの大型化や複雑化を招き、受け入れられない。このような使用環境では、スタベーションが発生する軸受回転速度(つまり十分潤滑を維持可能な軸受回転速度の上限値)を引き上げて高速回転化の要求に応えることができない。
【0010】
上述の背景に鑑み、この発明が解決しようとする課題は、電動アクスルユニット等の大型化や複雑化を要することなくスタベーションが発生する軸受回転速度を引き上げることにある。
【課題を解決するための手段】
(【0011】以降は省略されています)
この特許をJ-PlatPat(特許庁公式サイト)で参照する
関連特許
NTN株式会社
基板
5日前
NTN株式会社
ハンド
今日
NTN株式会社
玉軸受
13日前
NTN株式会社
玉軸受
1か月前
NTN株式会社
玉軸受
6日前
NTN株式会社
玉軸受
14日前
NTN株式会社
密封装置
1か月前
NTN株式会社
把持装置
今日
NTN株式会社
把持装置
今日
NTN株式会社
ころ軸受
2か月前
NTN株式会社
軸受装置
12日前
NTN株式会社
転がり軸受
1か月前
NTN株式会社
転がり軸受
今日
NTN株式会社
転がり軸受
1か月前
NTN株式会社
転がり軸受
1か月前
NTN株式会社
転がり軸受
6日前
NTN株式会社
深溝玉軸受
1か月前
NTN株式会社
基板取付構造
12日前
NTN株式会社
状態監視装置
2か月前
NTN株式会社
等速自在継手
12日前
NTN株式会社
円筒ころ軸受
1か月前
NTN株式会社
円筒ころ軸受
14日前
NTN株式会社
球面滑り軸受
1か月前
NTN株式会社
軸受用保持器
26日前
NTN株式会社
車輪用軸受装置
1か月前
NTN株式会社
車輪用軸受装置
1か月前
NTN株式会社
電動モータ装置
14日前
NTN株式会社
車輪用軸受装置
29日前
NTN株式会社
車輪用軸受装置
14日前
NTN株式会社
絶縁転がり軸受
28日前
NTN株式会社
保持器付きころ
2日前
NTN株式会社
モータユニット
2日前
NTN株式会社
円すいころ軸受
5日前
NTN株式会社
動力伝達シャフト
12日前
NTN株式会社
プランマブロック
12日前
NTN株式会社
摺動式等速自在継手
12日前
続きを見る
他の特許を見る