TOP
|
特許
|
意匠
|
商標
特許ウォッチ
Twitter
他の特許を見る
10個以上の画像は省略されています。
公開番号
2025138038
公報種別
公開特許公報(A)
公開日
2025-09-25
出願番号
2024036743
出願日
2024-03-11
発明の名称
A/D変換回路
出願人
セイコーエプソン株式会社
代理人
個人
,
個人
,
個人
,
個人
主分類
H03M
1/14 20060101AFI20250917BHJP(基本電子回路)
要約
【課題】パイプラインステージの後段に高速なA/D変換器を接続した場合に、A/D変換器が精度良くサンプリング可能なA/D変換回路等を提供すること。
【解決手段】A/D変換回路100は、入力信号に基づくA/D変換によりxビットの第1デジタル値を出力する第1パイプラインステージ110bと、第1パイプラインステージ110bの第1アナログ出力信号に基づくA/D変換により、xビットより小さいyビットの第2デジタル値を出力する第2パイプラインステージ110cと、第1パイプラインステージ110bのサンプリング期間及び第2パイプラインステージ110cのサンプリング期間よりも短いサンプリング期間において第2パイプラインステージ110cの第2アナログ出力信号をサンプリングし、サンプリング結果に基づいてA/D変換を行って第3デジタル値を出力するA/D変換器と、を含む。
【選択図】図1
特許請求の範囲
【請求項1】
入力信号に基づくA/D変換によりxビットの第1デジタル値を出力する第1パイプラインステージと、
前記第1パイプラインステージの第1アナログ出力信号に基づくA/D変換により、前記xビットより小さいyビットの第2デジタル値を出力する第2パイプラインステージと、
前記第1パイプラインステージのサンプリング期間及び前記第2パイプラインステージのサンプリング期間よりも短いサンプリング期間において前記第2パイプラインステージの第2アナログ出力信号をサンプリングし、サンプリング結果に基づいてA/D変換を行って第3デジタル値を出力するA/D変換器と、
を含むことを特徴とするA/D変換回路。
続きを表示(約 1,200 文字)
【請求項2】
請求項1に記載されたA/D変換回路において、
第1期間において前記第1パイプラインステージがサンプリング動作を行い、
前記第1期間の後の第2期間において、前記第1パイプラインステージが演算及びホールド動作を行い、前記第2パイプラインステージがサンプリング動作を行い、
前記第2期間の後の第3期間において、前記第2パイプラインステージが演算及びホールド動作を行い、前記A/D変換器がサンプリング動作を行うことを特徴とするA/D変換回路。
【請求項3】
請求項1に記載されたA/D変換回路において、
前記A/D変換器は、サイクリックA/D変換器であることを特徴とするA/D変換回路。
【請求項4】
請求項3に記載されたA/D変換回路において、
前記サイクリックA/D変換器は、前記第1パイプラインステージ及び前記第2パイプラインステージが1回のA/D変換を行う期間において、前記第2アナログ出力信号をA/D変換する1周目のA/D変換と、前記1周目のA/D変換により前記サイクリックA/D変換器が出力するアナログ出力信号を再びA/D変換する2周目のA/D変換と、を行うことを特徴とするA/D変換回路。
【請求項5】
請求項1に記載されたA/D変換回路において、
前記A/D変換器は、逐次比較型A/D変換器であることを特徴とするA/D変換回路。
【請求項6】
請求項5に記載されたA/D変換回路において、
前記逐次比較型A/D変換器は、前記第1パイプラインステージ及び前記第2パイプラインステージが1回のA/D変換を行う期間において、前記第2アナログ出力信号をサンプリングするサンプリング動作と、サンプリングした前記第2アナログ出力信号に対する逐次比較動作と、を行うことを特徴とするA/D変換回路。
【請求項7】
請求項1に記載されたA/D変換回路において、
前記xビットはn+0.5ビットであり(nは1以上の整数)、
前記yビットはm+0.5ビットである(mは1以上でnより小さい整数)ことを特徴とするA/D変換回路。
【請求項8】
請求項1に記載されたA/D変換回路において、
前記第3デジタル値は、前記xビット及び前記yビットより大きいzビットであることを特徴とするA/D変換回路。
【請求項9】
請求項1に記載されたA/D変換回路において、
前記A/D変換器の後段に設けられるフラッシュ型A/D変換器を含むことを特徴とするA/D変換回路。
【請求項10】
請求項1乃至9のいずれか一項に記載されたA/D変換回路において、
前記第1デジタル値、前記第2デジタル値及び前記第3デジタル値に基づいて、前記A/D変換回路の出力デジタル値を出力する加算器を含むことを特徴とするA/D変換回路。
発明の詳細な説明
【技術分野】
【0001】
本発明は、A/D変換回路等に関する。
続きを表示(約 2,100 文字)
【背景技術】
【0002】
特許文献1は、アンプをシェアしている4ビットのビットブロック及び1.5ビットのビットブロックを含むパイプライン型A/D変換回路を開示している。特許文献1では、アンプをシェアする2つのビットブロックのうち後段のビット数が、前段のビット数より小さい。
【先行技術文献】
【特許文献】
【0003】
特開2006-054608号公報
【発明の概要】
【発明が解決しようとする課題】
【0004】
特許文献1には、パイプライン型A/D変換回路の後段に、パイプラインA/D変換回路のクロックに比べて高速なクロックで動作するA/D変換器を接続した構成は、開示されていない。そのような構成における各ビットブロックの適切なビット数についても、開示されていない。
【課題を解決するための手段】
【0005】
本開示の一態様は、入力信号に基づくA/D変換によりxビットの第1デジタル値を出力する第1パイプラインステージと、前記第1パイプラインステージの第1アナログ出力信号に基づくA/D変換により、前記xビットより小さいyビットの第2デジタル値を出力する第2パイプラインステージと、前記第1パイプラインステージのサンプリング期間及び前記第2パイプラインステージのサンプリング期間よりも短いサンプリング期間において前記第2パイプラインステージの第2アナログ出力信号をサンプリングし、サンプリング結果に基づいてA/D変換を行って第3デジタル値を出力するA/D変換器と、を含むA/D変換回路に関係する。
【図面の簡単な説明】
【0006】
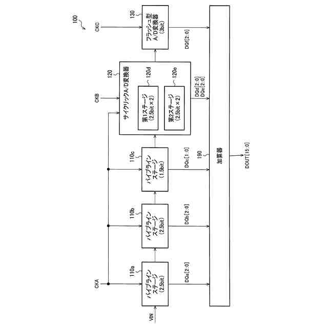
A/D変換回路の第1構成例。
パイプラインステージ及びサイクリックA/D変換器の動作を説明するタイミングチャート例。
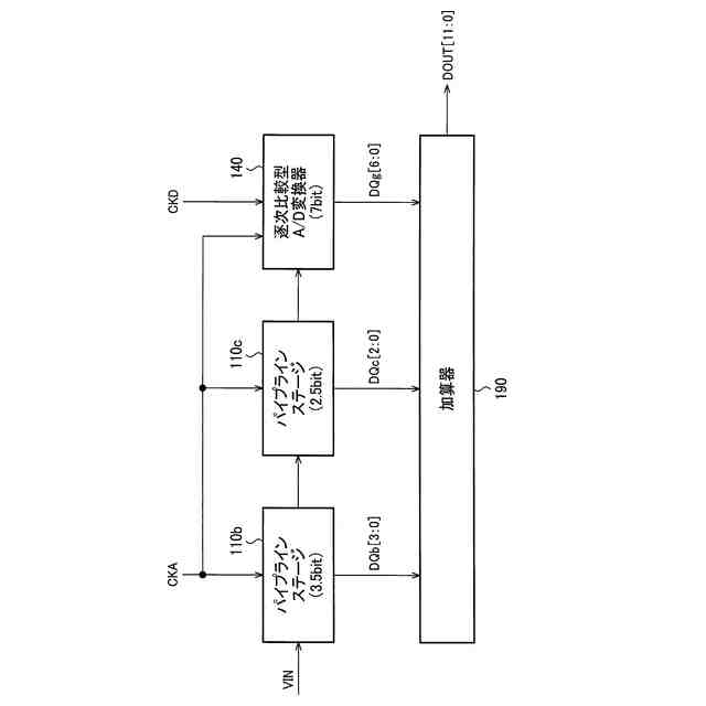
A/D変換回路の第2構成例。
パイプラインステージ及び逐次比較型A/D変換器の動作を説明するタイミングチャート例。
逐次比較型A/D変換器の詳細構成例。
1段目のパイプラインステージの詳細構成例。
キャパシター回路の詳細構成例。
1段目のパイプラインステージの動作説明図。
2.5ビットのパイプラインステージの演算及びホールド動作におけるエンコーダー及びスイッチ群の動作説明図。
2段目のパイプラインステージの詳細構成例。
3段目のパイプラインステージの詳細構成例。
2段目及び3段目のパイプラインステージの動作説明図。
1.5ビットのパイプラインステージの演算及びホールド動作におけるエンコーダー及びスイッチ群の動作説明図。
サイクリックA/D変換器の第1ステージの詳細構成例。
サイクリックA/D変換器の第2ステージの詳細構成例。
サイクリックA/D変換器の第1ステージ及び第2ステージの動作説明図。
A/D変換回路の全体の動作を説明するタイミングチャート例。
加算器の動作説明図。
【発明を実施するための形態】
【0007】
以下、本開示の好適な実施形態について詳細に説明する。なお、以下に説明する本実施形態は特許請求の範囲に記載された内容を不当に限定するものではなく、本実施形態で説明される構成の全てが必須構成要件であるとは限らない。
【0008】
1.A/D変換回路
図1は、A/D変換回路の第1構成例である。A/D変換回路100は、パイプラインステージ110a、110b及び110cと、サイクリックA/D変換器120と、フラッシュ型A/D変換器130と、加算器190とを含む。
【0009】
パイプラインステージ110aは、A/D変換回路100への入力電圧VINをサンプリングし、サンプリング電圧をA/D変換し、A/D変換の結果をデジタル値DQa[2:0]として出力する。パイプラインステージ110aは、サンプリング電圧と、デジタル値DQa[2:0]をD/A変換した電圧との差分にゲインを乗じ、その結果を出力する。デジタル値DQa[2:0]は、2.5ビットのレンジを有する。即ち、デジタル値DQa[2:0]のとり得る値は、000b、001b、010b、011b、100b、101b、110bの7値である。数値末尾の「b」は2進数を意味する。
【0010】
パイプラインステージ110bは、パイプラインステージ110aの出力電圧をサンプリングし、サンプリング電圧をA/D変換し、A/D変換の結果をデジタル値DQb[2:0]として出力する。パイプラインステージ110bは、サンプリング電圧と、デジタル値DQb[2:0]をD/A変換した電圧との差分にゲインを乗じ、その結果を出力する。デジタル値DQb[2:0]は、2.5ビットのレンジを有する。
(【0011】以降は省略されています)
この特許をJ-PlatPat(特許庁公式サイト)で参照する
関連特許
エイブリック株式会社
電圧検出器
1か月前
日本電波工業株式会社
圧電デバイス
1か月前
株式会社トーキン
ノイズフィルタ
29日前
ローム株式会社
オペアンプ
1か月前
ローム株式会社
オペアンプ
1か月前
ローム株式会社
オペアンプ
1か月前
株式会社村田製作所
増幅回路
1か月前
株式会社半導体エネルギー研究所
駆動回路
3日前
三菱電機株式会社
半導体装置
1か月前
個人
誤り訂正装置及び誤り訂正方法
1か月前
株式会社大真空
恒温槽型圧電発振器
1か月前
ローム株式会社
半導体集積回路
1か月前
ローム株式会社
半導体集積回路
1か月前
ローム株式会社
オペアンプ回路
1か月前
ローム株式会社
オペアンプ回路
1か月前
ローム株式会社
オペアンプ回路
1か月前
株式会社村田製作所
高周波回路
1か月前
住友電気工業株式会社
高周波増幅器
13日前
株式会社村田製作所
弾性波フィルタ
13日前
京セラ株式会社
弾性波装置、分波器及び通信装置
2か月前
ローム株式会社
A/Dコンバータ回路
1か月前
ローム株式会社
A/Dコンバータ回路
2か月前
ローム株式会社
駆動回路
1か月前
ローム株式会社
駆動回路
1か月前
ローム株式会社
遅延回路
1か月前
日清紡マイクロデバイス株式会社
演算増幅器
1日前
ローム株式会社
圧電共振器
24日前
太陽誘電株式会社
フィルタ及びマルチプレクサ
1か月前
ニチコン株式会社
信号出力装置
1か月前
株式会社大真空
圧電振動片集合ウェハおよび圧電振動片
1か月前
セイコーエプソン株式会社
振動素子
1か月前
セイコーエプソン株式会社
振動素子
1か月前
セイコーエプソン株式会社
振動素子
13日前
日本電気株式会社
原子発振器
29日前
ローム株式会社
差動アンプおよび半導体装置
13日前
ローム株式会社
発振回路
3日前
続きを見る
他の特許を見る