TOP
|
特許
|
意匠
|
商標
特許ウォッチ
Twitter
他の特許を見る
10個以上の画像は省略されています。
公開番号
2025138474
公報種別
公開特許公報(A)
公開日
2025-09-25
出願番号
2024037587
出願日
2024-03-11
発明の名称
半導体装置
出願人
Astemo株式会社
代理人
弁理士法人サンネクスト国際特許事務所
主分類
H01L
25/07 20060101AFI20250917BHJP(基本的電気素子)
要約
【課題】ソースセンスワイヤの信頼性向上させる半導体装置を提供する。
【解決手段】半導体装置100は、一方の面に第1主電極112を有し、他方の面に第2主電極114及び第1制御電極113を有する半導体基板111と、半導体基板において一方の面側に配置され、かつ、導電性の接合部材を介して第1主電極と接合される第1導体板120と、半導体基板の他方の面側に配置され、かつ、導電性の接合部材を介して第2主電極114と接合される第2導体板130と、第1制御電極113と電気的に接続される第1制御用ボンディングワイヤ140と、第2導体板と接合される第2制御用ボンディングワイヤ141と、を備え、第1制御電極と第1主電極は、積層方向において互いに重なり合い、第2制御用ボンディングワイヤは、第2導体板の表面上に設けられる第1ボンディング部141aに接合され、第1ボンディング部は、積層方向において第1主電極と重ならない。
【選択図】図1
特許請求の範囲
【請求項1】
一方の面に第1主電極を有し、他方の面に第2主電極および第1制御電極を有する半導体素子と、
前記半導体素子において前記一方の面側に配置され、かつ導電性の接合部材を介して前記第1主電極と接合される第1導体板と、前記半導体素子の前記他方の面側に配置され、かつ前記導電性の接合部材を介して前記第2主電極と接合される第2導体板と、
前記第1制御電極と電気的に接続される第1制御用ボンディングワイヤと、
前記第2導体板と接合される第2制御用ボンディングワイヤと、を備え、
前記第1制御電極と前記第1主電極は、積層方向において互いに重なり合い、
前記第2制御用ボンディングワイヤは、前記第2導体板の表面上に設けられる第1ボンディング部に接合され、
前記第1ボンディング部は、前記積層方向において前記第1主電極と重ならない
半導体装置。
続きを表示(約 750 文字)
【請求項2】
請求項1に記載の半導体装置において、
前記第1ボンディング部は、前記積層方向において前記第1導体板と重ならない
半導体装置。
【請求項3】
請求項1に記載の半導体装置において、
前記半導体素子は、前記第2主電極と電気的に接続された第2制御電極を有し、
前記第2導体板は、前記第2制御電極と接合される
半導体装置。
【請求項4】
請求項1に記載の半導体装置において、
前記第2導体板は、前記積層方向において前記第2導体板の表面よりも低い表面を形成する段差部を有し、
前記第1ボンディング部は、前記段差部の表面に設けられ、
前記第2制御用ボンディングワイヤの前記積層方向における高さは、前記第2導体板の表面よりも低い
半導体装置。
【請求項5】
請求項4に記載の半導体装置において、
前記段差部の前記積層方向下部において、第3導体板が設けられている
半導体装置。
【請求項6】
請求項1に記載の半導体装置において、
前記第1制御電極と前記第2導体板は、前記積層方向において互いに重ならない
半導体装置。
【請求項7】
請求項6に記載の半導体装置において、
前記第1制御電極に接続される第4導体板を備え、
前記第4導体板上には、前記第1制御用ボンディングワイヤが接合される第2ボンディング部が設けられ、
前記第1ボンディング部は、前記積層方向において前記第4導体板と重ならず、
前記第2ボンディング部は、前記積層方向において前記第1主電極と重ならない
半導体装置。
発明の詳細な説明
【技術分野】
【0001】
本発明は、半導体装置に関する。
続きを表示(約 1,500 文字)
【背景技術】
【0002】
半導体装置は、両面冷却構造であっても高温領域にワイヤがボンディングされる場合、ワイヤへの熱的信頼性に懸念が生じる。そのため、ワイヤの熱的信頼性を確保するために、ワイヤの構成を改善する必要がある。ワイヤの構成として、例えば下記の特許文献1には、主電流経路として複数のワイヤボンディングが形成されている半導体実装構造が開示されている。
【先行技術文献】
【特許文献】
【0003】
特開2015-126066号公報
【発明の概要】
【発明が解決しようとする課題】
【0004】
特許文献1に記載の構成を鑑みて、複数本数の構成を通常用いないソースセンスワイヤの信頼性向上を実現した半導体装置を提供することが目的である。
【課題を解決するための手段】
【0005】
一方の面に第1主電極を有し、他方の面に第2主電極および第1制御電極を有する半導体素子と、前記半導体素子において前記一方の面側に配置され、かつ導電性の接合部材を介して前記第1主電極と接合される第1導体板と、前記半導体素子の前記他方の面側に配置され、かつ前記導電性の接合部材を介して前記第2主電極と接合される第2導体板と、前記第1制御電極と電気的に接続される第1制御用ボンディングワイヤと、前記第2導体板と接合される第2制御用ボンディングワイヤと、を備え、前記第1制御電極と前記第1主電極は、積層方向において互いに重なり合い、前記第2制御用ボンディングワイヤは、前記第2導体板の表面上に設けられる第1ボンディング部に接合され、前記第1ボンディング部は、前記積層方向において前記第1主電極と重ならない半導体装置。
【発明の効果】
【0006】
ソースセンスワイヤの信頼性向上を実現した半導体装置を提供できる。
【図面の簡単な説明】
【0007】
本発明の一実施形態に係る、半導体装置の平面図および断面図
本発明の一実施形態に係る、半導体チップの平面図および断面図
第1変形例
第2変形例
第3変形例
第4変形例
第5変形例
第6変形例
本発明の一実施形態に係る、両面冷却構造を説明する図
【発明を実施するための形態】
【0008】
以下、図面を参照して本発明の実施形態を説明する。以下の記載および図面は、本発明を説明するための例示であって、説明の明確化のため、適宜、省略および簡略化がなされている。本発明は、他の種々の形態でも実施する事が可能である。特に限定しない限り、各構成要素は単数でも複数でも構わない。
【0009】
図面において示す各構成要素の位置、大きさ、形状、範囲などは、発明の理解を容易にするため、実際の位置、大きさ、形状、範囲などを表していない場合がある。このため、本発明は、必ずしも、図面に開示された位置、大きさ、形状、範囲などに限定されない。
【0010】
(一実施形態および全体構成)
(図1、図2)
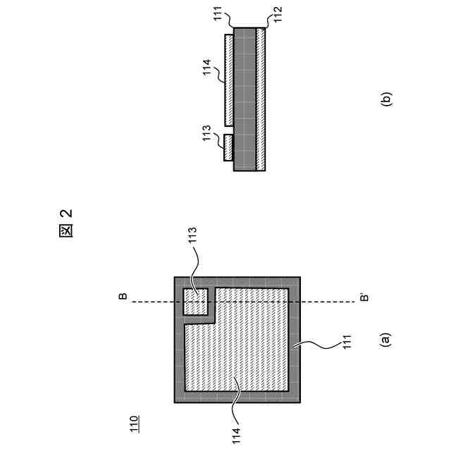
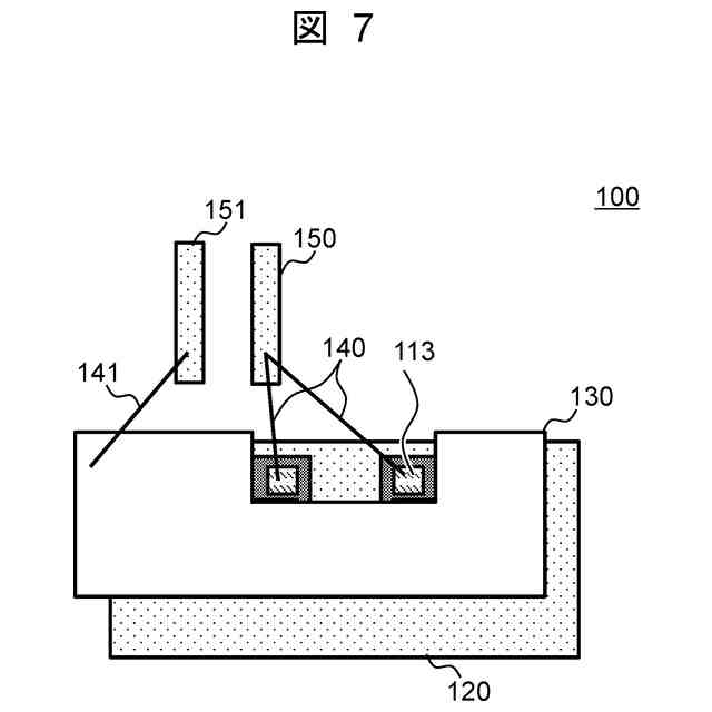
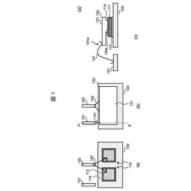
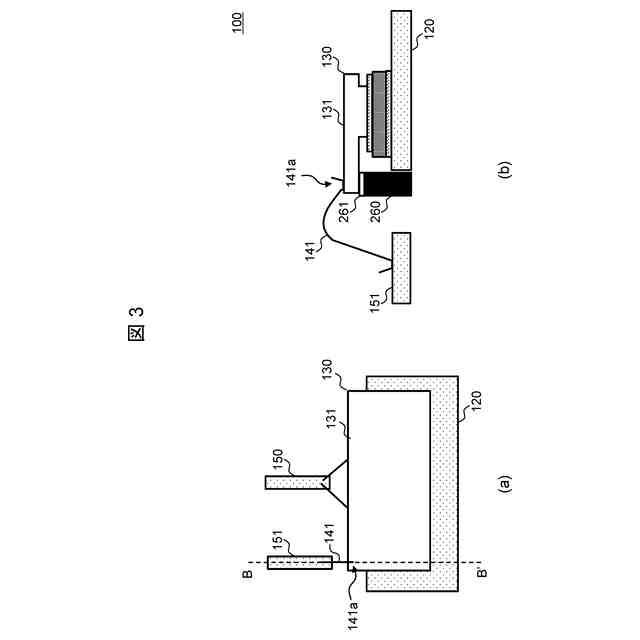
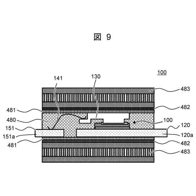
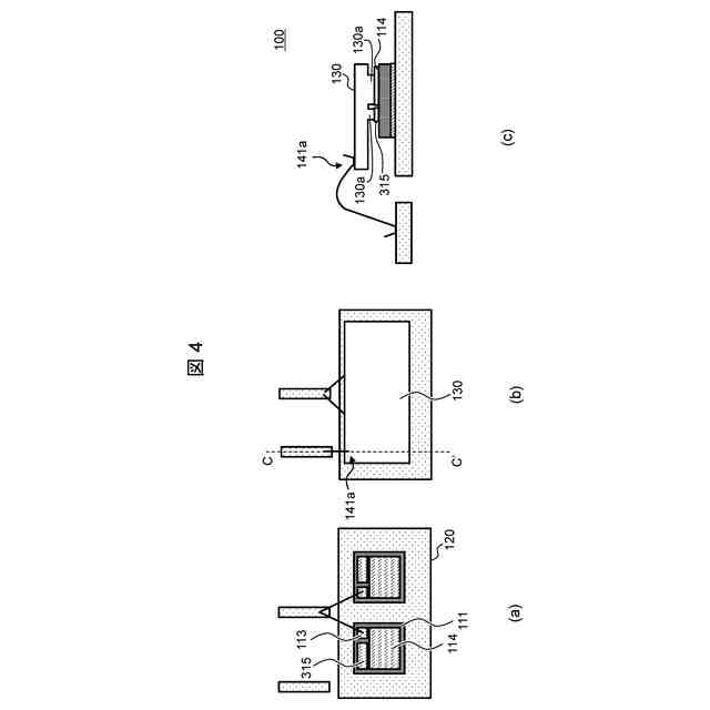
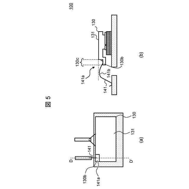
図1(a)は半導体装置100の平面図、図1(b)は図1(a)に第2導体板130およびソースセンスワイヤ141を図示した半導体装置100の平面図、図1(c)は図1(b)のA-A’の断面図である。また、図2(a)は半導体チップ110の平面図、図2(b)は図2(a)のB-B’断面図である。
(【0011】以降は省略されています)
この特許をJ-PlatPat(特許庁公式サイト)で参照する
関連特許
Astemo株式会社
樹脂筐体
2日前
Astemo株式会社
半導体装置
8日前
Astemo株式会社
電圧検出装置
4日前
Astemo株式会社
電池監視装置
2日前
Astemo株式会社
電動駆動装置
2日前
Astemo株式会社
電流検出装置
4日前
Astemo株式会社
電動モータ装置
1日前
Astemo株式会社
緩衝装置、懸架装置
2日前
Astemo株式会社
バッテリー充電装置
4日前
Astemo株式会社
バンプストッパ、緩衝器
4日前
Astemo株式会社
支持ユニット、懸架装置
4日前
Astemo株式会社
放電装置及び電力変換装置
1日前
Astemo株式会社
インジェクタ故障検出装置
4日前
Astemo株式会社
制御装置及び鍵情報秘匿方法
4日前
Astemo株式会社
タスク処理方法および制御装置
4日前
Astemo株式会社
地絡検出装置及び地絡検出方法
8日前
Astemo株式会社
車両制御装置及び車両制御方法
8日前
Astemo株式会社
ナット部材、緩衝装置、加圧工具
1日前
Astemo株式会社
電池監視装置及び電池管理システム
2日前
Astemo株式会社
車両制御装置及びセンサデータ処理方法
2日前
Astemo株式会社
自動車用電子制御装置およびメモリ管理装置
4日前
Astemo株式会社
サーバ装置
14日前
Astemo株式会社
走行支援装置
14日前
Astemo株式会社
車両制御システム
3日前
Astemo株式会社
改善システム、改善方法
8日前
Astemo株式会社
サスペンション制御装置、サスペンション制御方法、およびサスペンション制御プログラム
2日前
個人
安全なNAS電池
28日前
個人
フリー型プラグ安全カバー
1か月前
東レ株式会社
多孔質炭素シート
23日前
日本発條株式会社
積層体
4日前
キヤノン株式会社
電子機器
23日前
個人
防雪防塵カバー
4日前
ローム株式会社
半導体装置
2日前
エイブリック株式会社
半導体装置
25日前
エイブリック株式会社
半導体装置
25日前
ローム株式会社
半導体装置
2日前
続きを見る
他の特許を見る