TOP
|
特許
|
意匠
|
商標
特許ウォッチ
Twitter
他の特許を見る
公開番号
2025137631
公報種別
公開特許公報(A)
公開日
2025-09-19
出願番号
2025117777,2021152514
出願日
2025-07-14,2021-09-17
発明の名称
サーバ装置
出願人
Astemo株式会社
代理人
弁理士法人平木国際特許事務所
主分類
G06F
8/65 20180101AFI20250911BHJP(計算;計数)
要約
【課題】プログラム更新失敗時であっても車両が動作不可状態になることを極力低減することを目的とする。
【解決手段】車載装置6は、プログラムを記憶するプログラム記憶部64と、プログラムを起動する起動処理部65と、プログラムの更新用プログラム21及び更新理由22を受信し、更新用プログラム21によってプログラムを更新する更新処理部63と、を備え、起動処理部65は、プログラムの更新が失敗した場合、更新理由22に応じた起動モードでプログラムを起動する。
【選択図】図1
特許請求の範囲
【請求項1】
プログラムを記憶するプログラム記憶部と、
前記プログラムを起動する起動処理部と、
前記プログラムの更新用プログラム及び更新理由を受信し、前記更新用プログラムによって前記プログラムを更新する更新処理部と、を備え、
前記起動処理部は、前記プログラムの更新が失敗した場合、前記更新理由に応じた起動モードで前記プログラムを起動する
ことを特徴とする車載装置。
続きを表示(約 530 文字)
【請求項2】
前記起動処理部は、前記更新理由が前記プログラムのセキュリティ脆弱性に対策することである場合、前記プログラムの更新だけを行う縮退モードで前記プログラムを起動する ことを特徴とする請求項1に記載の車載装置。
【請求項3】
前記起動処理部は、前記更新理由が前記プログラムの一部機能の欠陥に対策することである場合、欠陥のある前記一部機能を実行不可に制限する機能制限モードで前記プログラムを起動する
ことを特徴とする請求項1に記載の車載装置。
【請求項4】
前記プログラム記憶部は、前記プログラムを記憶する複数の記憶面を有し、
前記起動処理部は、前記更新理由が前記プログラムの機能を改善することである場合、前記複数の記憶面の何れかに記憶された起動可能な前記プログラムを起動する
ことを特徴とする請求項1に記載の車載装置。
【請求項5】
請求項1に記載の車載装置が搭載された車両と、
無線通信ネットワークを介して前記車両に接続され、前記更新用プログラム及び前記更新理由を前記車両に送信するサーバ装置と、
を備えることを特徴とするプログラム更新システム。
発明の詳細な説明
【技術分野】
【0001】
本発明は、プログラムが実装された車載装置、及び、当該プログラムを更新するプログラム更新システムに関する。
続きを表示(約 1,500 文字)
【背景技術】
【0002】
車両を制御するECU(Electronic Control Unit)やゲートウェイECU等の、プログラムが実装された車載装置では、OTA(Over The Air)等によって当該プログラムを更新することが知られている。この種の車載装置では、プログラムの更新中に車載装置への通電が遮断される(以下「電源断」とも称する)等の事象が発生すると、プログラムの更新に失敗する場合がある。この場合、車載装置は、プログラムの更新だけを行う縮退モードでプログラムを起動することが一般的であり、最悪の場合、車両が正常に動作することができない状態(以下「動作不可状態」とも称する)になる。特許文献1には、プログラムの更新が正常に行われなかった場合でも、簡易プログラムを起動して車両退避走行を行う技術が開示されている。
【先行技術文献】
【特許文献】
【0003】
特開2010-125925号公報
【発明の概要】
【発明が解決しようとする課題】
【0004】
特許文献1に開示された技術では、プログラム更新失敗時に、簡易プログラムを起動して車両退避走行を行うことにより、車両が動作不可状態になることを低減することが期待される。しかしながら、特許文献1に開示された技術は、簡易プログラムに機能欠陥等があった場合、車両が動作不可状態になる虞があり、改善の余地がある。
【0005】
本発明は、上記に鑑みてなされたものであり、プログラム更新失敗時であっても車両が動作不可状態になることを極力低減することを目的とする。
【課題を解決するための手段】
【0006】
上記課題を解決するために、本発明の車載装置は、プログラムを記憶するプログラム記憶部と、前記プログラムを起動する起動処理部と、前記プログラムの更新用プログラム及び更新理由を受信し、前記更新用プログラムによって前記プログラムを更新する更新処理部と、を備え、前記起動処理部は、前記プログラムの更新が失敗した場合、前記更新理由に応じた起動モードで前記プログラムを起動することを特徴とする。
【発明の効果】
【0007】
本発明によれば、プログラム更新失敗時であっても車両が動作不可状態になることを極力低減することができる。
上記以外の課題、構成および効果は、以下の実施形態の説明により明らかにされる。
【図面の簡単な説明】
【0008】
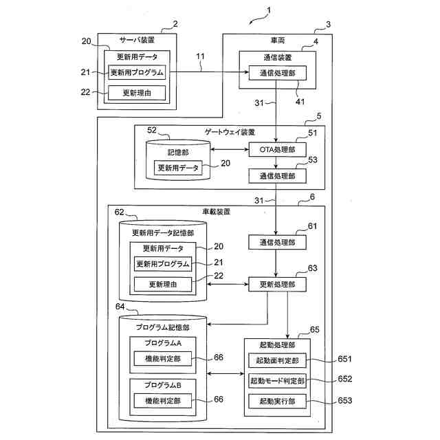
実施形態1のプログラム更新システムの構成を示す図。
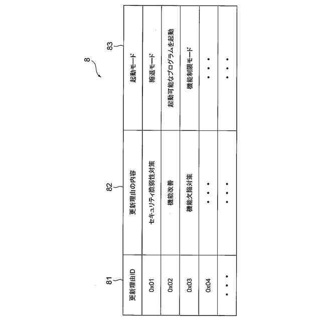
図1に示す起動モード判定部により参照される更新理由テーブルを示す図。
図1に示すプログラム更新システムの処理を示すシーケンス図。
図3に示すS116において行われる機能判定処理のフローチャート。
実施形態2のプログラム更新システムの構成を示す図。
【発明を実施するための形態】
【0009】
以下、本発明の実施形態について図面を用いて説明する。なお、各実施形態において同一の符号を付された構成については、特に言及しない限り、各実施形態において同様の機能を有し、その説明を省略する。
【0010】
[実施形態1]
図1~図4を用いて、実施形態1のプログラム更新システム1について説明する。
図1は、実施形態1のプログラム更新システム1の構成を示す図である。図2は、図1に示す起動モード判定部652により参照される更新理由テーブル8を示す図である。
(【0011】以降は省略されています)
この特許をJ-PlatPat(特許庁公式サイト)で参照する
関連特許
Astemo株式会社
電圧検出装置
3日前
Astemo株式会社
電池管理システム
3日前
Astemo株式会社
回転電機のロータ構造
3日前
Astemo株式会社
インジェクタ駆動装置
3日前
Astemo株式会社
インジェクタ故障検出装置
3日前
Astemo株式会社
放電装置及び電力変換装置
4日前
Astemo株式会社
温度検出装置及び電圧検出装置
3日前
Astemo株式会社
電池監視装置及び電池管理システム
3日前
Astemo株式会社
半導体装置
3日前
Astemo株式会社
被牽引車用制御装置及び被牽引車バッテリ充電率調整システム
3日前
個人
工程設計支援装置
1か月前
個人
地球保全システム
5日前
個人
フラワーコートA
2か月前
個人
為替ポイント伊達夢貯
1か月前
個人
冷凍食品輸出支援構造
1か月前
個人
介護情報提供システム
2か月前
個人
携帯情報端末装置
1か月前
個人
表変換編集支援システム
25日前
個人
知財出願支援AIシステム
1か月前
個人
結婚相手紹介支援システム
1か月前
個人
AIによる情報の売買の仲介
1か月前
個人
パスワード管理支援システム
25日前
個人
行動時間管理システム
27日前
株式会社キーエンス
受発注システム
4日前
個人
海外支援型農作物活用システム
17日前
個人
AIキャラクター制御システム
25日前
個人
パスポートレス入出国システム
1か月前
株式会社キーエンス
受発注システム
4日前
株式会社アジラ
進入判定装置
1か月前
個人
アンケート支援システム
2か月前
個人
システム及びプログラム
18日前
個人
食品レシピ生成システム
4日前
日本精機株式会社
施工管理システム
1か月前
株式会社キーエンス
受発注システム
4日前
サクサ株式会社
中継装置
2か月前
キヤノン株式会社
表示システム
4日前
続きを見る
他の特許を見る