TOP
|
特許
|
意匠
|
商標
特許ウォッチ
Twitter
他の特許を見る
公開番号
2025139623
公報種別
公開特許公報(A)
公開日
2025-09-29
出願番号
2024038561
出願日
2024-03-13
発明の名称
ワイヤハーネス配索構造、及び、ワイヤハーネス
出願人
矢崎総業株式会社
代理人
弁理士法人虎ノ門知的財産事務所
主分類
H02G
3/04 20060101AFI20250919BHJP(電力の発電,変換,配電)
要約
【課題】車両への組付性を向上することができるワイヤハーネス配索構造及びワイヤハーネスを提供する。
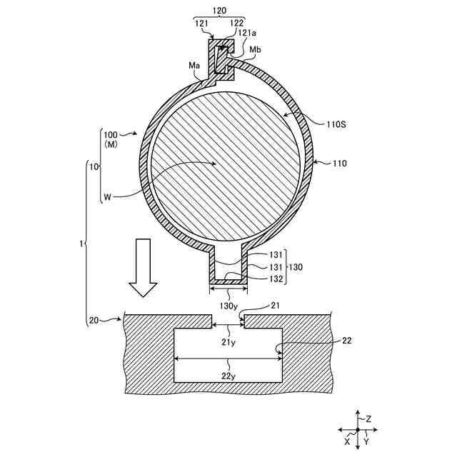
【解決手段】ワイヤハーネス配索構造1は、導電性を有する配索材W及びシート部材Mによって構成され配索材Wに取り付けられる外装部材100を含んで構成されるワイヤハーネス10と、車両の車体に設けられ、ワイヤハーネス10の配索経路に沿って形成される溝部20とを備え、外装部材100は、シート部材Mを筒状に折り曲げて形成され内部に配索材Wを挿通可能な本体部110と、本体部110を形成した状態でシート部材Mの端部同士を係合可能な係合部120と、シート部材Mを外側に折り曲げて形成され本体部110から突出した形状をなす突起部130とを有し、突起部130は、溝部20に挿入され、溝部20の形状にあわせ弾性変形した状態で、溝部20に対して嵌合する。
【選択図】図1
特許請求の範囲
【請求項1】
導電性を有する配索材、及び、シート部材によって構成され前記配索材に取り付けられる外装部材を含んで構成されるワイヤハーネスと、
車両の車体に設けられ、前記ワイヤハーネスの配索経路に沿って形成される溝部とを備え、
前記外装部材は、
前記シート部材を筒状に折り曲げて形成され内部に前記配索材を挿通可能な本体部と、
前記本体部を形成した状態で前記シート部材の端部同士を係合可能な係合部と、
前記シート部材を外側に折り曲げて形成され前記本体部から突出した形状をなす突起部とを有し、
前記突起部は、前記溝部に挿入され、当該溝部の形状にあわせ弾性変形した状態で、前記溝部に対して嵌合することを特徴とする、
ワイヤハーネス配索構造。
続きを表示(約 610 文字)
【請求項2】
前記係合部は、前記突起部が前記溝部に嵌合した状態で係合状態を解除可能である、
請求項1に記載のワイヤハーネス配索構造。
【請求項3】
前記係合部と前記突起部とは、前記溝部に対する前記突起部の嵌合方向に沿って互いに対向する位置に設けられる、
請求項1または2に記載のワイヤハーネス配索構造。
【請求項4】
前記突起部は、前記溝部に対する嵌合方向に沿って、前記本体部から突出して形成される一対の縦壁部と、前記縦壁部同士を連結する連結壁部とを含んで構成される、
請求項1または2に記載のワイヤハーネス配索構造。
【請求項5】
導電性を有する配索材と、
シート部材によって構成され、前記配索材に取り付けられる外装部材とを備え、
前記外装部材は、
前記シート部材を筒状に折り曲げて形成され内部に前記配索材を挿通可能な本体部と、
前記本体部を形成した状態で前記シート部材の端部同士を係合可能な係合部と、
前記シート部材を外側に折り曲げて形成され前記本体部から突出した形状をなす突起部とを有し、
前記突起部は、車両の車体に設けられ配索経路に沿って形成される溝部に挿入され、当該溝部の形状にあわせ弾性変形した状態で、前記溝部に対して嵌合することを特徴とする、
ワイヤハーネス。
発明の詳細な説明
【技術分野】
【0001】
本発明は、ワイヤハーネス配索構造、及び、ワイヤハーネスに関する。
続きを表示(約 1,400 文字)
【背景技術】
【0002】
例えば、特許文献1には、一対の舌片からなる取付部を備える、ワイヤハーネス用配索体が開示されている。
【先行技術文献】
【特許文献】
【0003】
特開平9-261826号公報
【発明の概要】
【発明が解決しようとする課題】
【0004】
ところで、上述の特許文献1に記載のワイヤハーネス用配索体は、舌片のばね力によって車体パネルに取り付けられるが、車両に対するワイヤハーネスの固定方法によっては、組付工数が増大する可能性があり、組付性が低下する傾向がある。
【0005】
本発明は、上記の事情に鑑みてなされたものであって、車両への組付性を向上することができるワイヤハーネス配索構造、及び、ワイヤハーネスを提供することを目的とする。
【課題を解決するための手段】
【0006】
上記目的を達成するために、本発明に係るワイヤハーネス配索構造は、導電性を有する配索材、及び、シート部材によって構成され前記配索材に取り付けられる外装部材を含んで構成されるワイヤハーネスと、車両の車体に設けられ、前記ワイヤハーネスの配索経路に沿って形成される溝部とを備え、前記外装部材は、前記シート部材を筒状に折り曲げて形成され内部に前記配索材を挿通可能な本体部と、前記本体部を形成した状態で前記シート部材の端部同士を係合可能な係合部と、前記シート部材を外側に折り曲げて形成され前記本体部から突出した形状をなす突起部とを有し、前記突起部は、前記溝部に挿入され、当該溝部の形状にあわせ弾性変形した状態で、前記溝部に対して嵌合することを特徴とする。
【0007】
上記目的を達成するために、本発明に係るワイヤハーネスは、導電性を有する配索材と、シート部材によって構成され、前記配索材に取り付けられる外装部材とを備え、前記外装部材は、前記シート部材を筒状に折り曲げて形成され内部に前記配索材を挿通可能な本体部と、前記本体部を形成した状態で前記シート部材の端部同士を係合可能な係合部と、前記シート部材を外側に折り曲げて形成され前記本体部から突出した形状をなす突起部とを有し、前記突起部は、車両の車体に設けられ配索経路に沿って形成される溝部に挿入され、当該溝部の形状にあわせ弾性変形した状態で、前記溝部に対して嵌合することを特徴とする。
【発明の効果】
【0008】
本発明に係るワイヤハーネス配索構造、及び、ワイヤハーネスは、車両への組付性を向上することができる、という効果を奏する。
【図面の簡単な説明】
【0009】
図1は、本実施形態に係るワイヤハーネス配索構造の概略構成を表す斜視図である。
図2は、本実施形態に係るワイヤハーネス配索構造の概略構成を表す断面図である。
図3は、本実施形態に係るワイヤハーネス配索構造の概略構成を表す断面図である。
【発明を実施するための形態】
【0010】
以下に、本発明に係る実施形態を図面に基づいて詳細に説明する。なお、この実施形態によりこの発明が限定されるものではない。また、下記実施形態における構成要素には、当業者が置換可能かつ容易なもの、あるいは実質的に同一のものが含まれる。
(【0011】以降は省略されています)
この特許をJ-PlatPat(特許庁公式サイト)で参照する
関連特許
矢崎総業株式会社
電線
2か月前
矢崎総業株式会社
端子
1か月前
矢崎総業株式会社
端子
1か月前
矢崎総業株式会社
箱状体
1か月前
矢崎総業株式会社
照明灯
26日前
矢崎総業株式会社
バスバ
1か月前
矢崎総業株式会社
導電体
2か月前
矢崎総業株式会社
導電体
2か月前
矢崎総業株式会社
箱状体
1か月前
矢崎総業株式会社
雌端子
1か月前
矢崎総業株式会社
コネクタ
1か月前
矢崎総業株式会社
コネクタ
2か月前
矢崎総業株式会社
コネクタ
19日前
矢崎総業株式会社
コネクタ
19日前
矢崎総業株式会社
コネクタ
1か月前
矢崎総業株式会社
コネクタ
26日前
矢崎総業株式会社
コネクタ
26日前
矢崎総業株式会社
コネクタ
26日前
矢崎総業株式会社
コネクタ
2か月前
矢崎総業株式会社
コネクタ
2か月前
矢崎総業株式会社
照明装置
1か月前
矢崎総業株式会社
コネクタ
1か月前
矢崎総業株式会社
コネクタ
1か月前
矢崎総業株式会社
コネクタ
1か月前
矢崎総業株式会社
コネクタ
1か月前
矢崎総業株式会社
コネクタ
17日前
矢崎総業株式会社
コネクタ
2か月前
矢崎総業株式会社
コネクタ
1か月前
矢崎総業株式会社
コネクタ
1か月前
矢崎総業株式会社
コネクタ
2か月前
矢崎総業株式会社
配索構造
1か月前
矢崎総業株式会社
コネクタ
1か月前
矢崎総業株式会社
コネクタ
2か月前
矢崎総業株式会社
コネクタ
1か月前
矢崎総業株式会社
コネクタ
11日前
矢崎総業株式会社
止水部材
3日前
続きを見る
他の特許を見る