TOP
|
特許
|
意匠
|
商標
特許ウォッチ
Twitter
他の特許を見る
10個以上の画像は省略されています。
公開番号
2025140460
公報種別
公開特許公報(A)
公開日
2025-09-29
出願番号
2024039878
出願日
2024-03-14
発明の名称
ワイヤハーネス、およびワイヤハーネスの製造方法
出願人
矢崎総業株式会社
代理人
弁理士法人虎ノ門知的財産事務所
主分類
H02G
3/04 20060101AFI20250919BHJP(電力の発電,変換,配電)
要約
【課題】U字形状に形成されたフラット配索材を直線形状に長尺化できるワイヤハーネスを提供する。
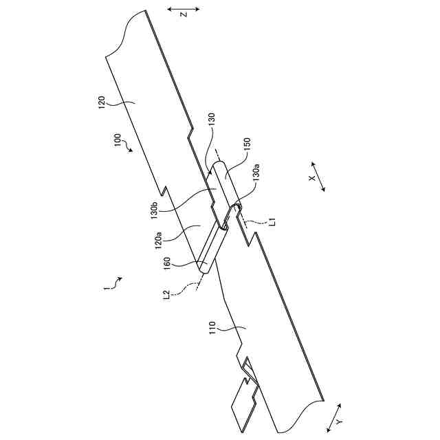
【解決手段】ワイヤハーネス1は、直線状の第一の部分110と、直線状の第二の部分120と、第一の部分の端部と第二の部分の端部とをつなぐ中間部130と、を有するU字形状に形成されたフラット配索材100と、第一の部分を保持する第一ケースと、第二の部分を保持する第二ケースと、を備え、第一ケースおよび第二ケースは、フラット配索材の形状を直線形状として互いに係合可能であり、直線形状のフラット配索材は、第一折り返し部150および第二折り返し部160を有し、第一折り返し部では、第一の部分が延在する延在方向Xに沿った折り返し線L1に沿って中間部が折り返され、第二折り返し部では、第二の部分の一部を中間部と重ねるように、延在方向と直交する折り返し線L2に沿って第二の部分が折り返される。
【選択図】図2
特許請求の範囲
【請求項1】
直線状の第一の部分と、直線状の第二の部分と、前記第一の部分の端部と前記第二の部分の端部とをつなぐ中間部と、を有するU字形状に形成されたフラット配索材と、
前記第一の部分を保持する第一ケースと、
前記第二の部分を保持する第二ケースと、
を備え、
前記第一ケースおよび前記第二ケースは、前記フラット配索材の形状を直線形状として互いに係合可能であり、
直線形状の前記フラット配索材では、平面視において前記第一の部分の延長線上に前記第二の部分が延在し、
直線形状の前記フラット配索材は、第一折り返し部および第二折り返し部を有し、
前記第一折り返し部では、前記第一の部分が延在する延在方向に沿った折り返し線に沿って前記中間部が折り返され、
前記第二折り返し部では、前記第二の部分の一部を前記中間部と重ねるように、前記延在方向と直交する折り返し線に沿って前記第二の部分が折り返される
ことを特徴とするワイヤハーネス。
続きを表示(約 560 文字)
【請求項2】
前記第一ケースは、前記第一折り返し部が形成された前記中間部を覆う保護カバーを有する
請求項1に記載のワイヤハーネス。
【請求項3】
前記保護カバーは、前記第二の部分を支持して前記第二折り返し部の位置を規制する規制部を有する
請求項2に記載のワイヤハーネス。
【請求項4】
U字形状に形成されたフラット配索材における直線状の第一の部分を第一ケースに収容する工程と、
前記フラット配索材における直線状の第二の部分を第二ケースに収容する工程と、
前記第一ケースと前記第二ケースとを重ね、前記フラット配索材における前記第一の部分と前記第二の部分とをつなぐ中間部に第一折り返し部を形成する工程と、
前記第一ケースと前記第二ケースとを相対回転させて前記第二の部分に第二折り返し部を形成する工程と、
を含み、
前記第一折り返し部を形成する工程では、前記第一の部分の延在方向に沿った折り返し線に沿って前記中間部が折り返され、
前記第二折り返し部を形成する工程では、前記第二の部分の一部を前記中間部と重ねるように、前記延在方向と直交する折り返し線に沿って前記第二折り返し部が折り返される
ワイヤハーネスの製造方法。
発明の詳細な説明
【技術分野】
【0001】
本発明は、ワイヤハーネス、およびワイヤハーネスの製造方法に関する。
続きを表示(約 2,300 文字)
【背景技術】
【0002】
従来、フレキシブルプリント基板等のフラット配索材がある。特許文献1には、長尺配線を容易に実現することが可能なフレキシブルプリント基板が開示されている。特許文献1のフレキシブルプリント基板は、導電部と導電部を覆う絶縁部とを有する第1帯状部材および第2帯状部材と、第1帯状部材の第1端部と第2帯状部材の第1端部とを連結する第1連結部材とを備える。
【先行技術文献】
【特許文献】
【0003】
特開2015-170699号公報
【発明の概要】
【発明が解決しようとする課題】
【0004】
U字形状に形成されたフラット配索材を直線形状に長尺化できることが望まれている。U字形状に形成されたフラット配索材を用いる場合、フラット配索材の製造コストや実装コストの低減が可能である。
【0005】
本発明の目的は、U字形状に形成されたフラット配索材を直線形状に長尺化できるワイヤハーネス、およびワイヤハーネスの製造方法を提供することである。
【課題を解決するための手段】
【0006】
本発明のワイヤハーネスは、直線状の第一の部分と、直線状の第二の部分と、前記第一の部分の端部と前記第二の部分の端部とをつなぐ中間部と、を有するU字形状に形成されたフラット配索材と、前記第一の部分を保持する第一ケースと、前記第二の部分を保持する第二ケースと、を備え、前記第一ケースおよび前記第二ケースは、前記フラット配索材の形状を直線形状として互いに係合可能であり、直線形状の前記フラット配索材では、平面視において前記第一の部分の延長線上に前記第二の部分が延在し、直線形状の前記フラット配索材は、第一折り返し部および第二折り返し部を有し、前記第一折り返し部では、前記第一の部分が延在する延在方向に沿った折り返し線に沿って前記中間部が折り返され、前記第二折り返し部では、前記第二の部分の一部を前記中間部と重ねるように、前記延在方向と直交する折り返し線に沿って前記第二の部分が折り返されることを特徴とする。
【0007】
本発明のワイヤハーネスの製造方法は、U字形状に形成されたフラット配索材における直線状の第一の部分を第一ケースに収容する工程と、前記フラット配索材における直線状の第二の部分を第二ケースに収容する工程と、前記第一ケースと前記第二ケースとを重ね、前記フラット配索材における前記第一の部分と前記第二の部分とをつなぐ中間部に第一折り返し部を形成する工程と、前記第一ケースと前記第二ケースとを相対回転させて前記第二の部分に第二折り返し部を形成する工程と、を含み、前記第一折り返し部を形成する工程では、前記第一の部分の延在方向に沿った折り返し線に沿って前記中間部が折り返され、前記第二折り返し部を形成する工程では、前記第二の部分の一部を前記中間部と重ねるように、前記延在方向と直交する折り返し線に沿って前記第二折り返し部が折り返されることを特徴とする。
【発明の効果】
【0008】
本発明に係るワイヤハーネスは、直線状の第一の部分と、直線状の第二の部分と、第一の部分の端部と第二の部分の端部とをつなぐ中間部と、を有するU字形状に形成されたフラット配索材と、第一の部分を保持する第一ケースと、第二の部分を保持する第二ケースと、を備え、第一ケースおよび第二ケースは、フラット配索材の形状を直線形状として互いに係合可能である。本発明に係るワイヤハーネスによれば、U字形状に形成されたフラット配索材を直線形状に長尺化できるという効果を奏する。
【0009】
本発明に係るワイヤハーネスの製造方法は、U字形状に形成されたフラット配索材における直線状の第一の部分を第一ケースに収容する工程と、フラット配索材における直線状の第二の部分を第二ケースに収容する工程と、第一ケースと第二ケースとを重ね、フラット配索材における第一の部分と第二の部分とをつなぐ中間部に第一折り返し部を形成する工程と、第一ケースと第二ケースとを相対回転させて第二の部分に第二折り返し部を形成する工程と、を含む。本発明に係るワイヤハーネスの製造方法によれば、U字形状に形成されたフラット配索材を直線形状に長尺化できるという効果を奏する。
【図面の簡単な説明】
【0010】
図1は、実施形態に係るワイヤハーネスの斜視図である。
図2は、実施形態に係る直線形状のフラット配索材を示す斜視図である。
図3は、実施形態に係るフラット配索材の平面図である。
図4は、実施形態に係るケースの平面図である。
図5は、実施形態に係るケースの斜視図である。
図6は、実施形態に係るワイヤハーネスの平面図である。
図7は、実施形態に係るワイヤハーネスの平面図である。
図8は、実施形態に係るワイヤハーネスの平面図である。
図9は、実施形態に係るワイヤハーネスの断面図である。
図10は、第一折り返し部が形成されたフラット配索材の斜視図である。
図11は、実施形態に係るワイヤハーネスの断面図である。
図12は、実施形態に係るワイヤハーネスの斜視図である。
図13は、実施形態に係るワイヤハーネスの断面図である。
図14は、実施形態に係るワイヤハーネスの斜視図である。
【発明を実施するための形態】
(【0011】以降は省略されています)
この特許をJ-PlatPat(特許庁公式サイト)で参照する
関連特許
矢崎総業株式会社
端子
1か月前
矢崎総業株式会社
端子
1か月前
矢崎総業株式会社
照明灯
26日前
矢崎総業株式会社
雌端子
1か月前
矢崎総業株式会社
バスバ
1か月前
矢崎総業株式会社
箱状体
1か月前
矢崎総業株式会社
箱状体
1か月前
矢崎総業株式会社
コネクタ
2か月前
矢崎総業株式会社
コネクタ
7日前
矢崎総業株式会社
コネクタ
26日前
矢崎総業株式会社
コネクタ
26日前
矢崎総業株式会社
コネクタ
19日前
矢崎総業株式会社
コネクタ
10日前
矢崎総業株式会社
コネクタ
19日前
矢崎総業株式会社
コネクタ
1か月前
矢崎総業株式会社
コネクタ
11日前
矢崎総業株式会社
コネクタ
1か月前
矢崎総業株式会社
コネクタ
1か月前
矢崎総業株式会社
照明装置
1か月前
矢崎総業株式会社
コネクタ
1か月前
矢崎総業株式会社
コネクタ
1か月前
矢崎総業株式会社
コネクタ
26日前
矢崎総業株式会社
コネクタ
2か月前
矢崎総業株式会社
コネクタ
17日前
矢崎総業株式会社
コネクタ
3日前
矢崎総業株式会社
コネクタ
3日前
矢崎総業株式会社
照明構造
3日前
矢崎総業株式会社
コネクタ
1か月前
矢崎総業株式会社
止水部材
3日前
矢崎総業株式会社
配索構造
1か月前
矢崎総業株式会社
コネクタ
1か月前
矢崎総業株式会社
コネクタ
1か月前
矢崎総業株式会社
コネクタ
5日前
矢崎総業株式会社
コネクタ
5日前
矢崎総業株式会社
コネクタ
1か月前
矢崎総業株式会社
コネクタ
1か月前
続きを見る
他の特許を見る