TOP
|
特許
|
意匠
|
商標
特許ウォッチ
Twitter
他の特許を見る
10個以上の画像は省略されています。
公開番号
2025141719
公報種別
公開特許公報(A)
公開日
2025-09-29
出願番号
2024055675
出願日
2024-03-29
発明の名称
プログラムの更新方法及び情報処理システム
出願人
セイコーエプソン株式会社
代理人
個人
,
個人
,
個人
主分類
G06F
8/65 20180101AFI20250919BHJP(計算;計数)
要約
【課題】特定の事象が発生した場合にプログラムの特定の機能を迅速に制限する。
【解決手段】第1サーバー100及び端末装置300と通信可能な第2サーバー200が、端末装置300からの要求に応じて実行されるウェブアプリケーションとして第1プログラムPG1を記憶し、第2サーバー200が、第1プログラムPG1を第1プログラムPG1の一部の機能が制限された第2プログラムPG2に更新するか否かを判定し、第1プログラムPG1を第2プログラムPG2に更新すると判定した場合、第2サーバー200が、第1プログラムPG1を第2プログラムPG2に更新することを要求する更新要求情報REQuを第1サーバー100に送信し、第1サーバー100は、更新要求情報REQuに基づいて、第2プログラムPG2を第2サーバー200に送信し、第2サーバー200は、第1プログラムPG1を第2プログラムPG2に更新する。
【選択図】図2
特許請求の範囲
【請求項1】
第1サーバー装置及び端末装置と通信可能な第2サーバー装置が、前記端末装置からの要求に応じて実行されるプログラムとして第1プログラムを記憶し、
前記第2サーバー装置が、前記第1プログラムを前記第1プログラムの一部の機能が制限された第2プログラムに更新するか否かを判定し、
前記第1プログラムを前記第2プログラムに更新すると判定した場合、前記第2サーバー装置が、前記第1プログラムを前記第2プログラムに更新することを要求する更新要求情報を前記第1サーバー装置に送信し、
前記第1サーバー装置は、前記更新要求情報に基づいて、前記第2プログラムを前記第2サーバー装置に送信し、
前記第2サーバー装置は、前記第1プログラムを前記第2プログラムに更新する、
ことを特徴とするプログラムの更新方法。
続きを表示(約 1,600 文字)
【請求項2】
前記第1プログラムは、表示装置に第1画面を表示させる第1機能と、前記第1画面を演出する第2機能とを有し、
前記第2プログラムは、前記第1プログラムの機能のうちの前記第2機能が制限されたプログラムである、
請求項1に記載のプログラムの更新方法。
【請求項3】
前記第2プログラムは、前記第1プログラムが実行された場合に前記端末装置に表示されるアイコンのうち、前記第1画面を演出するための操作アイコンを非表示とする機能を有する、
請求項2に記載のプログラムの更新方法。
【請求項4】
前記第2プログラムは、前記第1プログラムが実行された場合に前記端末装置に表示されるアイコンのうち、前記第1画面を演出するための操作アイコンを選択不可に表示する機能を有する、
請求項2に記載のプログラムの更新方法。
【請求項5】
前記第2プログラムは、前記第1プログラムが実行された場合に前記端末装置に表示されるアイコンのうち、前記第1画面を演出するための操作アイコンを他のアイコンに置き換える機能を有する、
請求項2に記載のプログラムの更新方法。
【請求項6】
前記第2プログラムは、前記第1プログラムが実行された場合に前記端末装置に表示される実行結果画面とは異なる色で前記実行結果画面を表示する機能を有する、
請求項1から請求項5の何れか1項に記載のプログラムの更新方法。
【請求項7】
前記第2プログラムは、前記一部の機能が制限された旨を通知する機能を有する、
請求項1から請求項5の何れか1項に記載のプログラムの更新方法。
【請求項8】
端末装置と通信可能なサーバー装置が、前記端末装置からの要求に応じて実行される第1プログラムと、前記第1プログラムの機能のうち制限する機能を示す制限情報と、を記憶し、
前記第1プログラムの一部の機能を制限すると判定した場合、前記サーバー装置が、前記第1プログラムの機能を、前記制限情報に基づいて制限する、
ことを特徴とするプログラムの更新方法。
【請求項9】
第1通信装置と、
第1プログラム、及び、前記第1プログラムの一部の機能が制限された第2プログラムを記憶する第1記憶装置と、
前記第1プログラム及び前記第2プログラムを、前記第1通信装置を介して送信する第1制御装置と、
を備える第1サーバー装置と、
第2通信装置と、
前記第1プログラム及び前記第2プログラムを、端末装置からの要求に応じて実行されるプログラムとして記憶する第2記憶装置と、
前記プログラムの実行を要求する実行要求情報を前記第2通信装置が受信した場合、前記プログラムとして前記第1プログラム及び前記第2プログラムのいずれを実行するかを判定し、
前記第2プログラムを実行すると判定した場合、前記第2プログラムを実行し、
前記プログラムの実行結果を示す結果情報を、前記第2通信装置を介して送信し、前記第1プログラムを前記第2プログラムに更新すると判定した場合、前記第1プログラムを前記第2プログラムに更新することを要求する更新要求情報を、前記第2通信装置を介して前記第1サーバー装置に送信する、
第2制御装置と、
を備える第2サーバー装置と、
第3通信装置と、
表示装置と、
前記実行要求情報を、前記第3通信装置を介して前記第2サーバー装置に送信し、
前記結果情報を前記第3通信装置が前記第2サーバー装置から受信した場合、前記結果情報に基づいて、前記プログラムの実行結果を前記表示装置に表示させる、
第3制御装置と、
を備えることを特徴とする情報処理システム。
発明の詳細な説明
【技術分野】
【0001】
本発明は、プログラムの更新方法及び情報処理システムに関する。
続きを表示(約 2,700 文字)
【背景技術】
【0002】
ユーザーが利用するアプリケーションプログラムの更新は、従来から行われている。特許文献1には、プログラムのアップデートの重要度が高い場合、ユーザーの携帯端末装置の表示部にアップデート通知を表示する点が開示されている。例えば、ユーザーは、携帯端末装置の表示部にアップデート通知が表示された場合、携帯端末装置に記憶されたプログラムをアップデートするための操作を行う。
【先行技術文献】
【特許文献】
【0003】
特開2020-170230号公報
【発明の概要】
【発明が解決しようとする課題】
【0004】
ところで、アプリケーションプログラムは、有事等の特定の事象が発生している期間において、特定の機能が制限されることが望ましい場合がある。例えば、特定の事象が発生している期間において、プログラムを、特定の機能が制限されたプログラムに更新することが考えられる。しかしながら、アップデート通知を確認したユーザーがプログラムを更新するための操作を行う特許文献1の方法では、ユーザーがプログラムの更新を許可しない場合、制限すべき特定の機能は制限されない。このため、特定の事象が発生した場合に、プログラムの特定の機能を迅速に制限することが望まれている。
【課題を解決するための手段】
【0005】
本発明に係るプログラムの更新方法では、第1サーバー装置及び端末装置と通信可能な第2サーバー装置が、前記端末装置からの要求に応じて実行されるプログラムとして第1プログラムを記憶し、前記第2サーバー装置が、前記第1プログラムを前記第1プログラムの一部の機能が制限された第2プログラムに更新するか否かを判定し、前記第1プログラムを前記第2プログラムに更新すると判定した場合、前記第2サーバー装置が、前記第1プログラムを前記第2プログラムに更新することを要求する更新要求情報を前記第1サーバー装置に送信し、前記第1サーバー装置は、前記更新要求情報に基づいて、前記第2プログラムを前記第2サーバー装置に送信し、前記第2サーバー装置は、前記第1プログラムを前記第2プログラムに更新する。
【0006】
また、本発明に係るプログラムの更新方法では、端末装置と通信可能なサーバー装置が、前記端末装置からの要求に応じて実行される第1プログラムと、前記第1プログラムの機能のうち制限する機能を示す制限情報と、を記憶し、前記第1プログラムの一部の機能を制限すると判定した場合、前記サーバー装置が、前記第1プログラムの機能を、前記制限情報に基づいて制限する。
【0007】
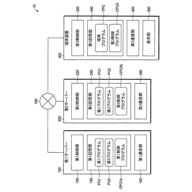
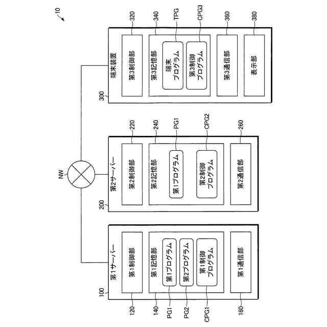
また、本発明に係る情報処理システムは、第1通信装置と、第1プログラム、及び、前記第1プログラムの一部の機能が制限された第2プログラムを記憶する第1記憶装置と、前記第1プログラム及び前記第2プログラムを、前記第1通信装置を介して送信する第1制御装置と、備える第1サーバー装置と、第2通信装置と、前記第1プログラム及び前記第2プログラムを、端末装置からの要求に応じて実行されるプログラムとして記憶する第2記憶装置と、前記プログラムの実行を要求する実行要求情報を前記第2通信装置が受信した場合、前記プログラムとして前記第1プログラム及び前記第2プログラムのいずれを実行するかを判定し、前記第2プログラムを実行すると判定した場合、前記第2プログラムを実行し、前記プログラムの実行結果を示す結果情報を、前記第2通信装置を介して送信し、前記第1プログラムを前記第2プログラムに更新すると判定した場合、前記第1プログラムを前記第2プログラムに更新することを要求する更新要求情報を、前記第2通信装置を介して前記第1サーバー装置に送信する、第2制御装置と、を備える第2サーバー装置と、第3通信装置と、表示装置と、前記実行要求情報を、前記第3通信装置を介して前記第2サーバー装置に送信し、前記結果情報を前記第3通信装置が前記第2サーバー装置から受信した場合、前記結果情報に基づいて、前記プログラムの実行結果を前記表示装置に表示させる、第3制御装置と、を備える。
【図面の簡単な説明】
【0008】
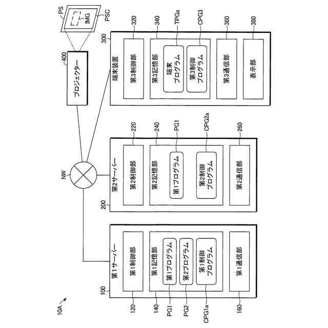
第1実施形態に係る情報処理システムの一例を説明するための説明図である。
第1実施形態に係る情報処理システムの動作の一例を説明するための説明図である。
第1実施形態に係る第1サーバーの動作の一例を示すフローチャートである。
第1実施形態に係る第2サーバーの動作の一例を示すフローチャートである。
第2実施形態に係る情報処理システムの一例を説明するための説明図である。
第2実施形態に係る情報処理システムの動作の一例を説明するための説明図である。
第2実施形態に係る端末装置の動作の一例を示すフローチャートである。
ウェブアプリケーションの実行結果として端末装置に表示される画面の一例を説明するための説明図である。
第3実施形態に係る情報処理システムの一例を説明するための説明図である。
第3実施形態に係る情報処理システムの動作の一例を説明するための説明図である。
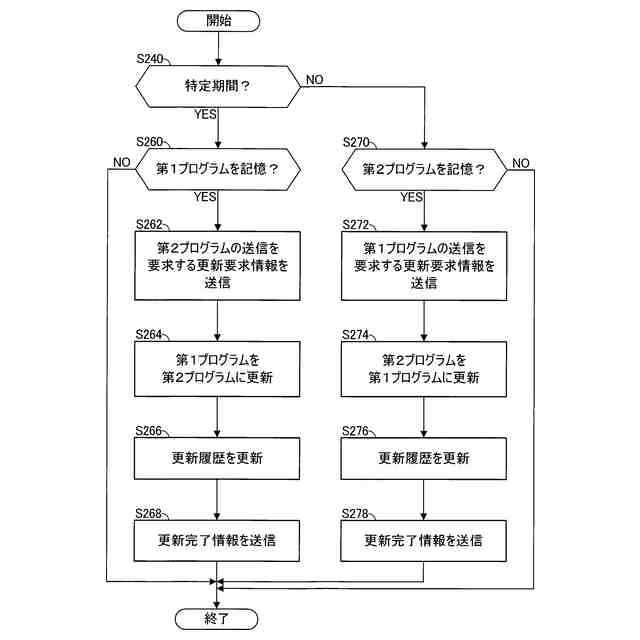
第3実施形態に係る第2サーバーの動作の一例を示すフローチャートである。
第4実施形態に係る情報処理システムの一例を説明するための説明図である。
第4実施形態に係る情報処理システムの動作の一例を説明するための説明図である。
第4実施形態に係る第2サーバーの動作の一例を示すフローチャートである。
第5実施形態に係る情報処理システムの一例を説明するための説明図である。
第5実施形態に係る情報処理システムの動作の一例を説明するための説明図である。
【発明を実施するための形態】
【0009】
以下、本発明を実施するための形態について図面を参照して説明する。但し、各図において、各部の寸法及び縮尺は、実際のものと適宜に異ならせてある。また、以下に述べる実施の形態は、本発明の好適な具体例であるから、技術的に好ましい種々の限定が付されているが、本発明の範囲は、以下の説明において特に本発明を限定する旨の記載がない限り、これらの形態に限られるものではない。
【0010】
[1.第1実施形態]
先ず、図1を参照しつつ、第1実施形態に係る情報処理システム10の概要について説明する。
(【0011】以降は省略されています)
この特許をJ-PlatPat(特許庁公式サイト)で参照する
関連特許
セイコーエプソン株式会社
印刷装置
2日前
セイコーエプソン株式会社
印刷装置
今日
セイコーエプソン株式会社
印刷装置
今日
セイコーエプソン株式会社
印刷装置
2日前
セイコーエプソン株式会社
印刷装置
2日前
セイコーエプソン株式会社
印刷装置
2日前
セイコーエプソン株式会社
気体分離膜
2日前
セイコーエプソン株式会社
画像読取装置
2日前
セイコーエプソン株式会社
液体吐出装置
2日前
セイコーエプソン株式会社
虚像表示装置
2日前
セイコーエプソン株式会社
プロジェクター
5日前
セイコーエプソン株式会社
液体吐出ヘッド
2日前
セイコーエプソン株式会社
電子制御式機械時計
今日
セイコーエプソン株式会社
スクリーンの製造方法
2日前
セイコーエプソン株式会社
三次元造形物の製造方法
2日前
セイコーエプソン株式会社
治具、及び加工システム
2日前
セイコーエプソン株式会社
制御装置および表示装置
5日前
セイコーエプソン株式会社
波長可変干渉フィルター
2日前
セイコーエプソン株式会社
保持方法、及び加工方法
2日前
セイコーエプソン株式会社
インクジェットインク組成物
2日前
セイコーエプソン株式会社
電気光学装置および電子機器
2日前
セイコーエプソン株式会社
搬送装置、及び画像形成装置
2日前
セイコーエプソン株式会社
管理サーバ、及び管理システム
2日前
セイコーエプソン株式会社
虚像表示装置及び光学ユニット
2日前
セイコーエプソン株式会社
虚像表示装置及び光学ユニット
2日前
セイコーエプソン株式会社
虚像表示装置及び光学ユニット
2日前
セイコーエプソン株式会社
媒体排出装置及び画像読取装置
2日前
セイコーエプソン株式会社
虚像表示装置及び光学ユニット
2日前
セイコーエプソン株式会社
虚像表示装置及び光学ユニット
2日前
セイコーエプソン株式会社
虚像表示装置及び光学ユニット
2日前
セイコーエプソン株式会社
制御方法およびロボットシステム
2日前
セイコーエプソン株式会社
プリントヘッド、及び液体吐出装置
2日前
セイコーエプソン株式会社
固定焦点レンズ及びプロジェクター
5日前
セイコーエプソン株式会社
ヘッドユニット、及び液体吐出装置
今日
セイコーエプソン株式会社
ヘッドユニット、及び液体吐出装置
2日前
セイコーエプソン株式会社
表示装置および表示装置の制御方法
2日前
続きを見る
他の特許を見る