TOP
|
特許
|
意匠
|
商標
特許ウォッチ
Twitter
他の特許を見る
公開番号
2025144953
公報種別
公開特許公報(A)
公開日
2025-10-03
出願番号
2024044893
出願日
2024-03-21
発明の名称
保護シート、及びシート配設方法
出願人
株式会社ディスコ
代理人
個人
,
個人
,
個人
,
個人
,
個人
,
個人
主分類
H01L
21/301 20060101AFI20250926BHJP(基本的電気素子)
要約
【課題】保護対象の樹脂シートから剥離したときの低分子量成分の樹脂シートへの付着を防ぐ。
【解決手段】基板の一面に配設される樹脂シートの配設面を保護する保護シートであって、メタロセン触媒系ポリオレフィンシートからなる。中央に開口部を有するリングフレームと、該リングフレームの該開口部に配置された板状の基板と、に樹脂シートを配設して一体化するシート配設方法であって、該リングフレームの該開口部に該基板を配置しつつ該リングフレーム及び該基板を支持ユニットに載せる載置ステップと、メタロセン触媒系ポリオレフィンシートにより配設面が保護された樹脂シートから該メタロセン触媒系ポリオレフィンシートを剥離する剥離ステップと、該載置ステップ及び該剥離ステップの後、該支持ユニットに支持された該リングフレーム及び該基板に配設し、該樹脂シートを介して該リングフレーム及び該基板を一体化する一体化ステップと、を含む。
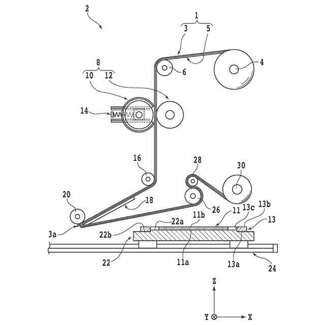
【選択図】図1
特許請求の範囲
【請求項1】
基板の一面に配設される樹脂シートの配設面を保護する保護シートであって、
メタロセン触媒系ポリオレフィンシートからなることを特徴とする保護シート。
続きを表示(約 480 文字)
【請求項2】
該樹脂シートは、ポリオレフィンシートまたはポリエチレンシートであることを特徴とする請求項1記載の保護シート。
【請求項3】
中央に開口部を有するリングフレームと、該リングフレームの該開口部に配置された板状の基板と、に樹脂シートを配設して一体化するシート配設方法であって、
該リングフレームの該開口部に該基板を配置しつつ該リングフレーム及び該基板を支持ユニットに載せる載置ステップと、
メタロセン触媒系ポリオレフィンシートにより配設面が保護された該樹脂シートから該メタロセン触媒系ポリオレフィンシートを剥離する剥離ステップと、
該載置ステップ及び該剥離ステップの後、該支持ユニットに支持された該リングフレーム及び該基板に配設し、該樹脂シートを介して該リングフレーム及び該基板を一体化する一体化ステップと、
を含むことを特徴とするシート配設方法。
【請求項4】
該樹脂シートは、ポリオレフィンシートまたはポリエチレンシートであることを特徴とする請求項3記載のシート配設方法。
発明の詳細な説明
【技術分野】
【0001】
本発明は、樹脂シートの配設面を保護する保護シート、及び、配設面が保護シートで保護された樹脂シートから保護シートを剥離して半導体ウェーハ等の基板に配設するシート配設方法に関する。
続きを表示(約 1,700 文字)
【背景技術】
【0002】
携帯電話やコンピュータ等の電子機器に使用されるデバイスチップは、複数のデバイスが表面に並べて形成された半導体ウェーハ等の基板をデバイス毎に分割することで形成される。基板を分割する装置として、円環状の切削ブレードで基板を切削する切削装置や、被加工物にレーザビームを照射してレーザ加工するレーザ加工装置が知られている。
【0003】
切削装置やレーザ加工装置等の加工装置で加工される基板には、ダイシングテープやエキスパンドテープと呼ばれる円形の粘着テープが予め貼着される。そして、粘着テープの外周部は、中央に開口部が形成されたリングフレームの内周部に貼着される。すなわち、基板と、粘着テープと、リングフレームと、が一体化されてフレームユニットが形成される。そして、フレームユニットの状態で基板が加工装置に搬入され加工される(特許文献1参照)。
【0004】
フレームユニットに組み込まれた状態の基板は、取り扱いが容易となる。また、基板を分割した後に粘着テープを外周方向に広げると、基板から形成されたチップ同士の間隔が広がり、チップのピックアップが容易となる。ここで、基板とリングフレームに粘着テープを貼着してフレームユニットを形成するテープ貼着装置が知られている(特許文献2,3参照)。
【0005】
粘着テープは、基材層と、基材層上に配設された糊層と、を含む。切削装置では、ウェーハを確実に分割するために、切削ブレードの下端がウェーハの下面よりも低い位置に達するように切削ユニットが所定の高さに位置付けられる。そのため、ウェーハを切削する切削ブレードは、粘着テープの糊層をも切削する。したがって、ウェーハの切削時には、ウェーハに由来する切削屑とともに糊層に由来する切削屑が発生する。この切削屑は切削で形成されるチップに付着することがあり、チップの品質を低下させる要因となる。
【0006】
また、レーザ加工装置では、アブレーション加工によりウェーハを確実に分割するために、ウェーハの表面から裏面に至る分割溝を確実に形成できる条件でレーザビームがウェーハに照射される。そのため、形成された分割溝の下方やその周囲では、レーザビームの照射による熱的な影響により粘着テープの糊層が溶融し、ウェーハから形成されたチップの裏面側に糊層の一部が固着する。そのため、チップの品質の低下が問題となる。
【0007】
そこで、粘着テープに代えて、糊層を備えない樹脂シートをウェーハに配設し、ウェーハを加工する技術が知られている(特許文献4,5参照)。糊層を備えない樹脂シートを熱圧着等の手法でウェーハ及びリングフレームに配設すると、糊層に起因する問題が生じなくなる。
【先行技術文献】
【特許文献】
【0008】
特開平10-242083号公報
特開2005-116928号公報
特開2018-133446号公報
特開2019-201016号公報
特開2020-64956号公報
【発明の概要】
【発明が解決しようとする課題】
【0009】
被加工物等の基板に接触する配設面にゴミや埃等が付着しないように、糊層を備えない樹脂シートの配設面には保護シート(剥離シート、離形シート)が配設されることがある。そして、基板に貼着する直前に樹脂シートから保護シートが剥離され、樹脂シートが基板に配設される。
【0010】
ここで、保護シートもまた樹脂製のシートである。一般的に、樹脂は構成分子の分子量が一定でなく、構成分子の分子量の分布は、平均的な分子量の近傍にピークを有する裾野の広い釣り鐘型形状となりやすい。そして、保護シートを構成する樹脂のうち分子量分布の低分子側の裾野領域に位置する低分子量の成分は、保護対象となる樹脂シートに貼り付きやすい。
(【0011】以降は省略されています)
この特許をJ-PlatPat(特許庁公式サイト)で参照する
関連特許
株式会社ディスコ
研削装置
今日
株式会社ディスコ
研磨装置
1日前
株式会社ディスコ
搬送システム
今日
株式会社ディスコ
ブレーキング装置
今日
株式会社ディスコ
洗浄装置及び洗浄方法
1日前
株式会社ディスコ
搬送機構および搬送方法
1日前
株式会社ディスコ
保護シート、及びシート配設方法
今日
株式会社ディスコ
ウエーハの処理方法及びウエーハの処理装置
2日前
株式会社ディスコ
シートの処理方法、チップの製造方法及び基板の製造方法
今日
株式会社ディスコ
フレームユニット形成方法およびフレームユニット形成装置
今日
個人
安全なNAS電池
28日前
個人
フリー型プラグ安全カバー
1か月前
東レ株式会社
多孔質炭素シート
23日前
日本発條株式会社
積層体
4日前
キヤノン株式会社
電子機器
23日前
個人
防雪防塵カバー
4日前
ローム株式会社
半導体装置
2日前
ローム株式会社
半導体装置
2日前
ローム株式会社
半導体装置
2日前
エイブリック株式会社
半導体装置
25日前
ローム株式会社
半導体装置
23日前
エイブリック株式会社
半導体装置
25日前
ローム株式会社
半導体装置
今日
東レ株式会社
ガス拡散層の製造方法
23日前
太陽誘電株式会社
全固体電池
今日
ニチコン株式会社
コンデンサ
16日前
株式会社ティラド
面接触型熱交換器
15日前
個人
半導体パッケージ用ガラス基板
3日前
沖電気工業株式会社
アンテナ
1か月前
オムロン株式会社
電磁継電器
1か月前
ニチコン株式会社
コンデンサ
16日前
株式会社GSユアサ
蓄電装置
今日
株式会社GSユアサ
蓄電装置
1か月前
株式会社ホロン
冷陰極電子源
今日
株式会社GSユアサ
蓄電装置
4日前
TDK株式会社
電子部品
今日
続きを見る
他の特許を見る