TOP
|
特許
|
意匠
|
商標
特許ウォッチ
Twitter
他の特許を見る
10個以上の画像は省略されています。
公開番号
2025145803
公報種別
公開特許公報(A)
公開日
2025-10-03
出願番号
2024046233
出願日
2024-03-22
発明の名称
フレームユニット形成方法およびフレームユニット形成装置
出願人
株式会社ディスコ
代理人
弁理士法人愛宕綜合特許事務所
主分類
H01L
21/683 20060101AFI20250926BHJP(基本的電気素子)
要約
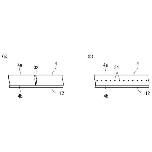
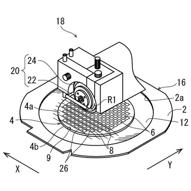
【課題】ウエーハを分割した際にデバイスチップの品質を低下させることのないフレームユニットを形成する方法および装置を提供する。
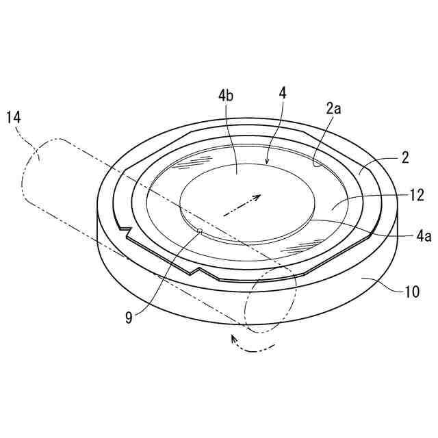
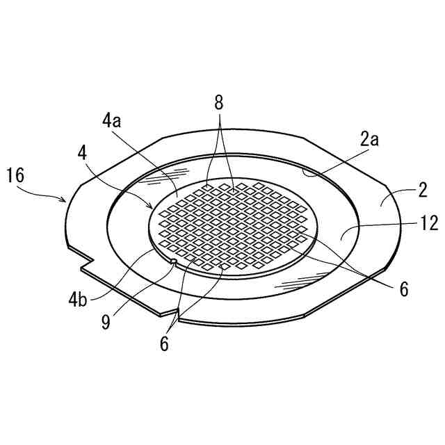
【解決手段】フレームユニット形成方法は、フレーム2の開口部2aにウエーハ4を配設する配設工程と、ウエーハ4とフレーム2の外周に熱圧着シート12を配設してウエーハ4とフレーム2とを熱圧着シート12によって一体化してフレームユニットを形成するフレームユニット形成工程とを少なくとも含み、フレームユニット形成工程の前に、ウエーハ4とフレーム2とに配設する側の熱圧着シート12の面にプラズマ処理またはコロナ処理を施して活性化させる活性化工程を備える。
【選択図】図2
特許請求の範囲
【請求項1】
ウエーハとウエーハを収容する開口部を中央に備えたフレームとを一体にするフレームユニットを形成するフレームユニット形成方法であって、
フレームの該開口部にウエーハを配設する配設工程と、
ウエーハとフレームの外周に熱圧着シートを配設してウエーハとフレームとを熱圧着シートによって一体化してフレームユニットを形成するフレームユニット形成工程と、
を少なくとも含み、
該フレームユニット形成工程の前に、ウエーハとフレームとに配設する側の熱圧着シートの面にプラズマ処理またはコロナ処理を施して活性化させる活性化工程を備えるフレームユニット形成方法。
続きを表示(約 760 文字)
【請求項2】
該活性化工程において、熱圧着シートに配設する側のウエーハの面とフレームの面にプラズマ処理またはコロナ処理を施して活性化させる請求項1記載のフレームユニット形成方法。
【請求項3】
該活性化工程において大気圧プラズマ処理を施す請求項1記載のフレームユニット形成方法。
【請求項4】
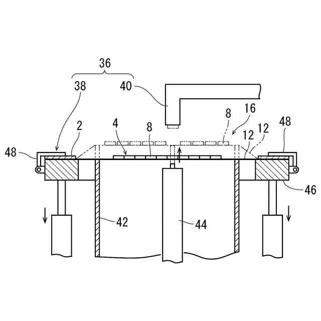
ウエーハを収容する開口部を中央に備えたフレームの該開口部にウエーハを収容して熱圧着シートによってフレームユニットを形成するフレームユニット形成装置であって、
複数のフレームを収容するフレーム収容手段と、複数のウエーハを収容するウエーハ収容手段と、該フレーム収容手段からフレームを搬出しフレームテーブルに載置するフレーム搬送手段と、該フレームテーブルに載置されたフレームに熱圧着シートを配設する熱圧着シート配設手段と、熱圧着シートが配設されたフレームをフレームユニット形成テーブルまで搬送するフレームシート搬送手段と、該ウエーハ収容手段からウエーハを搬出し該フレームユニット形成テーブルまで搬送するウエーハ搬出手段と、該フレームユニット形成テーブルに搬送された熱圧着シートが配設されたフレームとウエーハとを一体にしてフレームユニットを形成するフレームユニット形成手段と、フレームユニットをカセットに収容するカセット収容手段と、を含み、
該熱圧着シート配設手段によってフレームに配設される側の熱圧着シートにプラズマ処理またはコロナ処理を施す活性化手段を備えるフレームユニット形成装置。
【請求項5】
該フレームユニット形成テーブルに搬送されたウエーハにプラズマ処理またはコロナ処理を施すウエーハ活性化手段を備える請求項4記載のフレームユニット形成装置。
発明の詳細な説明
【技術分野】
【0001】
本発明は、フレームユニット形成方法およびフレームユニット形成装置に関する。
続きを表示(約 1,300 文字)
【背景技術】
【0002】
IC、LSIなどの複数のデバイスが分割予定ラインによって区画され表面に形成されたウエーハは、切削ブレードを回転可能に備えた切削装置によって個々のデバイスチップに分割され、分割された各デバイスチップは携帯電話、パソコンなどの電気機器に利用される。
【0003】
また、ウエーハは、切削装置に搬入される前にウエーハを収容する開口部を有するフレームの開口部に位置づけられ裏面からダイシングテープが貼着されてフレームユニットが形成される。
【0004】
そして、フレームユニットによってフレームと一体になったウエーハは切削装置によって個々のデバイスに分割され、その後ウエーハの形態を保った状態でピックアップ工程に搬送されダイシングテープから個々のデバイスチップがピックアップされて配線基板等にボンディングされる(たとえば特許文献1参照)。
【先行技術文献】
【特許文献】
【0005】
特許第3076179号公報
【発明の概要】
【発明が解決しようとする課題】
【0006】
しかし、ダイシングテープは、塩化ビニルシートの上面に糊層が敷設されていることから、切削ブレードでウエーハを切削すると糊が切削水とともに飛散してデバイスの表面に付着しデバイスチップの品質を低下させるという問題がある。
【0007】
また、ウエーハの分割予定ラインにレーザー光線を照射して分割溝または分割のきっかけを作ると、ダイシングテープの糊がデバイスに付着してデバイスチップの品質の低下を招くとともに、ピックアップ工程において汚染源になるという問題がある。
【0008】
本発明の課題は、ウエーハを分割した際にデバイスチップの品質を低下させることのないフレームユニットを形成する方法および装置を提供することである。
【課題を解決するための手段】
【0009】
本発明によれば、上記課題を解決する以下のフレームユニット形成方法が提供される。すなわち、
「ウエーハとウエーハを収容する開口部を中央に備えたフレームとを一体にするフレームユニットを形成するフレームユニット形成方法であって、
フレームの該開口部にウエーハを配設する配設工程と、
ウエーハとフレームの外周に熱圧着シートを配設してウエーハとフレームとを熱圧着シートによって一体化してフレームユニットを形成するフレームユニット形成工程と、
を少なくとも含み、
該フレームユニット形成工程の前に、ウエーハとフレームとに配設する側の熱圧着シートの面にプラズマ処理またはコロナ処理を施して活性化させる活性化工程を備えるフレームユニット形成方法」が提供される。
【0010】
好ましくは、該活性化工程において、熱圧着シートに配設する側のウエーハの面とフレームの面にプラズマ処理またはコロナ処理を施して活性化させる。該活性化工程において大気圧プラズマ処理を施すのが望ましい。
(【0011】以降は省略されています)
この特許をJ-PlatPat(特許庁公式サイト)で参照する
関連特許
株式会社ディスコ
ノズル
16日前
株式会社ディスコ
研削装置
2日前
株式会社ディスコ
加工装置
18日前
株式会社ディスコ
加工装置
16日前
株式会社ディスコ
研磨装置
3日前
株式会社ディスコ
フレーム
16日前
株式会社ディスコ
診断方法
6日前
株式会社ディスコ
切削装置
16日前
株式会社ディスコ
加工方法
17日前
株式会社ディスコ
切削装置
9日前
株式会社ディスコ
搬送システム
2日前
株式会社ディスコ
加工水供給装置
9日前
株式会社ディスコ
シート貼着装置
17日前
株式会社ディスコ
ノズルユニット
6日前
株式会社ディスコ
液体供給システム
16日前
株式会社ディスコ
ブレーキング装置
2日前
株式会社ディスコ
切削ブレード治具
6日前
株式会社ディスコ
被加工物の加工方法
16日前
株式会社ディスコ
洗浄装置及び洗浄方法
3日前
株式会社ディスコ
積層ウェーハの加工方法
6日前
株式会社ディスコ
押圧試験装置の評価方法
16日前
株式会社ディスコ
搬送機構および搬送方法
3日前
株式会社ディスコ
保持プレート及び洗浄装置
18日前
株式会社ディスコ
貼り合わせ基板の加工方法
16日前
株式会社ディスコ
廃液処理装置及び洗浄方法
18日前
株式会社ディスコ
切削ブレードのドレス方法
24日前
株式会社ディスコ
加工方法及びレーザ加工装置
16日前
株式会社ディスコ
試験装置、試験片の試験方法
6日前
株式会社ディスコ
端面処理工具及び端面処理方法
9日前
株式会社ディスコ
加工装置及び被加工物の加工方法
16日前
株式会社ディスコ
研磨装置及びウェーハの研磨方法
17日前
株式会社ディスコ
保護シート、及びシート配設方法
2日前
株式会社ディスコ
加工方法及びレーザ加工プログラム
16日前
株式会社ディスコ
加工装置およびウェーハの加工方法
17日前
株式会社ディスコ
保護部材形成装置および保護部材の形成方法
16日前
株式会社ディスコ
ウエーハの処理方法及びウエーハの処理装置
4日前
続きを見る
他の特許を見る