TOP
|
特許
|
意匠
|
商標
特許ウォッチ
Twitter
他の特許を見る
10個以上の画像は省略されています。
公開番号
2025141396
公報種別
公開特許公報(A)
公開日
2025-09-29
出願番号
2024041301
出願日
2024-03-15
発明の名称
地図作成装置、地図作成システム、および地図作成プログラム
出願人
パナソニックIPマネジメント株式会社
代理人
個人
,
個人
,
個人
主分類
G09B
29/00 20060101AFI20250919BHJP(教育;暗号方法;表示;広告;シール)
要約
【課題】有用な地図を移動ロボットに提供する。
【解決手段】地図作成装置140は、三次元測定機110が測定した三次元点情報を取得する情報取得部141と第一高さ領域T1に含まれる複数の三次元点情報を抽出し、第二高さ領域T2に含まれる複数の三次元点情報を抽出する領域限定部144と、第一高さ領域T1に含まれる三次元点情報、および第二高さ領域T2に含まれる三次元点情報のそれぞれについて複数の特定領域302内にそれぞれ含まれる複数の三次元点情報の内、三次元測定機110に最も近い三次元点情報を抽出する抽出部142と、抽出された複数の三次元点情報に基づき、二次元の第一地図311を作成し、抽出された第二高さ領域T2に対応する複数の三次元点情報に基づき、第二地図312を作成する地図作成部143と、第一地図311と第二地図312とを合成した合成地図310を作成する合成部145と、を備える。
【選択図】図2
特許請求の範囲
【請求項1】
移動可能な三次元測定機が測定した前記三次元測定機の周辺に存在する障害物の表面の複数箇所の位置をそれぞれ示す複数の三次元点情報を取得する情報取得部と、
複数の前記三次元点情報から第一高さ領域に含まれる複数の前記三次元点情報を抽出し、前記第一高さ領域とは異なる第二高さ領域に含まれる複数の前記三次元点情報を抽出する領域限定部と、
前記第一高さ領域に含まれる前記三次元点情報、および前記第二高さ領域に含まれる前記三次元点情報のそれぞれについて、複数の前記三次元点情報から前記三次元測定機が移動する移動平面と交差状態で並ぶ複数の抽出用平面をそれぞれ含む複数の特定領域内にそれぞれ含まれる複数の三次元点情報の内、前記移動平面に沿う方向において前記三次元測定機に最も近い前記三次元点情報を前記特定領域毎に抽出する抽出部と、
前記抽出部により抽出された前記第一高さ領域に対応する複数の三次元点情報に基づき、前記移動平面に沿った平面における二次元の第一地図を作成し、前記抽出部により抽出された前記第二高さ領域に対応する複数の三次元点情報に基づき、前記移動平面に沿った平面における二次元の第二地図を作成する地図作成部と、
前記第一地図と前記第二地図とを合成した合成地図を作成する合成部と、
を備える地図作成装置。
続きを表示(約 1,500 文字)
【請求項2】
前記合成部は、
前記第一地図と前記第二地図とが相違する前記合成地図の箇所に前記合成地図を利用する移動ロボットの障害物に近づくことができる距離を示す近接情報を付加する
請求項1に記載の地図作成装置。
【請求項3】
前記第一高さ領域は、前記合成地図を利用する移動ロボットが乗り越えることができる最高の高さ以上、前記移動ロボットが潜り込むことのできる最低の高さ以下の範囲であり、前記第二高さ領域は、前記第一高さ領域に含まれる
請求項1または2に記載の地図作成装置。
【請求項4】
前記抽出部は、
隣り合う前記特定領域の間に、前記三次元点情報が存在するように前記抽出用平面を選定する
請求項1または2に記載の地図作成装置。
【請求項5】
移動平面に沿って移動可能で、周辺に存在する障害物表面の複数箇所の位置を測定する三次元測定機と、
前記三次元測定機から取得した三次元点情報に基づき前記移動平面に沿った平面における二次元の地図を作成する地図作成装置と、
前記三次元測定機が測定した三次元点情報を取得する情報取得部と、
複数の前記三次元点情報から第一高さ領域に含まれる複数の前記三次元点情報を抽出し、前記第一高さ領域とは異なる第二高さ領域に含まれる複数の前記三次元点情報を抽出する領域限定部と、
前記第一高さ領域に含まれる前記三次元点情報、および前記第二高さ領域に含まれる前記三次元点情報のそれぞれについて、複数の前記三次元点情報から前記三次元測定機が移動する移動平面と交差状態で並ぶ複数の抽出用平面をそれぞれ含む複数の特定領域内にそれぞれ含まれる複数の三次元点情報の内、前記移動平面に沿う方向において前記三次元測定機に最も近い前記三次元点情報を前記特定領域毎に抽出する抽出部と、
前記抽出部により抽出された前記第一高さ領域に対応する複数の三次元点情報に基づき、前記移動平面に沿った平面における二次元の第一地図を作成し、前記抽出部により抽出された前記第二高さ領域に対応する複数の三次元点情報に基づき、前記移動平面に沿った
平面における二次元の第二地図を作成する地図作成部と、
前記第一地図と前記第二地図とを合成した合成地図を作成する合成部と、を備える
地図作成システム。
【請求項6】
移動可能な三次元測定機が測定した前記三次元測定機の周辺に存在する障害物の表面の複数箇所の位置をそれぞれ示す複数の三次元点情報を取得し、
複数の前記三次元点情報から第一高さ領域に含まれる複数の前記三次元点情報を抽出し、前記第一高さ領域とは異なる第二高さ領域に含まれる複数の前記三次元点情報を抽出し、
前記第一高さ領域に含まれる前記三次元点情報、および前記第二高さ領域に含まれる前記三次元点情報のそれぞれについて、複数の前記三次元点情報から前記三次元測定機が移動する移動平面と交差状態で並ぶ複数の抽出用平面をそれぞれ含む複数の特定領域内にそれぞれ含まれる複数の三次元点情報の内、前記移動平面に沿う方向において前記三次元測定機に最も近い前記三次元点情報を前記特定領域毎に抽出し、
抽出された前記第一高さ領域に対応する複数の三次元点情報に基づき、前記移動平面に沿った平面における二次元の第一地図を地図作成部に作成させ、抽出された前記第二高さ領域に対応する複数の三次元点情報に基づき、前記移動平面に沿った平面における二次元の第二地図を作成し、
前記第一地図と前記第二地図とを合成した合成地図を作成する
処理をプロセッサに実行させる地図作成プログラム。
発明の詳細な説明
【技術分野】
【0001】
本開示は、三次元の位置情報を含む複数の三次元点情報から二次元の地図を作成する地図作成装置、地図作成システム、および地図作成プログラムに関する。
続きを表示(約 2,700 文字)
【背景技術】
【0002】
例えば、特許文献1には、三次元点群において所定の高さ以下の範囲に含まれる三次元点情報から二次元の地図を作成することにより、所定の高さ未満の移動ロボットに有用な地図を提供する技術が記載されている。
【先行技術文献】
【特許文献】
【0003】
特開2023-23659号公報
【発明の概要】
【発明が解決しようとする課題】
【0004】
ところが、提供された地図のみの情報では移動ロボットが備える種類の異なる複数の距離センサに対応しきれていないため、移動ロボットが障害物に第一のセンサを用いてギリギリまで接近するか、第二のセンサを用いて余裕を持って回避するかなどの判断が困難な場合がある。
【0005】
本開示は、上記課題に鑑みなされたものであり、移動ロボットに対して有用な地図を提供する地図作成装置、地図作成システム、および地図作成プログラムを提供する。
【課題を解決するための手段】
【0006】
本開示の一態様に係る地図作成装置は、移動可能な三次元測定機が測定した前記三次元測定機の周辺に存在する障害物の表面の複数箇所の位置をそれぞれ示す複数の三次元点情報を取得する情報取得部と、複数の前記三次元点情報から第一高さ領域に含まれる複数の前記三次元点情報を抽出し、前記第一高さ領域とは異なる第二高さ領域に含まれる複数の前記三次元点情報を抽出する領域限定部と、前記第一高さ領域に含まれる前記三次元点情報、および前記第二高さ領域に含まれる前記三次元点情報のそれぞれについて、複数の前記三次元点情報から前記三次元測定機が移動する移動平面と交差状態で並ぶ複数の抽出用平面をそれぞれ含む複数の特定領域内にそれぞれ含まれる複数の三次元点情報の内、前記移動平面に沿う方向において前記三次元測定機に最も近い前記三次元点情報を前記特定領域毎に抽出する抽出部と、前記抽出部により抽出された前記第一高さ領域に対応する複数の三次元点情報に基づき、前記移動平面に沿った平面における二次元の第一地図を作成し、前記抽出部により抽出された前記第二高さ領域に対応する複数の三次元点情報に基づき、前記移動平面に沿った平面における二次元の第二地図を作成する地図作成部と、前記第一地図と前記第二地図とを合成した合成地図を作成する合成部と、を備える。
【0007】
本開示の一態様に係る地図作成システムは、移動平面に沿って移動可能で、周辺に存在する障害物表面の複数箇所の位置を測定する三次元測定機と、前記三次元測定機から取得した三次元点情報に基づき前記移動平面に沿った平面における二次元の地図を作成する地図作成装置と、前記三次元測定機が測定した三次元点情報を取得する情報取得部と、複数の前記三次元点情報から第一高さ領域に含まれる複数の前記三次元点情報を抽出し、前記第一高さ領域とは異なる第二高さ領域に含まれる複数の前記三次元点情報を抽出する領域限定部と、前記第一高さ領域に含まれる前記三次元点情報、および前記第二高さ領域に含まれる前記三次元点情報のそれぞれについて、複数の前記三次元点情報から前記三次元測
定機が移動する移動平面と交差状態で並ぶ複数の抽出用平面をそれぞれ含む複数の特定領域内にそれぞれ含まれる複数の三次元点情報の内、前記移動平面に沿う方向において前記三次元測定機に最も近い前記三次元点情報を前記特定領域毎に抽出する抽出部と、前記抽出部により抽出された前記第一高さ領域に対応する複数の三次元点情報に基づき、前記移動平面に沿った平面における二次元の第一地図を作成し、前記抽出部により抽出された前記第二高さ領域に対応する複数の三次元点情報に基づき、前記移動平面に沿った平面における二次元の第二地図を作成する地図作成部と、前記第一地図と前記第二地図とを合成した合成地図を作成する合成部と、を備える。
【0008】
本開示の一態様に係る地図作成プログラムは、移動可能な三次元測定機が測定した前記三次元測定機の周辺に存在する障害物の表面の複数箇所の位置をそれぞれ示す複数の三次元点情報を取得し、複数の前記三次元点情報から第一高さ領域に含まれる複数の前記三次元点情報を抽出し、前記第一高さ領域とは異なる第二高さ領域に含まれる複数の前記三次元点情報を抽出し、前記第一高さ領域に含まれる前記三次元点情報、および前記第二高さ領域に含まれる前記三次元点情報のそれぞれについて、複数の前記三次元点情報から前記三次元測定機が移動する移動平面と交差状態で並ぶ複数の抽出用平面をそれぞれ含む複数の特定領域内にそれぞれ含まれる複数の三次元点情報の内、前記移動平面に沿う方向において前記三次元測定機に最も近い前記三次元点情報を前記特定領域毎に抽出し、抽出された前記第一高さ領域に対応する複数の三次元点情報に基づき、前記移動平面に沿った平面における二次元の第一地図を地図作成部に作成させ、前記抽出部により抽出された前記第二高さ領域に対応する複数の三次元点情報に基づき、前記移動平面に沿った平面における二次元の第二地図を作成し、前記第一地図と前記第二地図とを合成した合成地図を作成する処理をプロセッサに実行させる。
【発明の効果】
【0009】
本開示によれば、障害物に対する移動ロボットの走行状態の判断に有用な地図を移動ロボットに提供することができる。
【図面の簡単な説明】
【0010】
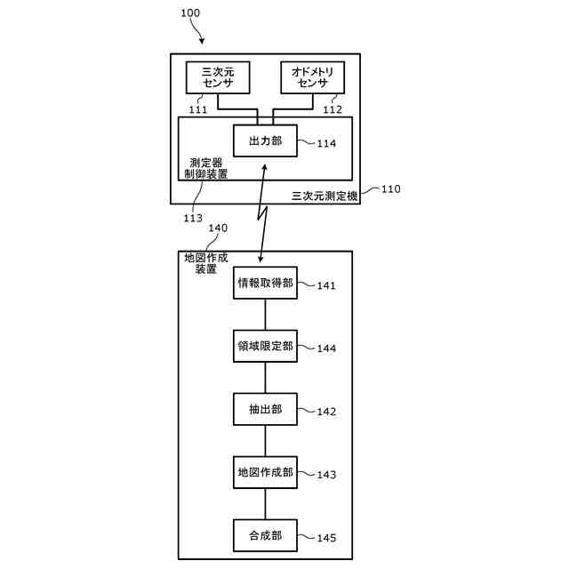
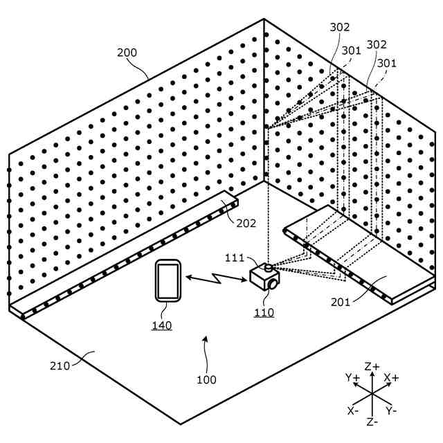
地図作成システムが部屋内部の地図を作成している状態を示す斜視図である。
三次元測定機、および地図作成装置の機能構成を示すブロック図である。
第一高さ領域、第二高さ領域と移動ロボットとの関係を示す側面図である。
抽出部が特定領域内の三次元点情報から抽出点を抽出する状態を示す側面図である。
地図作成部が作成した第一地図を示す図である。
地図作成部が作成した第二地図を示す図である。
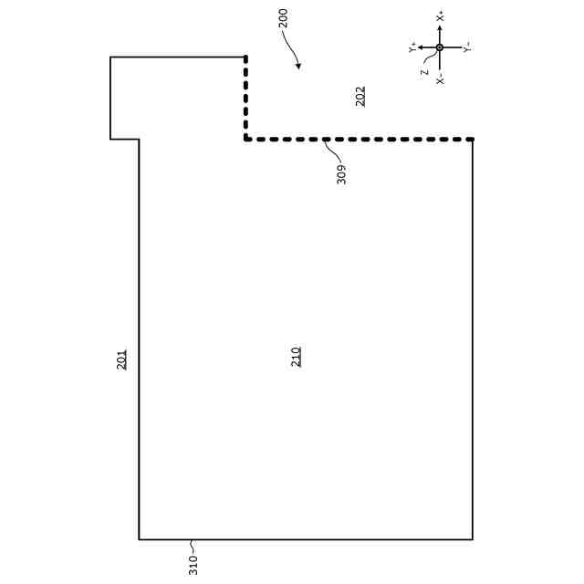
合成部が合成した合成地図を示す図である。
合成部の処理の流れを示すフローチャートである。
地図作成システムの別例1の機能構成を示すブロック図である。
地図作成システムの別例2の機能構成を示すブロック図である。
【発明を実施するための形態】
(【0011】以降は省略されています)
この特許をJ-PlatPat(特許庁公式サイト)で参照する
関連特許
個人
回転式カード学習具
1か月前
日本精機株式会社
表示装置
1か月前
日本精機株式会社
表示装置
3か月前
個人
時刻表示機能つき手帳
2か月前
日本精機株式会社
表示装置
13日前
個人
計算用教具
9日前
中国電力株式会社
標示旗
19日前
日本精機株式会社
車両用表示装置
2か月前
日本精機株式会社
車両用表示装置
1か月前
日本精機株式会社
車両用表示装置
2か月前
日本精機株式会社
車両用センサ装置
9日前
個人
モデルで薔薇の花嫁様を描く為
1か月前
トヨタ自動車株式会社
評価方法
2か月前
シャープ株式会社
表示装置
20日前
株式会社一弘社
情報表示板
1か月前
シャープ株式会社
表示装置
3か月前
個人
口唇閉鎖の訓練具
3か月前
個人
音楽教材
1か月前
パイオニア株式会社
表示装置
3か月前
株式会社ウメラボ
学習支援システム
5日前
株式会社半導体エネルギー研究所
半導体装置
2か月前
ニチレイマグネット株式会社
磁着式電飾装置
19日前
株式会社ノジマ
応対体験システム
3か月前
株式会社リコー
画像投射システム
20日前
シチズンファインデバイス株式会社
液晶表示装置
28日前
個人
サインポスト
2か月前
株式会社バンダイ
情報処理装置およびプログラム
3か月前
シチズンファインデバイス株式会社
液晶表示装置
1か月前
株式会社サンゲツ
見本帳
1か月前
BEST株式会社
吊り下げ表示部材
1か月前
学校法人関西医科大学
腹腔鏡手術訓練装置
19日前
厦門天馬顕示科技有限公司
走査回路
3か月前
シャープ株式会社
表示装置
1か月前
朝日インテック株式会社
心臓モデル装置
3か月前
シャープ株式会社
表示装置
1か月前
個人
ピアノの指トレーニング器具及び練習方法
2か月前
続きを見る
他の特許を見る