TOP
|
特許
|
意匠
|
商標
特許ウォッチ
Twitter
他の特許を見る
10個以上の画像は省略されています。
公開番号
2025142043
公報種別
公開特許公報(A)
公開日
2025-09-29
出願番号
2025119394,2022566511
出願日
2025-07-16,2021-11-24
発明の名称
表示装置
出願人
株式会社半導体エネルギー研究所
代理人
主分類
G09F
9/30 20060101AFI20250919BHJP(教育;暗号方法;表示;広告;シール)
要約
【課題】高精細な表示装置を提供する。
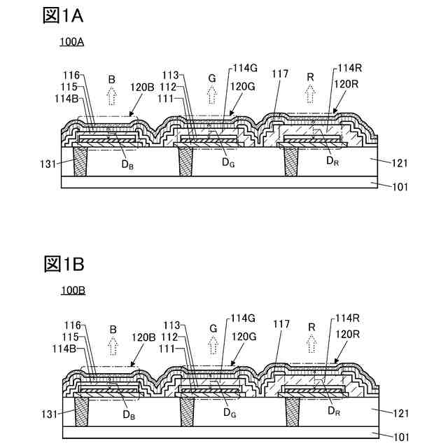
【解決手段】表示装置は、異なる色の光を呈する複数の発光素子を備える。発光素子は、マイクロキャビティ構造(微小共振器構造)が実現され、特定の波長の光が強められる。異なる色の光を呈する発光素子は、下部電極上に反射層と、厚さの異なる導電層を有し、下部電極と導電層は、発光素子内で電気的に接続される。異なる光路長によって、異なる色が強められた発光素子が作り分けられている。
【選択図】図1
特許請求の範囲
【請求項1】
発光素子を有する画素を複数有する表示装置であって、
前記画素の少なくとも一は、
画素電極としての機能を有する第1の導電層と、
前記第1の導電層の上方に位置する領域を有し、且つ可視光を反射する機能を有する第2の導電層と、
前記第2の導電層の上方に位置する領域を有する第1の絶縁層と、
前記第1の導電層の上面と接する領域と、前記第1の絶縁層の上方に位置する領域と、を有する第3の導電層と、
前記第3の導電層の上方に位置する領域を有するEL層と、
前記EL層の上方に位置する領域を有し、且つ共通電極としての機能を有する第4の導電層と、を有する、表示装置。
続きを表示(約 760 文字)
【請求項2】
第1の発光素子を有する第1の画素と、第2の発光素子を有する第2の画素と、を少なくとも有する表示装置であって、
前記第1の画素の画素電極としての機能を有する第1の導電層と、
前記第1の導電層の上方に位置する領域を有し、且つ可視光を反射する機能を有する第2の導電層と、
前記第2の導電層の上方に位置する領域を有する第1の絶縁層と、
前記第1の導電層の上面と接する領域と、前記第1の絶縁層の上方に位置する領域と、を有する第3の導電層と、
前記第2の画素の画素電極としての機能を有する第4の導電層と、
前記第4の導電層の上方に位置する領域を有し、且つ可視光を反射する機能を有する第5の導電層と、
前記第5の導電層の上方に位置する領域を有する第2の絶縁層と、
前記第4の導電層の上面と接する領域と、前記第2の絶縁層の上方に位置する領域と、を有する第6の導電層と、を有し、
前記第3の導電層の上方に位置する領域と、前記第6の導電層の上方に位置する領域と、を有するEL層と、
前記EL層を介して第3の導電層の上方に位置する領域と、前記EL層を介して前記第6の導電層の上方に位置する領域と、を有し、且つ共通電極としての機能を有する第7の導電層と、を有し、
前記第1の発光素子と、前記第2の発光素子とは、異なる色を呈し、
前記第3の導電層の膜厚と、前記第6の導電層の膜厚とは、互いに異なる、表示装置。
【請求項3】
請求項2において、
前記第1の発光素子は、前記第2の発光素子よりも短波長に位置する光を呈し、
前記第3の導電層の膜厚は、前記第6の導電層の膜厚よりも小さい、表示装置。
発明の詳細な説明
【技術分野】
【0001】
本発明の一態様は、表示装置、及び表示モジュールに関する。本発明の一様態は、表示装置の作製方法に関する。
続きを表示(約 1,500 文字)
【0002】
なお、本発明の一態様は、上記の技術分野に限定されない。本明細書等で開示する本発明の一態様の技術分野としては、半導体装置、表示装置、発光装置、蓄電装置、記憶装置、電子機器、照明装置、入力装置、入出力装置、それらの駆動方法、又はそれらの製造方法、を一例として挙げることができる。なお、本明細書等において、半導体装置は、半導体特性を利用することで機能しうる装置全般を指すものとする。
【背景技術】
【0003】
近年、ディスプレイパネルの高精細化が求められている。高精細なディスプレイパネルが要求される機器としては、例えば、仮想現実(VR:Virtual Reality)、拡張現実(AR:Augmented Reality)、代替現実(SR:Substitutional Reality)、または複合現実(MR:Mixed Reality)向けの機器が挙げられ、近年盛んに開発されている。
【0004】
また、ディスプレイパネルに適応可能な表示装置としては、代表的には液晶表示装置、有機EL(Electro Luminescence)素子、発光ダイオード(LED:Light Emitting Diode)等の発光素子を備える発光装置、または電気泳動方式などにより表示を行う電子ペーパなどが挙げられる。
【0005】
例えば、有機EL素子の基本的な構成は、一対の電極間に発光性の有機化合物を含む層を挟持したものである。この素子に電圧を印加することにより、発光性の有機化合物から発光を得ることができる。このような有機EL素子が適用された表示装置は、液晶表示装置等で必要であったバックライトが不要なため、薄型、軽量、高コントラストで且つ低消費電力な表示装置を実現できる。例えば、有機EL素子を用いた表示装置の一例が、特許文献1に記載されている。
【先行技術文献】
【特許文献】
【0006】
特開2002-324673号公報
【発明の概要】
【発明が解決しようとする課題】
【0007】
例えば、上述したVR、AR、SR、またはMR向けの装着型の機器では、目とディスプレイパネルとの間に焦点調整用のレンズを設ける必要がある。当該レンズにより画面の一部が拡大されるため、ディスプレイパネルの精細度が低いと、現実感及び没入感が薄れてしまうといった問題がある。
【0008】
また、ディスプレイパネルには、高い色再現性が求められる。特に上述したVR、AR、SR、またはMR向けの機器において、色再現性の高いディスプレイパネルを用いることによって、現実の物体色に近い表示を行うことができ、現実感及び没入感を高めることができる。
【0009】
本発明の一態様は、極めて高精細な表示装置を提供することを課題の一とする。本発明の一態様は、高い色再現性が実現された表示装置を提供することを課題の一とする。本発明の一態様は、高輝度な表示装置を提供することを課題の一とする。本発明の一態様は、信頼性の高い表示装置を提供することを課題の一とする。また、本発明の一態様は、上述した表示装置を製造する方法を提供することを課題の一とする。
【0010】
なお、これらの課題の記載は、他の課題の存在を妨げるものではない。なお、本発明の一態様は、これらの課題の全てを解決する必要はないものとする。なお、これら以外の課題は、明細書、図面、請求項などの記載から抽出することが可能である。
【課題を解決するための手段】
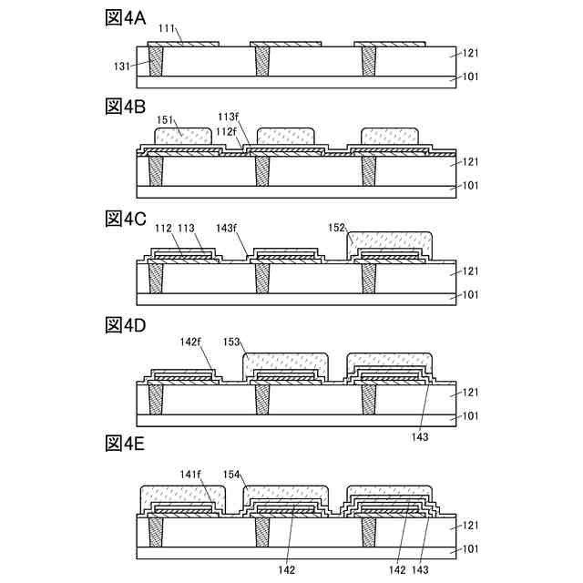
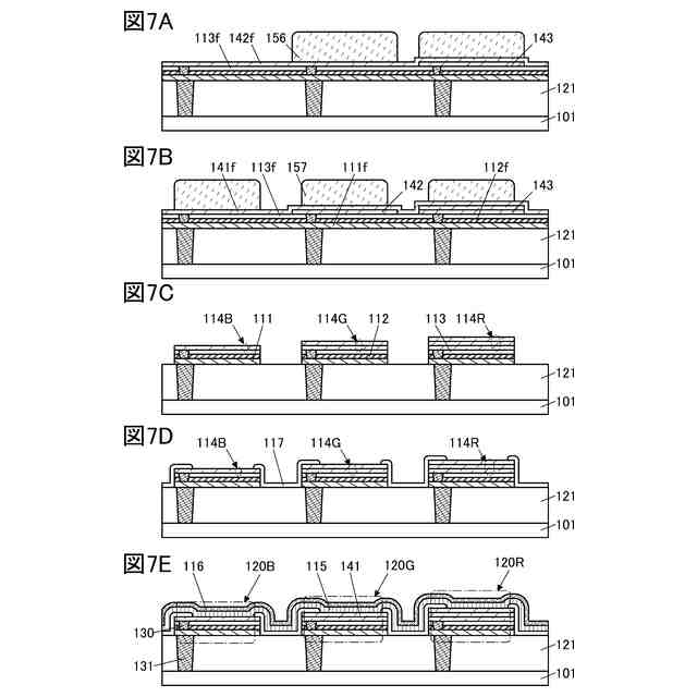
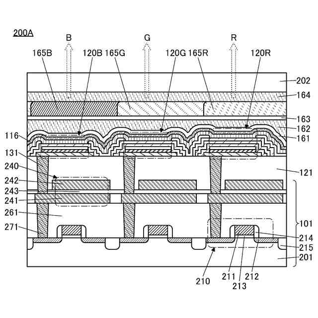
(【0011】以降は省略されています)
この特許をJ-PlatPat(特許庁公式サイト)で参照する
関連特許
個人
回転式カード学習具
1か月前
個人
時刻表示機能つき手帳
2か月前
日本精機株式会社
表示装置
1か月前
日本精機株式会社
表示装置
10日前
個人
計算用教具
6日前
中国電力株式会社
標示旗
16日前
日本精機株式会社
車両用表示装置
1か月前
日本精機株式会社
車両用表示装置
1か月前
日本精機株式会社
車両用表示装置
1か月前
日本精機株式会社
車両用センサ装置
6日前
個人
モデルで薔薇の花嫁様を描く為
27日前
株式会社一弘社
情報表示板
1か月前
シャープ株式会社
表示装置
17日前
株式会社ウメラボ
学習支援システム
2日前
個人
音楽教材
1か月前
ニチレイマグネット株式会社
磁着式電飾装置
16日前
株式会社半導体エネルギー研究所
半導体装置
2か月前
株式会社リコー
画像投射システム
17日前
シチズンファインデバイス株式会社
液晶表示装置
1か月前
株式会社サンゲツ
見本帳
1か月前
BEST株式会社
吊り下げ表示部材
1か月前
学校法人関西医科大学
腹腔鏡手術訓練装置
16日前
個人
サインポスト
2か月前
シチズンファインデバイス株式会社
液晶表示装置
25日前
シャープ株式会社
表示装置
1か月前
シャープ株式会社
表示装置
1か月前
セイコーエプソン株式会社
表示方法
25日前
セイコーエプソン株式会社
表示方法
25日前
ニデックインスツルメンツ株式会社
情報処理装置
2か月前
ニプロ株式会社
シミュレータ
1か月前
株式会社半導体エネルギー研究所
駆動回路、及び半導体装置
2か月前
キヤノン株式会社
発光装置
9日前
TOPPANホールディングス株式会社
ラベル
1か月前
個人
トレーニング用具
2か月前
TOPPANホールディングス株式会社
ラベル
6日前
セイコーエプソン株式会社
投射型表示装置
1か月前
続きを見る
他の特許を見る