TOP
|
特許
|
意匠
|
商標
特許ウォッチ
Twitter
他の特許を見る
10個以上の画像は省略されています。
公開番号
2025142058
公報種別
公開特許公報(A)
公開日
2025-09-29
出願番号
2025119655,2023211657
出願日
2025-07-16,2023-12-15
発明の名称
表示装置
出願人
エルジー ディスプレイ カンパニー リミテッド
代理人
個人
,
個人
,
個人
,
個人
,
個人
主分類
G09F
9/30 20060101AFI20250919BHJP(教育;暗号方法;表示;広告;シール)
要約
【課題】表示装置においてフレアの発生を抑制する。
【解決手段】本開示の実施形態は、表示装置に関し、より詳細には、曲線状のアノード延長ラインを含むことにより、カメラの使用時に、フレアが発生するのを抑制することができる表示装置を提供することができる。
【選択図】図11
特許請求の範囲
【請求項1】
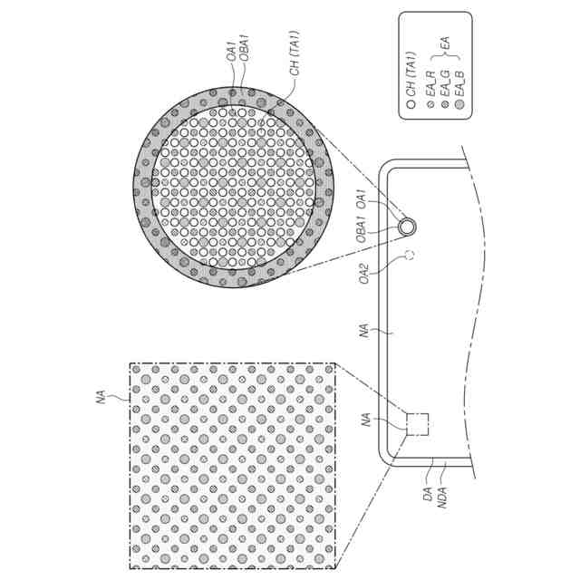
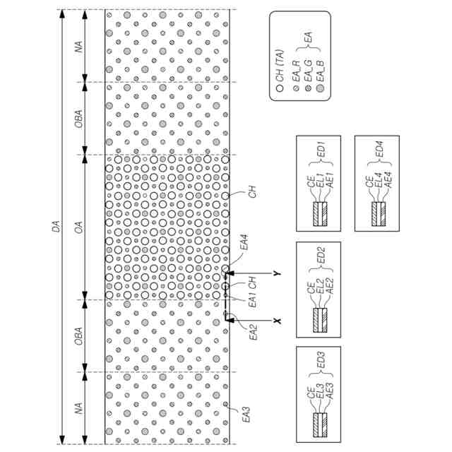
第1の光学領域、及び前記第1の光学領域の外郭に位置する第1の光学ベゼル領域を含む表示領域と、
前記第1の光学領域内に複数のカソードホールを含むカソード電極と、
前記第1の光学領域に位置し、第1のアノード電極を含む第1の発光素子と、
前記第1の光学ベゼル領域に位置する第1のサブピクセル回路部と、
前記第1のサブピクセル回路部と前記第1のアノード電極とを電気的に接続し、前記カソードホールと重ならないように位置するアノード延長ラインとを備え、
前記アノード延長ラインの形状は曲線状であり、
前記アノード延長ラインの数は、前記第1の光学領域の中心に向かって減少する、表示装置。
続きを表示(約 850 文字)
【請求項2】
前記中心から遠い前記第1の光学領域内の1つのピクセルに重畳するアノード延長ラインの数は、前記中心に近い前記第1の光学領域内の1つのピクセルに重畳するアノード延長ラインの数よりも多い、請求項1に記載の表示装置。
【請求項3】
前記アノード延長ラインは、他の不透明な配線と重畳する、請求項1に記載の表示装置。
【請求項4】
前記第1の光学領域は、第1の発光領域及び第2の発光領域を含む、請求項1に記載の表示装置。
【請求項5】
前記第1の光学領域は、前記第1の発光領域と前記第2の発光領域とを接続し、かつ、前記カソードホールに重ならないアノード接続ラインを含む、請求項4に記載の表示装置。
【請求項6】
前記第1の発光領域及び前記第2の発光領域は、前記アノード接続ラインを介して同時に駆動される、請求項5に記載の表示装置。
【請求項7】
前記第1の発光領域及び前記第2の発光領域は、同じ色の光を放出する、請求項6に記載の表示装置。
【請求項8】
前記第1の発光領域及び前記第2の発光領域は、異なる色の光を放出する、請求項6に記載の表示装置。
【請求項9】
第1の発光領域及び第2の発光領域を含む第1の光学領域と前記第1の光学領域の外郭に位置する第1の光学ベゼル領域とを含む表示領域と、
前記第1の光学領域内に複数のカソードホールを含むカソード電極と、
前記第1の発光領域と前記第2の発光領域とを接続し、かつ、前記カソードホールに重ならないアノード接続ラインと、
を備える表示装置。
【請求項10】
前記第1の光学領域に位置し、第1のアノード電極を含む第1の発光素子と、
前記第1の光学ベゼル領域に位置する第1のサブピクセル回路部と、
をさらに備える請求項9に記載の表示装置。
(【請求項11】以降は省略されています)
発明の詳細な説明
【技術分野】
【0001】
本開示は、表示装置に関する。
続きを表示(約 2,000 文字)
【背景技術】
【0002】
技術の発展に伴い、表示装置は、画像表示機能の他に、撮影機能及び各種の感知機能などを提供することができる。このためには、表示装置は、カメラ及び/又は感知センサなどの光学電子装置(受光装置又はセンサともいう)を備えることができる。
【0003】
光学電子装置は、表示装置の前面からの光を受光しなければならないため、受光が有利なところに設置しなければならない。したがって、従来、表示装置の前面に、カメラ(カメラレンズ)及び感知センサが、露出されるように設けられるしかなかった。このため、表示パネルのベゼルが広くなったり、表示パネルの表示領域に、切り欠き部又は物理的な穴が形成され、そこにカメラ又は感知センサが設けられている。
【0004】
したがって、前面の光を受け取って、所定の機能を果たすカメラや感知センサなどの光学電子装置が、表示装置に備えられることにより、表示装置の前面部のベゼルが大きくなったり、表示装置の前面設計に制約が生じる可能性がある。
【発明の概要】
【発明が解決しようとする課題】
【0005】
ディスプレイ技術の分野において、表示パネルの表示領域の面積を減少することなく、カメラや感知センサなどの光学電子装置を備えるための技術が研究されている。表示パネルの表示領域の下に、光学電子装置を備え、表示装置の前面に光学電子装置が露出されることなく、光学電子装置が正常に光を受け取ることができる光透過の構造を有する表示装置が提供され得る。しかしながら、このような表示装置の光学電子装置を用いる場合、表示装置の配線構造により光をスムーズに受光しにくいという問題があった。特に、表示領域の下でカメラを使用した場合、表示装置の配線構造により、フレアが発生するという問題があった。したがって、本明細書の発明者らは、表示領域の面積を減らすことなく、カメラを備えながらも、カメラを使用してもフレアの発生を抑制することができる表示装置を発明した。
【0006】
一般に、本開示は、カメラと共に使用するのに適したディスプレイ装置を提供する。ディスプレイ装置は、ディスプレイ装置の光学領域を通して、光を効果的に伝達するように設計されている。特に、ディスプレイ装置は、曲線状を有するアノード延長ラインを含むことによって、フレアを抑制することができる能力を有することができる。
【課題を解決するための手段】
【0007】
本開示の実施形態は、表示領域、カソード電極、第1の発光素子、第1のサブピクセル回路部、及びアノード延長ラインを含む表示装置を提供することができる。
【0008】
表示領域は、第1の光学領域及び第1の光学ベゼル領域を含むことができる。第1の光学ベゼル領域は、第1の光学領域の外郭に位置することができる。表示領域は、第1の光学領域と第1の光学ベゼル領域とを含むことができる。第1の光学ベゼル領域は、第1の光学領域の外側に配置されてもよく、例えば、第1の光学領域を囲んでいてもよい。第1の光学領域は、光を効果的に伝達するように構成することができる。第1の光学領域は、第1の光学ベゼル領域よりも高い透光率を有することができる。第1の光学ベゼル領域は、光を通過させないように構成することができる。表示領域は、さらに一般領域を含むことができる。一般領域は、第1の光学ベゼル領域を囲むことができる。各一般領域、第1の光学領域、及び第1の光学ベゼル領域は、光を発散するように構成することができ、例えば、イメージを表示することができる。即ち、第1の光学領域、第1の光学ベゼル領域、及び一般領域は、装置の表示領域を形成することができる。一般領域は、光を通過させないように構成できる。非表示領域は、表示領域の外側(例えば、周辺端)に設けることができる。非表示領域は、光を発散しないように構成できる。
【0009】
カソード電極は、第1の光学領域内に複数のカソードホールを含むことができる。カソードホールは、カソードを通って光を伝達するために、拡張された開放孔を含むことができる。カソードは、第1の光学ベゼル領域と一般領域に拡張することができ、第1の光学ベゼル領域と一般領域には、カソードホールがなくてもよい。
【0010】
第1の発光素子は、第1の光学領域に位置し、第1のアノード電極を含むことができる。第1の発光素子は、光を発散するように構成された要素(例えば、ピクセル又はサブピクセル)であり得る。第1の発光素子は、表示装置で対応する発光領域を定義することができる。
(【0011】以降は省略されています)
この特許をJ-PlatPat(特許庁公式サイト)で参照する
関連特許
個人
回転式カード学習具
1か月前
日本精機株式会社
表示装置
13日前
日本精機株式会社
表示装置
3か月前
日本精機株式会社
表示装置
1か月前
個人
時刻表示機能つき手帳
2か月前
個人
計算用教具
9日前
中国電力株式会社
標示旗
19日前
日本精機株式会社
車両用表示装置
1か月前
日本精機株式会社
車両用表示装置
2か月前
日本精機株式会社
車両用表示装置
2か月前
日本精機株式会社
車両用センサ装置
9日前
個人
モデルで薔薇の花嫁様を描く為
1か月前
トヨタ自動車株式会社
評価方法
2か月前
シャープ株式会社
表示装置
3か月前
株式会社一弘社
情報表示板
1か月前
シャープ株式会社
表示装置
20日前
個人
音楽教材
1か月前
個人
口唇閉鎖の訓練具
3か月前
株式会社ウメラボ
学習支援システム
5日前
パイオニア株式会社
表示装置
3か月前
株式会社半導体エネルギー研究所
半導体装置
2か月前
ニチレイマグネット株式会社
磁着式電飾装置
19日前
株式会社リコー
画像投射システム
20日前
株式会社ノジマ
応対体験システム
3か月前
BEST株式会社
吊り下げ表示部材
1か月前
シチズンファインデバイス株式会社
液晶表示装置
28日前
シチズンファインデバイス株式会社
液晶表示装置
1か月前
個人
サインポスト
2か月前
株式会社バンダイ
情報処理装置およびプログラム
3か月前
株式会社サンゲツ
見本帳
1か月前
学校法人関西医科大学
腹腔鏡手術訓練装置
19日前
個人
ピアノの指トレーニング器具及び練習方法
2か月前
シャープ株式会社
表示装置
1か月前
朝日インテック株式会社
心臓モデル装置
3か月前
厦門天馬顕示科技有限公司
走査回路
3か月前
シャープ株式会社
表示装置
1か月前
続きを見る
他の特許を見る