TOP
|
特許
|
意匠
|
商標
特許ウォッチ
Twitter
他の特許を見る
10個以上の画像は省略されています。
公開番号
2025142322
公報種別
公開特許公報(A)
公開日
2025-09-30
出願番号
2025127265,2023125518
出願日
2025-07-30,2023-08-01
発明の名称
展示物保持具
出願人
株式会社フタバモデル製作所
代理人
名古屋国際弁理士法人
主分類
G09F
9/00 20060101AFI20250919BHJP(教育;暗号方法;表示;広告;シール)
要約
【課題】 多様なサイズの展示物に対応可能な展示物保持具の一例を開示する。
【解決手段】 枠フレームを把持する把持ユニットと、把持ユニットが固定された把持フレームと、把持フレームを挟んで把持ユニットと反対側に配置された保持フレームであって、把持フレームに固定された保持フレームとである。保持フレームは、矩形板状のフレーム本体、及びフレーム本体の縁部を覆う矩形枠状の縁フレーム7Eを有しており、さらに、縁フレーム7Eは、角部を構成する4つの第3部材7B、及び隣り合う第3部材間を繋ぐ直線状の第4部材7Cであって、予め決められた長さを有する1つ又は複数の単位部材7Dにより構成された第4部材7Cを有している。これにより、縁フレーム7Eを製造する者は、単位部材7Dを増減させることにより、容易に第4部材7Cの長さを変更することができる。
【選択図】 図8
特許請求の範囲
【請求項1】
枠状の枠フレームが裏面に設けられた展示物を保持する展示物保持具において、
前記枠フレームを把持する把持ユニットと、
前記把持ユニットが固定された把持フレームと、
前記把持フレームに固定された保持フレームとを備え、
前記保持フレームは、
矩形板状のフレーム本体、及び
前記フレーム本体の縁部を覆う矩形枠状の縁フレームを有しており、
さらに、前記縁フレームは、
角部を構成する4つの第3部材、及び
隣り合う前記第3部材間を繋ぐ直線状の第4部材であって、予め決められた長さを有する1つ又は複数の単位部材により構成された第4部材を有している展示物保持具。
続きを表示(約 270 文字)
【請求項2】
前記展示物の表面を覆うための透明な表板と、
前記表板の縁部を覆う矩形枠状の額縁とを備え、
前記額縁は、
角部を構成する8つの第1部材、及び
隣り合う前記第1部材間を繋ぐ直線状の第2部材であって、予め決められた長さを有する1つ又は複数の単位部材により構成された第2部材
を有している請求項1に記載の展示物保持具。
【請求項3】
前記フレーム本体の中央に設けられた装着部であって、腕状の支持アームが着脱自在に装着可能な装着部を備える請求項1又は2に記載の展示物保持具。
発明の詳細な説明
【技術分野】
【0001】
本開示は、絵画等の展示物を保持する展示物保持具に関する。
続きを表示(約 1,200 文字)
【背景技術】
【0002】
額縁を用いた一般的な展示物保持具では、ガラス等の透明な板材と裏板との間、又は額縁と裏板との間に展示物が挟み込まれて当該展示物が保持されている(例えば、特許文献1参照)。
【先行技術文献】
【特許文献】
【0003】
実用新案登録第3242529号公報
【発明の概要】
【発明が解決しようとする課題】
【0004】
本開示は、多様なサイズの展示物に対応可能な展示物保持具の一例を開示する。
【課題を解決するための手段】
【0005】
枠状の枠フレームが裏面に設けられた展示物を保持する展示物保持具は、以下の構成要件を備えることが望ましい。
すなわち、枠フレームを把持する把持ユニットと、把持ユニットが固定された把持フレームと、把持フレームを挟んで把持ユニットと反対側に配置された保持フレームであって、把持フレームに固定された保持フレームとである。
【0006】
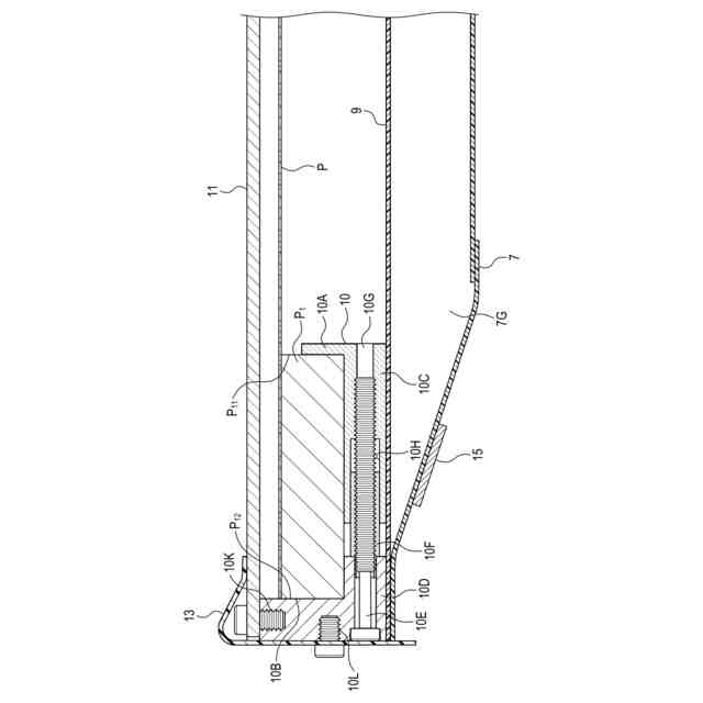
そして、保持フレームは、矩形板状のフレーム本体、及びフレーム本体の縁部を覆う矩形枠状の縁フレームを有しており、さらに、縁フレームは、角部を構成する4つの第3部材、及び隣り合う第3部材間を繋ぐ直線状の第4部材であって、予め決められた長さを有する1つ又は複数の単位部材により構成された第4部材を有していることが望ましい。
【0007】
これにより、縁フレームを製造する者は、単位部材を増減させることにより、容易に第4部材の長さを変更することができる。
【図面の簡単な説明】
【0008】
第1実施形態に係る展示物保持具を示す図である。
第1実施形態に係る展示物保持具を示す図である。
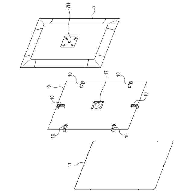
第1実施形態に係る展示物保持具の分解図である。
第1実施形態に係る展示物保持具の構造を示す図である。
第1実施形態に係る把持ユニットを示す図である。
第1実施形態に係る把持ユニットの分解図である。
第1実施形態に係る額縁を示す図である。
第1実施形態に係る保持フレームの構成示す図である。
第2実施形態に係る展示物保持具の分解図である。
【発明を実施するための形態】
【0009】
以下の「発明の実施形態」は、本開示の技術的範囲に属する実施形態の一例を示すものである。つまり、特許請求の範囲に記載された発明特定事項等は、下記の実施形態に示された具体的構成や構造等に限定されない。
【0010】
なお、各図に付された方向を示す矢印及び斜線等は、各図相互の関係及び各部材又は部位の形状を理解し易くするために記載されたものである。したがって、本開示に示された発明は、各図に付された方向に限定されない。斜線が付された図は、必ずしも断面図を示すものではない。
(【0011】以降は省略されています)
この特許をJ-PlatPat(特許庁公式サイト)で参照する
関連特許
個人
回転式カード学習具
1か月前
日本精機株式会社
表示装置
1か月前
個人
時刻表示機能つき手帳
2か月前
日本精機株式会社
表示装置
15日前
個人
計算用教具
11日前
中国電力株式会社
標示旗
21日前
日本精機株式会社
車両用表示装置
1か月前
日本精機株式会社
車両用表示装置
2か月前
日本精機株式会社
車両用表示装置
2か月前
日本精機株式会社
車両用センサ装置
11日前
個人
モデルで薔薇の花嫁様を描く為
1か月前
トヨタ自動車株式会社
評価方法
2か月前
株式会社一弘社
情報表示板
1か月前
シャープ株式会社
表示装置
22日前
個人
口唇閉鎖の訓練具
3か月前
株式会社ウメラボ
学習支援システム
1日前
株式会社ウメラボ
学習支援システム
7日前
個人
音楽教材
1か月前
株式会社半導体エネルギー研究所
半導体装置
2か月前
ニチレイマグネット株式会社
磁着式電飾装置
21日前
リンテック株式会社
表示体
今日
株式会社リコー
画像投射システム
22日前
株式会社ノジマ
応対体験システム
3か月前
シチズンファインデバイス株式会社
液晶表示装置
1か月前
学校法人関西医科大学
腹腔鏡手術訓練装置
21日前
BEST株式会社
吊り下げ表示部材
1か月前
株式会社バンダイ
情報処理装置およびプログラム
3か月前
シチズンファインデバイス株式会社
液晶表示装置
1か月前
個人
サインポスト
2か月前
株式会社サンゲツ
見本帳
1か月前
個人
ピアノの指トレーニング器具及び練習方法
2か月前
シャープ株式会社
表示装置
1か月前
シャープ株式会社
表示装置
1か月前
セイコーエプソン株式会社
表示方法
1か月前
ニデックインスツルメンツ株式会社
情報処理装置
2か月前
セイコーエプソン株式会社
表示方法
1か月前
続きを見る
他の特許を見る