TOP
|
特許
|
意匠
|
商標
特許ウォッチ
Twitter
他の特許を見る
公開番号
2025136803
公報種別
公開特許公報(A)
公開日
2025-09-19
出願番号
2024035662
出願日
2024-03-08
発明の名称
製造システム、製造方法
出願人
東洋製罐株式会社
代理人
弁理士法人平和国際特許事務所
主分類
G05B
19/418 20060101AFI20250911BHJP(制御;調整)
要約
【課題】被加工体自体に識別情報を示すことなく、被加工体の工程履歴を管理できる製造システム、製造方法を提供する。
【解決手段】加工部20,220は、搬入される被加工体5,205に関する情報であり、搬送部材30,230の識別情報を含む情報であり、搬送部材搬出情報に対応した情報である搬送部材搬入情報を取得するリーダ22i、制御部26と、搬出される被加工体に関する情報であり、搬送部材の識別情報を含む搬送部材搬出情報を取得するリーダ22o、制御部26と、被加工体5,205の加工終了時において、加工部20,220での加工情報と、搬送部材搬入情報と、搬送部材搬出情報とを対応付けた情報である加工レコードを、管理装置40に出力し、管理装置40は、加工部20,220から出力された加工を記憶部45に記憶する制御部46を備える製造システム1,201、および、製造システム1,201による製造方法。
【選択図】図2
特許請求の範囲
【請求項1】
被加工体を異なる加工内容で順次加工する複数の加工部と、
複数の加工部間で通信可能な管理装置とを備え、
加工部間において、搬送部材を用いて被加工体を搬送する製造システムであって、
各加工部は、
前工程から各加工部に被加工体を搬入する搬送部材の識別情報を含む搬送部材搬入情報を取得する搬送部材搬入情報取得部と、
各加工部から被加工体を搬出する搬送部材の識別情報を含む搬送部材搬出情報を取得する搬送部材搬出情報取得部と、
各加工部での加工情報と、前記搬送部材搬入情報取得部が取得した搬送部材搬入情報と、前記搬送部材搬出情報取得部が取得した搬送部材搬出情報とを対応付けた情報である加工レコードを出力する制御部とを備え、
前記管理装置は、
各加工部から出力された加工レコードを記憶部に記憶する制御部を備える
ことを特徴とする製造システム。
続きを表示(約 2,600 文字)
【請求項2】
各加工部の前記搬送部材搬入情報取得部が取得した搬送部材搬入情報と、各加工部の前工程の加工部の前記搬送部材搬出情報取得部が取得した搬送部材搬出情報とは、対応付いた情報である
ことを特徴とする請求項1に記載の製造システム。
【請求項3】
各搬送部材は、
各被加工体を収容し、識別情報が付された収容部を備え、複数の被加工体を収容部に収容して搬送する部材であり、
前記搬送部材搬入情報取得部は、
搬入情報として、搬送部材の識別情報に加えて、被加工体を収容した収容部の識別情報を取得し、
前記搬送部材搬出情報取得部は、
搬出情報として、搬送部材の識別情報に加えて、被加工体を収容した収容部の識別情報を取得する
ことを特徴とする請求項1に記載の製造システム。
【請求項4】
前記管理装置の制御部は、搬送部材搬出情報を有するキー情報が入力された場合に、キー情報に基づいて記憶部の記憶情報を参照することにより、被加工体の加工履歴を抽出する加工履歴抽出処理を実行し、
前記加工履歴抽出処理では、
キー情報が有する搬送部材搬出情報に対応した加工レコードを特定する加工レコード特定処理と、
特定した加工レコードに含まれる加工情報と、搬送部材搬入情報とを読み出す加工レコード情報読み出し処理と、
読み出した搬送部材搬入情報に対応した搬送部材搬出情報を有する前工程の加工レコードを特定する前工程加工レコード特定処理と、
特定した前工程の加工レコードに含まれる加工情報を読み出す前工程加工レコード情報読み出し処理とを実行する
ことを特徴とする請求項1又は2に記載の製造システム。
【請求項5】
各加工部は、識別情報が付され、加工時において被加工体が配置される配置領域を有し、
各加工情報は、被加工体の配置領域の識別情報を有する
ことを特徴とする請求項1又は2に記載の製造システム。
【請求項6】
加工部から搬送部材によって搬入される被加工体を部品として、ユニットを組み立てる組立部と、
前記組立部との間で通信可能なユニット管理装置とを備え、
前記組立部は、
加工部から前記組立部に被加工体を搬入する搬送部材の識別情報を含む搬送部材搬入情報取得部と、
ユニットを識別する情報であるユニット識別情報を、ユニットに付与するユニット識別情報付与部と、
前記組立部の前記搬送部材搬入情報取得部が取得した搬送部材搬入情報と、前記ユニット識別情報付与部によって付与されたユニット識別情報を含むユニット情報とを対応付けた情報である組立レコードを、前記ユニット管理装置に出力する制御部とを備え、
前記ユニット管理装置は、
前記組立部から出力された組立レコードを記憶部に記憶する制御部を備える
ことを特徴とする請求項1に記載の製造システム。
【請求項7】
ユニットは、複数の被加工体がそれぞれ配置され、識別情報を有する配置領域を備え、
前記組立部の制御部は、ユニット情報として、ユニット識別情報と、各被加工体が配置された配置領域の識別情報とを関連付けた情報を作成する
ことを特徴とする請求項6に記載の製造システム。
【請求項8】
前記ユニット管理装置の制御部は、ユニット情報が入力された場合に、ユニット情報に基づいて前記ユニット管理装置の記憶部の記憶情報を参照することにより、ユニットの組立履歴を抽出する組立履歴抽出処理を実行し、
前記組立履歴抽出処理では、
ユニット情報を有する組立レコードを特定する組立レコード特定処理と、
特定した組立レコードに含まれる搬送部材搬入情報を読み出す組立レコード情報読み出し処理とを実行する
ことを特徴とする請求項6又は7に記載の製造システム。
【請求項9】
被加工体を加工する加工部と、
前記加工部と通信可能な管理装置とを備え、
前記加工部において、搬送部材を用いて被加工体を搬送する製造システムであって、
前記加工部は、
前記加工部から被加工体を搬出する搬送部材の識別情報を含む搬送部材搬出情報を取得する搬送部材搬出情報取得部と、
前記加工部での加工情報と、前記搬送部材搬出情報取得部が取得した搬送部材搬出情報とを対応付けた情報である加工レコードを出力する制御部とを備え、
前記管理装置は、
前記加工部から出力された加工レコードを記憶部に記憶する制御部を備え、
搬送部材は、
各被加工体を収容し、識別情報が付された収容部を備え、複数の被加工体を収容部に収容して搬送する部材であり、
前記搬送部材搬出情報取得部は、
搬出情報として、搬送部材の識別情報に加えて、被加工体を収容した収容部の識別情報を取得し、
前記加工部は、識別情報が付され、加工時において被加工体が配置される配置領域を有し、
加工情報は、被加工体の配置領域の識別情報を有する
ことを特徴とする製造システム。
【請求項10】
被加工体を異なる加工内容で順次加工する複数の加工工程と、
被加工体の加工履歴を管理する管理工程とを備え、
加工工程間において、搬送部材を用いて被加工体を搬送する製造方法であって、
各加工工程は、
前加工工程から各加工工程に被加工体を搬入する搬送部材の識別情報を含む搬送部材搬入情報を取得する搬送部材搬入情報取得工程と、
各加工工程から被加工体を搬出する搬送部材の識別情報を含む搬送部材搬出情報を取得する搬送部材搬出情報取得工程と、
各加工部での加工情報と、前記搬送部材搬入情報取得工程で取得した搬送部材搬入情報と、前記搬送部材搬出情報取得工程で取得した搬送部材搬出情報とを対応付けた情報である加工レコードを出力する加工レコード出力工程とを備え、
前記管理工程は、
各加工工程で出力された加工レコードを記憶部に記憶する加工レコード記憶工程を備える
ことを特徴とする製造方法。
(【請求項11】以降は省略されています)
発明の詳細な説明
【技術分野】
【0001】
本発明は、搬送部材を用いて被加工体を工程間で搬送する製造システム、製造方法に関するものである。
続きを表示(約 3,700 文字)
【背景技術】
【0002】
従来、複数の工程を経て、被加工体を加工する製造システムがあった(例えば特許文献1)。
しかし、従来の製造システムは、被加工体の工程履歴を管理するためには、識別情報を被加工体自体に印刷等によって示す必要があった。
【先行技術文献】
【特許文献】
【0003】
特開2009-075744号公報
【発明の概要】
【発明が解決しようとする課題】
【0004】
本発明の課題は、被加工体自体に識別情報を示すことなく、被加工体の加工履歴や工程履歴を管理できる製造システム、製造方法を提供することである。
【課題を解決するための手段】
【0005】
本発明の一形態は、被加工体を異なる加工内容で順次加工する複数の加工部と、
複数の加工部間で通信可能な管理装置とを備え、加工部間において、搬送部材を用いて被加工体を搬送する製造システムであって、各加工部は、前工程から各加工部に被加工体を搬入する搬送部材の識別情報を含む搬送部材搬入情報を取得する搬送部材搬入情報取得部と、各加工部から被加工体を搬出する搬送部材の識別情報を含む搬送部材搬出情報を取得する搬送部材搬出情報取得部と、各加工部での加工情報と、前記搬送部材搬入情報取得部が取得した搬送部材搬入情報と、前記搬送部材搬出情報取得部が取得した搬送部材搬出情報とを対応付けた情報である加工レコードを出力する制御部とを備え、前記管理装置は、各加工部から出力された加工レコードを記憶部に記憶する制御部を備えることを特徴とする製造システムである。
また、本発明の一形態は、被加工体を加工する加工部と、前記加工部と通信可能な管理装置とを備え、前記加工部において、搬送部材を用いて被加工体を搬送する製造システムであって、前記加工部は、前記加工部から被加工体を搬出する搬送部材の識別情報を含む搬送部材搬出情報を取得する搬送部材搬出情報取得部と、前記加工部での加工情報と、前記搬送部材搬出情報取得部が取得した搬送部材搬出情報とを対応付けた情報である加工レコードを出力する制御部とを備え、前記管理装置は、前記加工部から出力された加工レコードを記憶部に記憶する制御部を備え、搬送部材は、各被加工体を収容し、識別情報が付された収容部を備え、複数の被加工体を収容部に収容して搬送する部材であり、前記搬送部材搬出情報取得部は、搬出情報として、搬送部材の識別情報に加えて、被加工体を収容した収容部の識別情報を取得し、前記加工部は、識別情報が付され、加工時において被加工体が配置される配置領域を有し、加工情報は、被加工体の配置領域の識別情報を有することを特徴とする製造システムである。
また、本発明の一形態は、被加工体を異なる加工内容で順次加工する複数の加工工程と、被加工体の加工履歴を管理する管理工程とを備え、加工工程間において、搬送部材を用いて被加工体を搬送する製造方法であって、各加工工程は、前加工工程から各加工工程に被加工体を搬入する搬送部材の識別情報を含む搬送部材搬入情報を取得する搬送部材搬入情報取得工程と、各加工工程から被加工体を搬出する搬送部材の識別情報を含む搬送部材搬出情報を取得する搬送部材搬出情報取得工程と、各加工部での加工情報と、前記搬送部材搬入情報取得工程で取得した搬送部材搬入情報と、前記搬送部材搬出情報取得工程で取得した搬送部材搬出情報とを対応付けた情報である加工レコードを出力する加工レコード出力工程とを備え、前記管理工程は、各加工工程で出力された加工レコードを記憶部に記憶する加工レコード記憶工程を備えることを特徴とする製造方法である。
また、本発明の一形態は、加工部で被加工体を加工する加工工程と、被加工体の加工履歴を管理する管理工程とを備え、加工工程から、搬送部材を用いて被加工体を搬送する製造方法であって、前記加工工程は、前記加工工程から被加工体を搬出する搬送部材の識別情報を含む搬送部材搬出情報を取得する搬送部材搬出情報取得工程と、前記加工部での加工情報と、前記搬送部材搬出情報取得工程で取得した搬送部材搬出情報とを対応付けた情報である加工レコードを出力する加工レコード出力工程とを備え、前記管理工程は、前記加工工程で出力された加工レコードを記憶部に記憶する加工レコード記憶工程を備え、搬送部材は、被加工体を収容し、識別情報が付された収容部を備え、被加工体を収容部に収容して搬送する部材であり、前記搬送部材搬出情報取得工程は、搬出情報として、搬送部材の識別情報に加えて、被加工体を収容した収容部の識別情報を取得し、前記加工部は、識別情報が付され、加工時において被加工体が配置される配置領域を有し、加工情報は、被加工体の配置領域の識別情報を有することを特徴とする製造方法である。
【図面の簡単な説明】
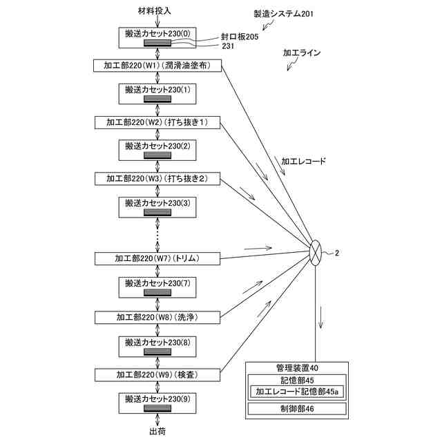
【0006】
第1実施形態の製造システム1の全体の構成を説明する図である。
第1実施形態の加工部20(W8)、加工部20(W9)の構成を説明する図である。
第1実施形態の組立部60の構成を説明する図である。
第1実施形態の加工レコード記憶部45a、組立レコード記憶部75aの記憶情報を説明する図である。
第2実施形態の製造システム201の全体の構成を説明する図である。
第3実施形態の加工レコード記憶部345a、組立レコード記憶部375aの記憶情報を説明する図である。
【発明を実施するための形態】
【0007】
図面を参照しながら、本発明の実施形態について説明する。
(第1実施形態)
図1に示すように、製造システム1は、ディスク5を加工し、また、加工したディスク5を部品としてHDD55を製造するためのシステムである。
製造システム1は、加工システム10、組立システム50を備える。
加工システム10は、円盤状のアルミ基板合金、ガラス基板等のディスク5(被加工体)を加工することにより、磁気ディスクを製造するシステムである。
組立システム50は、組立ラインに設けられたシステムである。組立システム50は、加工システム10で製造されたディスク5を部品として、HDD55(ハードディスクドライブ)(ユニット)を組み立てるためのシステムである。
製造システム1は、加工システム10が設けられた施設と、組立システム50が設けられた施設とが同一であってもよく、異なっていてもよい。両施設が異なる構成は、例えば、両施設の事業者が異なる場合に、好適である。
【0008】
なお、実施形態において、コンピュータとは、記憶装置、制御装置、演算装置等を備えた電子計算機をいい、加工部、組立部、管理装置、検査装置は、記憶部、制御部等を備え、コンピュータの概念に含まれる。また、コンピュータは、単体の電子計算機によって構成される形態に限定されず、必要に応じて複数の電子計算機から構成されていてもよい。
記憶部は、各装置の動作に必要なプログラム、情報等を記憶するためのハードディスク、半導体メモリ素子等の記憶装置である。
制御部は、各装置の動作に必要な演算処理をしたり、各装置を統括的に制御するための装置である。制御部は、例えば、CPU(中央処理装置)等から構成される。制御部は、記憶部に記憶された各種プログラムを適宜読み出して実行することにより、実施形態の各種機能を実現している。
【0009】
(加工システム10)
加工システム10は、ディスク5を加工する加工ラインに設けられたシステムである。
加工システム10は、9個の加工部20、搬送カセット30(搬送部材)、管理装置40を備える。
9個の加工部20及び管理装置40の間は、LAN等の通信網2によって接続されており、通信可能である。
【0010】
(加工部20)
9個の加工部20は、それぞれ、加工内容が異なる9工程に対した加工を実行する。これらの工程は、例えば、蒸着工程、研磨工程、洗浄工程等である。各加工部20は、これらの工程に対応した装置を備える。
実施形態では、適宜、加工部20の符号にカッコ書きを付記し、カッコ内に加工種別をあらわす符号を記載する(例えば、加工部20(W9)等)。同様に、各加工部20が備える部材の符号に、適宜、カッコ書きを付記する(例えば、研磨装置21(W8)等)。
加工部20(W1)~加工部20(W9)は、この順番で、ディスク5を加工する。例えば、加工部20(W9)は、加工部20(W8)の次工程において、ディスク5を加工する。
(【0011】以降は省略されています)
この特許をJ-PlatPat(特許庁公式サイト)で参照する
関連特許
東洋製罐株式会社
容器
1か月前
東洋製罐株式会社
充填包装方法
1か月前
東洋製罐株式会社
金属容器の製造方法
25日前
東洋製罐株式会社
製造システム、製造方法
16日前
東洋製罐株式会社
金属容器及びその製造方法
16日前
東洋製罐株式会社
金属缶の製造方法及び金属缶
9日前
東洋製罐株式会社
内容物充填済み容器の評価方法
1か月前
東洋製罐株式会社
原反繋ぎ装置およびカップ成形機
2日前
東洋製罐株式会社
鉄系酸素吸収剤含有層を備えた多層容器
1か月前
東洋製罐株式会社
缶管理装置、缶管理システム、及び、缶管理方法
2日前
東洋製罐株式会社
缶管理装置、缶管理システム、及び、缶管理方法
16日前
東洋製罐株式会社
缶容器
26日前
東洋製罐株式会社
パウチ製造方法、パウチ製造装置、およびポイント用工具セット
1か月前
東洋製罐株式会社
塑性加工用樹脂被覆金属板及び該金属板を用いての金属製有底筒状体の製造方法
1か月前
東洋製罐株式会社
樹脂被覆アルミニウムシームレス缶、樹脂被覆アルミニウム板、絞りしごき缶
1か月前
東洋製罐株式会社
成形条件導出装置、機械学習装置、推論装置、情報処理方法、機械学習方法、及び、推論方法
10日前
個人
生産早送り装置
1か月前
株式会社豊田自動織機
産業車両
1か月前
株式会社FUJI
工作機械
3か月前
株式会社カネカ
製造システム
1か月前
オムロン株式会社
スレーブ装置
6日前
株式会社ダイヘン
移動体
3か月前
株式会社FUJI
加工機械ライン
2か月前
ローム株式会社
基準電圧源
27日前
愛知製鋼株式会社
車両用システム
1か月前
個人
作業車両自動化システム
2か月前
ローム株式会社
半導体集積回路
3か月前
豊田合成株式会社
機器制御装置
2日前
愛知製鋼株式会社
目標軌跡の設定方法
2か月前
トヨタ自動車株式会社
生産管理システム
2か月前
三栄ハイテックス株式会社
基準電圧回路
4か月前
トヨタ自動車株式会社
移動制御システム
1か月前
株式会社ダイフク
搬送設備
1か月前
株式会社ダイフク
搬送設備
3か月前
株式会社ダイフク
搬送設備
1か月前
株式会社ダイフク
搬送設備
16日前
続きを見る
他の特許を見る