TOP
|
特許
|
意匠
|
商標
特許ウォッチ
Twitter
他の特許を見る
10個以上の画像は省略されています。
公開番号
2025145567
公報種別
公開特許公報(A)
公開日
2025-10-03
出願番号
2024045801
出願日
2024-03-22
発明の名称
情報処理装置、方法およびプログラム
出願人
カシオ計算機株式会社
代理人
インフォート弁理士法人
主分類
G10H
1/053 20060101AFI20250926BHJP(楽器;音響)
要約
【課題】候補音高の数を増やすこと。
【解決手段】情報処理装置は、少なくとも1つのプロセッサを備える。少なくとも1つのプロセッサは、曲データ上で発音期間中の楽音の音高を第1の候補音高として設定するとともに、第1の候補音高に基づいて第2の候補音高を設定し、ユーザに操作された演奏操作子に対応付けられた操作音高を検出し、検出された操作音高に基づいて、第1の候補音高および第2の候補音高を含む複数の候補音高のなかから、発音する楽音の発音音高を選択する。
【選択図】図3
特許請求の範囲
【請求項1】
少なくとも1つのプロセッサを備え、
前記少なくとも1つのプロセッサは、
曲データ上で発音期間中の楽音の音高を第1の候補音高として設定するとともに、前記第1の候補音高に基づいて第2の候補音高を設定し、
ユーザに操作された演奏操作子に対応付けられた操作音高を検出し、
検出された前記操作音高に基づいて、前記第1の候補音高および前記第2の候補音高を含む複数の候補音高のなかから、発音する楽音の発音音高を選択する、
情報処理装置。
続きを表示(約 1,300 文字)
【請求項2】
前記少なくとも1つのプロセッサは、前記第1の候補音高の楽音が前記曲データ上で発音期間中か否かに拘わらず、前記演奏操作子に対する操作がオフされると、対応する前記発音音高の消音を処理し、前記演奏操作子に対する操作がオフされなければ、対応する前記発音音高の発音を継続させる、
請求項1に記載の情報処理装置。
【請求項3】
前記第2の候補音高は、前記第1の候補音高より1オクターブ上の音高および前記第1の候補音高より1オクターブ下の音高である、
請求項1に記載の情報処理装置。
【請求項4】
単音高に対応する前記第1の候補音高および前記第2の候補音高が全て発音中で、ユーザに操作された演奏操作子に対応付けられた操作音高が更に検出された場合、第3の候補音高を設定する、
請求項1に記載の情報処理装置。
【請求項5】
前記第3の候補音高は、前記第1の候補音高の完全5度上または完全4度下の音高、前記第2の候補音高の完全5度上または完全4度下の音高、前記第1の候補音高の完全4度上または完全5度下の音高、前記第2の候補音高の完全4度上または完全5度下の音高、の少なくとも1つを含む、
請求項4に記載の情報処理装置。
【請求項6】
前記曲データは、コードのデータを含み、
前記複数の候補音高は、進行中の前記コードのコード構成音の音高を含む、
請求項1に記載の情報処理装置。
【請求項7】
前記少なくとも1つのプロセッサは、
ユーザ操作に応じて前記曲データのなかから演奏パートを決定し、
決定された前記演奏パートのデータ上で発音期間中の楽音の音高を前記第1の候補音高として設定する、
請求項1に記載の情報処理装置。
【請求項8】
前記少なくとも1つのプロセッサは、
前記複数の候補音高のなかで、発音中の楽音の音高でなくかつ前記操作音高に最も近い候補音高を、前記発音音高として選択する、
請求項1に記載の情報処理装置。
【請求項9】
コンピュータが、
曲データ上で発音期間中の楽音の音高を第1の候補音高として設定するとともに、前記第1の候補音高に基づいて第2の候補音高を設定し、
ユーザに操作された演奏操作子に対応付けられた操作音高を検出し、
検出された前記操作音高に基づいて、前記第1の候補音高および前記第2の候補音高を含む複数の候補音高のなかから、発音する楽音の発音音高を選択する、
方法。
【請求項10】
コンピュータが、
曲データ上で発音期間中の楽音の音高を第1の候補音高として設定するとともに、前記第1の候補音高に基づいて第2の候補音高を設定し、
ユーザに操作された演奏操作子に対応付けられた操作音高を検出し、
検出された前記操作音高に基づいて、前記第1の候補音高および前記第2の候補音高を含む複数の候補音高のなかから、発音する楽音の発音音高を選択する、
プログラム。
発明の詳細な説明
【技術分野】
【0001】
本明細書の開示は、情報処理装置、方法およびプログラムに関する。
続きを表示(約 1,700 文字)
【背景技術】
【0002】
ユーザの演奏操作を補助する装置が知られている(例えば特許文献1参照)。特許文献1に記載の装置は、曲データによって発音が示されている楽音の音高を候補音高として設定する。この装置は、ユーザによる演奏操作が行われると、設定された候補音高の楽音を発音させる。
【先行技術文献】
【特許文献】
【0003】
特開2008-20875号公報
【発明の概要】
【発明が解決しようとする課題】
【0004】
特許文献1では、楽音の発音状況によっては、曲データによって発音が示されている楽音の音高しか候補音高として設定されない。特許文献1は、候補音高の数を増やすという観点において改良の余地がある。
【0005】
本開示の実施形態は上記の事情に鑑みてなされたものであり、その目的とするところは、候補音高の数を増やすことができる、情報処理装置、方法およびプログラムを提供することである。
【課題を解決するための手段】
【0006】
本開示の一実施形態に係る情報処理装置は、少なくとも1つのプロセッサを備える。少なくとも1つのプロセッサは、曲データ上で発音期間中の楽音の音高を第1の候補音高として設定するとともに、第1の候補音高に基づいて第2の候補音高を設定し、ユーザに操作された演奏操作子に対応付けられた操作音高を検出し、検出された操作音高に基づいて、第1の候補音高および第2の候補音高を含む複数の候補音高のなかから、発音する楽音の発音音高を選択する。
【発明の効果】
【0007】
本開示の一実施形態によれば、候補音高の数を増やすことができる、情報処理装置、方法およびプログラムが提供される。
【図面の簡単な説明】
【0008】
本開示の一実施形態に係る楽器システムの構成を示すブロック図である。
本開示の一実施形態に係る情報処理装置、方法およびプログラムの概要を説明する図である。
本開示の一実施形態において複数の発音候補音を設定する方法を説明する図である。
本開示の一実施形態において複数の発音候補音を設定する方法を説明する図である。
本開示の一実施形態において複数の発音候補音を設定する方法を説明する図である。
本開示の一実施形態において複数の発音候補音と楽音の発音期間との関係を示す図である。
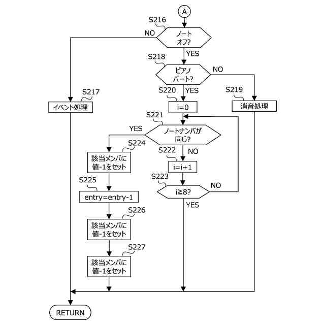
本開示の一実施形態において情報処理装置に備えられるプロセッサが実行する処理のフローチャートである。
図7のステップS104の曲進行処理のサブルーチンである。
図7のステップS104の曲進行処理のサブルーチンである。
図7のステップS105の演奏操作処理のサブルーチンである。
図7のステップS105の演奏操作処理のサブルーチンである。
図7のステップS105の演奏操作処理のサブルーチンである。
本開示の変形例1に係るイベント処理のサブルーチンである。
本開示の変形例1に係るイベント処理のサブルーチンである。
本開示の変形例1に係るコードテーブルの一例を示す図である。
本開示の変形例2に係る曲進行処理のサブルーチンである。
本開示の変形例2に係る曲進行処理のサブルーチンである。
本開示の変形例2に係る曲進行処理のサブルーチンである。
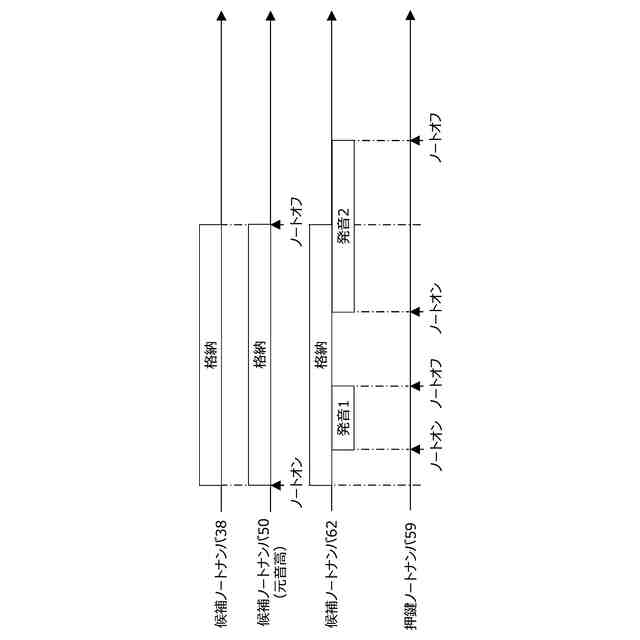
本開示の変形例2における楽音の発音期間と対応するノートナンバの格納期間との関係を示す図である。
【発明を実施するための形態】
【0009】
以下の説明は、本開示の一実施形態に係る情報処理装置、方法およびプログラムに関する。共通の又は対応する要素については、同一又は類似の符号を付して、重複する説明を適宜簡略又は省略する。
【0010】
図1に示されるように、本開示の一実施形態に係る楽器システムは、情報処理装置1と電子楽器2を含む。情報処理装置1と電子楽器2は、有線または無線で通信可能に接続される。
(【0011】以降は省略されています)
この特許をJ-PlatPat(特許庁公式サイト)で参照する
関連特許
カシオ計算機株式会社
支持台
今日
カシオ計算機株式会社
減音器具
2日前
カシオ計算機株式会社
減音器具
2日前
カシオ計算機株式会社
電子鍵盤楽器
今日
カシオ計算機株式会社
装飾板及び時計
1日前
カシオ計算機株式会社
光源装置及び投影装置
2日前
カシオ計算機株式会社
光源装置及び投影装置
2日前
カシオ計算機株式会社
光源装置及び投影装置
14日前
カシオ計算機株式会社
端末装置及びプログラム
2日前
カシオ計算機株式会社
外装部品ユニット及び時計
今日
カシオ計算機株式会社
電子機器、及び表示制御方法
4日前
カシオ計算機株式会社
カッターユニット及び切断装置
今日
カシオ計算機株式会社
制御装置、方法およびプログラム
4日前
カシオ計算機株式会社
補助バスマスタ回路及び電子機器
4日前
カシオ計算機株式会社
演奏装置、方法およびプログラム
2日前
カシオ計算機株式会社
制御装置、方法およびプログラム
4日前
カシオ計算機株式会社
演奏装置、方法およびプログラム
1日前
カシオ計算機株式会社
ロボット、及びロボットの製造方法
今日
カシオ計算機株式会社
外装部品、外装部品ユニット及び時計
今日
カシオ計算機株式会社
制御装置、制御方法、及びプログラム
1日前
カシオ計算機株式会社
情報処理装置、方法およびプログラム
今日
カシオ計算機株式会社
プログラム、電子機器及び登録処理方法
今日
カシオ計算機株式会社
電子機器、登録処理方法及びプログラム
今日
カシオ計算機株式会社
情報処理装置、表示方法、及びプログラム
4日前
カシオ計算機株式会社
情報処理装置、プログラム及び情報処理方法
今日
カシオ計算機株式会社
情報提供装置、情報提供方法及びプログラム
2日前
カシオ計算機株式会社
音声提供装置、音声提供方法及びプログラム
今日
カシオ計算機株式会社
電子時計、電子時計の制御方法及びプログラム
4日前
カシオ計算機株式会社
電子機器、電子機器の制御方法及びプログラム
4日前
カシオ計算機株式会社
印刷装置、印刷装置の制御方法及びプログラム
今日
カシオ計算機株式会社
電子楽器、電子楽器の制御方法及びプログラム
今日
カシオ計算機株式会社
情報処理装置、表示制御方法、及びプログラム
今日
カシオ計算機株式会社
投影装置、投影装置の調整方法及びプログラム
1日前
カシオ計算機株式会社
投影装置、投影装置の調整方法及びプログラム
1日前
カシオ計算機株式会社
情報処理装置、表示制御方法、及び、プログラム
2日前
カシオ計算機株式会社
情報処理装置、表示制御方法、及び、プログラム
今日
続きを見る
他の特許を見る