TOP
|
特許
|
意匠
|
商標
特許ウォッチ
Twitter
他の特許を見る
10個以上の画像は省略されています。
公開番号
2025115146
公報種別
公開特許公報(A)
公開日
2025-08-06
出願番号
2024009515
出願日
2024-01-25
発明の名称
作業車両自動化システム
出願人
個人
代理人
個人
,
個人
主分類
G05D
1/244 20240101AFI20250730BHJP(制御;調整)
要約
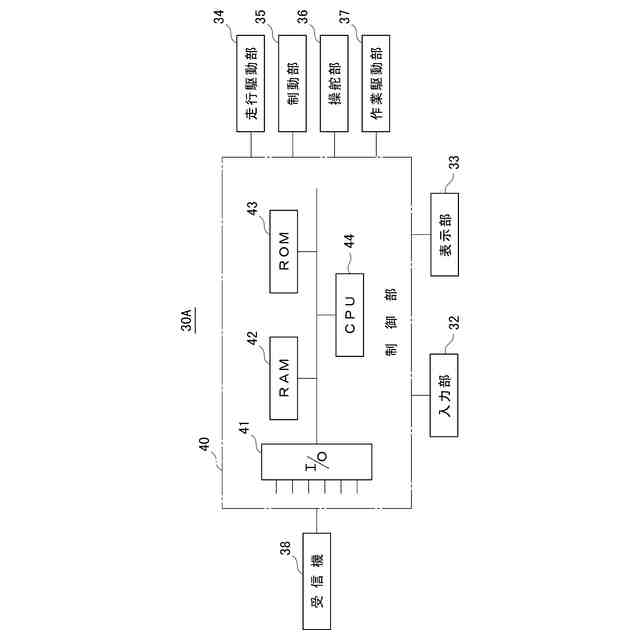
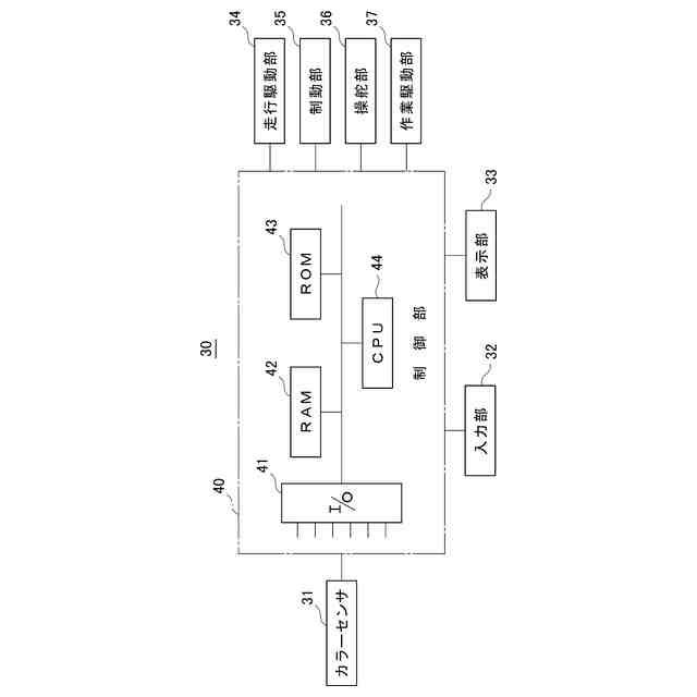
【課題】軽量で運搬や敷設を容易に行うことができるともに、保守が容易な敷板を用いて、作業車両による作業の自動化を図った作業車両自動化システムを提供する。
【解決手段】無人の作業車両を制御して各種作業を自動で行う作業車両自動化システム30であって、複数の色に少なくとも上面が着色された板状のポリウレア樹脂を有し、複数枚敷設されて作業車両が走行可能な敷板と、作業車両に設けられ、複数枚敷設された敷板において複数の色の種類を識別するカラーセンサ31と、カラーセンサ31による識別結果に基づいて作業車両の走行および停止を制御するとともに、作業車両による各種作業の駆動および停止を制御する制御手段としての制御部40と、を備える。
【選択図】図1
特許請求の範囲
【請求項1】
無人の作業車両を制御して各種作業を自動で行う作業車両自動化システムであって、
少なくとも上面が複数の色に着色された板状のポリウレア樹脂を有し、複数枚敷設されて前記作業車両が走行可能な敷板と、
前記作業車両に設けられ、前記複数枚敷設された敷板において複数の色の種類を識別するカラーセンサと、
前記カラーセンサによる識別結果に基づいて前記作業車両の走行および停止を制御するとともに、前記作業車両による各種作業の駆動および停止を制御する制御手段と、
を備えることを特徴とする作業車両自動化システム。
続きを表示(約 780 文字)
【請求項2】
無人の作業車両を制御して各種作業を自動で行う作業車両自動化システムであって、
板状のポリウレア樹脂からなり、複数枚敷設されて前記作業車両が走行可能な敷板と、
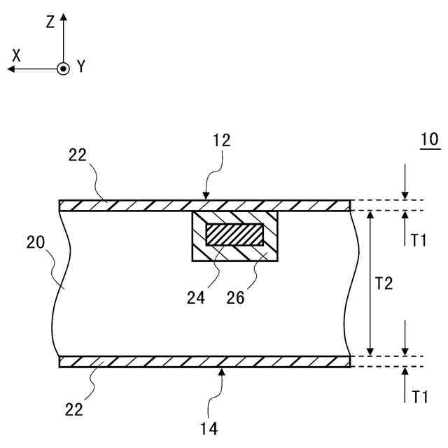
前記複数枚の各敷板のそれぞれに設けられ、前記作業車両に作業指令情報を発信する発信機と、
前記作業車両に設けられ、前記発信機による作業指令情報を受信する受信機と、
前記作業指令情報に基づいて前記作業車両の走行および停止を制御するとともに、前記作業車両による各種作業の駆動および停止を制御する制御手段と、
を備えることを特徴とする作業車両自動化システム。
【請求項3】
無人の作業車両を制御して各種作業を自動で行う作業車両自動化システムであって、
少なくとも上面が複数の色に着色された板状のポリウレア樹脂を有し、複数敷設されて前記作業車両が走行可能な敷板と、
前記作業車両に設けられ、前記複数敷設された敷板において複数の色の種類を識別するカラーセンサと、
前記複数枚の各敷板のそれぞれに設けられ、前記作業車両に作業指令情報を発信する発信機と、
前記作業車両に設けられ、前記発信機による作業指令情報を受信する受信機と、
前記カラーセンサによる識別結果に基づいて前記作業車両の走行および停止を制御するとともに、前記発信機による作業指令情報に基づいて前記作業車両による各種作業の駆動および停止を制御する制御手段と、
を備えることを特徴とする作業車両自動化システム。
【請求項4】
前記発信機は、IDデバイスであり、
前記IDデバイスは、敷板を識別する識別情報を記憶するとともに、該識別情報を送信可能としたことを特徴とする請求項2又は3に記載の作業車両自動化システム。
発明の詳細な説明
【技術分野】
【0001】
本発明は、工事現場等で使用する敷板を用いて、作業車両による作業を自動化する作業車両自動化システムに関する。
続きを表示(約 1,600 文字)
【背景技術】
【0002】
従来、工事現場等で使用する敷板としては、鉄等の金属製のものが一般的であった。これに対して、近年、鉄よりも軽量となる、合成樹脂で形成された樹脂板の少なくとも1つの表面に、メッシュシートが含浸された敷板が提案されている(例えば、特許文献1参照)。また、樹脂板を構成する合成樹脂として、ポリカーボネート樹脂等が挙げられ、そのポリカーボネート樹脂等によって形成された敷板が提案されている(特許文献2参照)。
【0003】
また、運転者が直接操縦することなく所定の荷物を目的地まで自動的に搬送する無人搬送車(AGV:Automatic Guided Vehicle)は、生産現場や製品の保管・出荷を行う物流センター等において導入され、幅広く活用されている。このような無人搬送車を目標走行経路に沿って自動的に走行させるシステムを実現するためには、無人搬送車を目的地まで誘導するシステムが必要であり、目標走行経路の誘導方式が種々開発され、実用化されている。
【0004】
例えば、磁気誘導方式は、床面に貼り付けられた磁気テープまたは床に埋設された永久磁石の磁気を無人搬送車に搭載した磁気センサにより検出し、無人搬送車の走行速度制御と操舵制御を行い、目標走行経路に追従した自律走行を行うものである(例えば、特許文献3参照)
【先行技術文献】
【特許文献】
【0005】
特開2019-142071号公報
特開2005-314989号公報
特開平10-198424号公報
【発明の概要】
【発明が解決しようとする課題】
【0006】
しかしながら、前記した特許文献に記載されたような従来の敷板では、強度不足等の問題が生じる虞があった。そのため、工事現場等で使用する場合、作業車両による走行ができないという問題がある。一方、鉄等の金属製の敷板では、重量が重過ぎて運搬や敷設に支障を来たすという問題が生じていた。
【0007】
また、磁気テープおよび永久磁石は、無人移送車が検知できるように汚れや削れ等を取り除くために保守しなければならず、また鉄等の金属製の敷板には、適用することができないという不具合がある。
【0008】
本発明はこのような問題に鑑みてなされたものであり、軽量で運搬や敷設を容易に行うことができるともに、保守が容易な敷板を用いて、作業車両による作業の自動化を図った作業車両自動化システムを提供することを課題としている。
【課題を解決するための手段】
【0009】
本発明は、無人の作業車両を制御して各種作業を自動で行う作業車両自動化システムであって、複数の色に少なくとも上面が着色された板状のポリウレア樹脂を有し、複数枚敷設されて前記作業車両が走行可能な敷板と、前記作業車両に設けられ、前記複数枚敷設された敷板において複数の色の種類を識別するカラーセンサと、前記カラーセンサによる識別結果に基づいて前記作業車両の走行および停止を制御するとともに、前記作業車両による各種作業の駆動および停止を制御する制御手段と、を備えることを特徴とする。
【0010】
また、本発明は、無人の作業車両を制御して各種作業を自動で行う作業車両自動化システムであって、板状のポリウレア樹脂からなり、複数枚敷設されて前記作業車両が走行可能な敷板と、前記複数枚の各敷板のそれぞれに設けられ、前記作業車両に走行作業指令情報を発信する発信機と、前記作業車両に設けられ、前記発信機による走行作業指令情報を受信する受信機と、前記走行作業指令情報に基づいて前記作業車両の走行および停止を制御するとともに、前記作業車両による各種作業の駆動および停止を制御する制御手段と、を備えることを特徴とする。
(【0011】以降は省略されています)
この特許をJ-PlatPat(特許庁公式サイト)で参照する
関連特許
個人
生産早送り装置
1か月前
株式会社豊田自動織機
産業車両
1か月前
株式会社FUJI
工作機械
3か月前
株式会社カネカ
製造システム
26日前
株式会社ダイヘン
移動体
3か月前
オムロン株式会社
スレーブ装置
2日前
株式会社FUJI
加工機械ライン
2か月前
ローム株式会社
基準電圧源
23日前
愛知製鋼株式会社
車両用システム
1か月前
個人
作業車両自動化システム
1か月前
愛知製鋼株式会社
目標軌跡の設定方法
2か月前
ローム株式会社
半導体集積回路
3か月前
株式会社ダイフク
搬送設備
1か月前
株式会社ダイフク
搬送設備
12日前
トヨタ自動車株式会社
移動制御システム
1か月前
三栄ハイテックス株式会社
基準電圧回路
3か月前
株式会社ダイフク
搬送設備
1か月前
株式会社ダイフク
搬送設備
3か月前
トヨタ自動車株式会社
生産管理システム
2か月前
株式会社鷺宮製作所
制御装置
3か月前
トヨタ自動車株式会社
減圧弁
1か月前
キヤノン電子株式会社
加工装置、及び、制御方法
2か月前
株式会社オプトン
制御プログラム生成装置
3か月前
カヤバ株式会社
減圧弁
今日
株式会社ダイヘン
負荷時タップ切換器
3か月前
トヨタ自動車株式会社
クラッチペダル
1か月前
トヨタ自動車株式会社
制御装置
2日前
株式会社ダイフク
物品搬送設備
3か月前
株式会社ダイフク
物品搬送設備
3か月前
キヤノン株式会社
配送システム
26日前
株式会社ダイフク
物品搬送設備
3か月前
株式会社ダイフク
物品搬送設備
3か月前
マーク ヘイリー
消防ロボット
2か月前
株式会社ダイフク
物品搬送設備
12日前
愛知製鋼株式会社
マーカシステム及び制御方法
1か月前
株式会社TMEIC
安全性診断装置
6日前
続きを見る
他の特許を見る