TOP
|
特許
|
意匠
|
商標
特許ウォッチ
Twitter
他の特許を見る
公開番号
2025143901
公報種別
公開特許公報(A)
公開日
2025-10-02
出願番号
2024043405
出願日
2024-03-19
発明の名称
椅子及び椅子構造
出願人
TOPPANホールディングス株式会社
代理人
個人
,
個人
,
個人
,
個人
主分類
G09F
13/12 20060101AFI20250925BHJP(教育;暗号方法;表示;広告;シール)
要約
【課題】椅子の更なる活用方法を提供することができる。
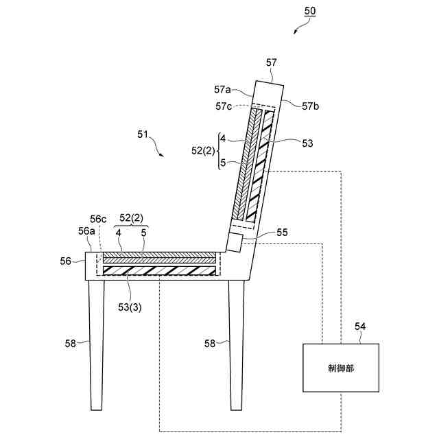
【解決手段】椅子50は、座面部56を有する椅子本体51と、椅子本体51の外に向かって情報を表示するように椅子本体51内に配置された、発光可能な表示部53と、表示部53の表面側に配置され、色が印刷された印刷物52と、を備えている。印刷物52は、表示部53が発光する場合には、表示部53から出射された光を透過させ、表示部53が発光していない場合には、印刷物52の色で表示部53を隠遁する、ように構成される。
【選択図】図16
特許請求の範囲
【請求項1】
少なくとも座面部を有する椅子本体と、
前記椅子本体の外に向って情報を表示するように前記椅子本体内に配置された、発光可能な表示部と、
前記表示部の表面側に配置され、色又は絵柄が印刷された印刷物と、を備え、
前記印刷物は、
前記表示部が発光する場合には、前記表示部から出射された光を透過させ、
前記表示部が発光していない場合には、前記印刷物の色又は絵柄で前記表示部を隠遁する、ように構成される、椅子。
続きを表示(約 1,000 文字)
【請求項2】
前記椅子本体は、背もたれ部を更に有し、
前記表示部は、前記座面部及び前記背もたれ部の少なくとも一方の内に配置される、
請求項1に記載の椅子。
【請求項3】
前記表示部は、前記背もたれ部内に配置され、
前記表示部は、利用者が座る側の背受け面又は前記背受け面の逆側の裏面に向って発光して前記情報を表示する、
請求項2に記載の椅子。
【請求項4】
前記印刷物は、色又は絵柄が印刷された印刷パターンと、前記印刷パターンの表面側に配置される透光性基材と、を有し、
前記椅子本体には、前記表示部及び前記印刷物を収容する凹部が設けられている、
請求項1に記載の椅子。
【請求項5】
前記表示部に接続され、前記表示部に前記情報を表示させるように前記表示部を発光させる制御部と、
利用者が前記椅子本体に座っているか否かを検出する検出部と、を更に備え、
前記検出部が前記椅子本体に前記利用者が座っていないと検出した場合に、前記制御部は、前記表示部を発光させて前記情報を表示させる、
請求項1に記載の椅子。
【請求項6】
前記表示部に接続され、前記表示部に前記情報を表示させるように前記表示部を発光させる制御部と、
利用者が前記椅子本体に座ろうとしているか否かを検出する検出部と、を更に備え、
前記検出部が前記椅子本体に前記利用者が座ろうとしていると検出した場合に、前記制御部は、前記表示部を発光させて前記情報を表示させる、
請求項1に記載の椅子。
【請求項7】
前記情報は、広告情報であり、
前記表示部は、前記椅子の位置、時刻、及び、所定のタイミングの少なくとも何れかの情報に基づいて、前記広告情報を表示する、
請求項1~6の何れか一項に記載の椅子。
【請求項8】
請求項1に記載の第1の椅子と、
請求項1に記載の第2の椅子と、
前記第1及び第2の椅子それぞれの前記表示部に接続され、前記表示部に前記所定の情報を表示させるとともに前記表示部を発光させる制御部と、を備え、
前記制御部は、前記第1の椅子の前記表示部に表示させる前記情報と前記第2の椅子の前記表示部に表示させる前記情報とを連動させて各前記表示部に表示させる、椅子構造。
発明の詳細な説明
【技術分野】
【0001】
本開示は、椅子及び椅子構造に関する。
続きを表示(約 1,400 文字)
【背景技術】
【0002】
特許文献1には、鉄道車両に用いられる椅子又は椅子構造(例えば、ロングシート)の一例が開示されている。
【先行技術文献】
【特許文献】
【0003】
特開2021-084550号公報
【発明の概要】
【発明が解決しようとする課題】
【0004】
鉄道車両や空港等において用いられている椅子又は椅子構造は、利用者が座っていない場合には、活用されていなかった。そこで、椅子又は椅子構造としての機能は維持しつつ、椅子又は椅子構造の更なる活用方法が望まれている。
【0005】
本開示は、椅子又は椅子構造の更なる活用方法を提供する。
【課題を解決するための手段】
【0006】
[1]本開示の一側面に係る椅子は、少なくとも座面部を有する椅子本体と、椅子本体の外に向って情報を表示するように椅子本体内に配置された、発光可能な表示部と、表示部の表面側に配置され、色又は絵柄が印刷された印刷物と、を備えている。印刷物は、表示部が発光する場合には、表示部から出射された光を透過させ、表示部が発光していない場合には、印刷物の色又は絵柄で表示部を隠遁する、ように構成される。
【0007】
この椅子においては、表示部が発光する場合には表示部から出射された光が印刷物を透過する。このため、表示部が表面側を印刷物で覆われた状態であっても、印刷物を透過した光によって各種情報を利用者に視認させることができる。一方、表示部が発光していない場合には、表示部は印刷物の色又は絵柄で隠蔽される。このような椅子によれば、椅子としての機能(利用者が座る機能)は維持しつつ、椅子の更なる活用方法を提供することができる。
【0008】
[2]一実施形態において、上述した[1]に記載の椅子において、椅子本体は、背もたれ部を更に有してもよく、表示部は、座面部及び背もたれ部の少なくとも一方の内に配置されていることが好ましい。この場合、表示部が表示する情報について、利用者への見せ方のバリエーションを多くすることができる。
【0009】
[3]一実施形態において、上述した[2]に記載の椅子において、表示部は、背もたれ部内に配置されてもよく、表示部は、利用者が座る側の背受け面又は背受け面の逆側の裏面に向って発光して情報を表示してもよい。表示部が背もたれ部の背受け面に向って発光して情報を表示する場合、当該椅子を利用しようとしている利用者又は椅子付近にいる利用者に対して各種情報を視認させることができる。一方、表示部が背もたれ部の裏面に向って発光して情報を表示する場合、当該椅子の後ろ側の椅子等を利用している利用者に対して各種情報を視認させることができる。
【0010】
[4]一実施形態において、上述した[1]~[3]の何れか一つに記載の椅子において、印刷物は、色又は絵柄が印刷された印刷パターンと、印刷パターンの表面側に配置される透光性基材と、を有してもよく、椅子本体には、表示部及び印刷物を収容する凹部が設けられていてもよい。この場合、表示部によって表示される情報を利用者に視認させることを阻害することなく、透光性基材により、印刷パターンを保護することができる。また、椅子本体に凹部を設けて、その中に表示部等を収容することにより、椅子としての機能を損なうこともない。
(【0011】以降は省略されています)
この特許をJ-PlatPat(特許庁公式サイト)で参照する
関連特許
個人
回転式カード学習具
1か月前
日本精機株式会社
表示装置
13日前
日本精機株式会社
表示装置
1か月前
日本精機株式会社
表示装置
3か月前
個人
時刻表示機能つき手帳
2か月前
個人
計算用教具
9日前
中国電力株式会社
標示旗
19日前
日本精機株式会社
車両用表示装置
2か月前
日本精機株式会社
車両用表示装置
1か月前
日本精機株式会社
車両用表示装置
2か月前
個人
モデルで薔薇の花嫁様を描く為
1か月前
日本精機株式会社
車両用センサ装置
9日前
トヨタ自動車株式会社
評価方法
2か月前
シャープ株式会社
表示装置
3か月前
株式会社一弘社
情報表示板
1か月前
シャープ株式会社
表示装置
20日前
個人
口唇閉鎖の訓練具
3か月前
パイオニア株式会社
表示装置
3か月前
株式会社ウメラボ
学習支援システム
5日前
個人
音楽教材
1か月前
ニチレイマグネット株式会社
磁着式電飾装置
19日前
株式会社半導体エネルギー研究所
半導体装置
2か月前
株式会社ノジマ
応対体験システム
3か月前
株式会社リコー
画像投射システム
20日前
BEST株式会社
吊り下げ表示部材
1か月前
個人
サインポスト
2か月前
シチズンファインデバイス株式会社
液晶表示装置
1か月前
学校法人関西医科大学
腹腔鏡手術訓練装置
19日前
シチズンファインデバイス株式会社
液晶表示装置
28日前
株式会社バンダイ
情報処理装置およびプログラム
3か月前
株式会社サンゲツ
見本帳
1か月前
シャープ株式会社
表示装置
1か月前
朝日インテック株式会社
心臓モデル装置
3か月前
個人
ピアノの指トレーニング器具及び練習方法
2か月前
シャープ株式会社
表示装置
1か月前
セイコーエプソン株式会社
表示方法
28日前
続きを見る
他の特許を見る