TOP
|
特許
|
意匠
|
商標
特許ウォッチ
Twitter
他の特許を見る
公開番号
2025145008
公報種別
公開特許公報(A)
公開日
2025-10-03
出願番号
2024044970
出願日
2024-03-21
発明の名称
光デバイスおよび画像形成装置
出願人
TDK株式会社
代理人
個人
,
個人
,
個人
主分類
G02B
6/125 20060101AFI20250926BHJP(光学)
要約
【課題】導波路層からの迷光を簡便で効果的に減衰させることができる光デバイス等を提供する。
【解決手段】光デバイスは、基板と、基板上に形成され、光を伝搬させる光導波路を有する導波路層と、導波路層を覆うように設けられた保護層と、光導波路を分断しない位置に、保護層と導波路層を分断する深さを有するように設けられ、表面に粗面加工が施された溝部とを備える。
【選択図】図3
特許請求の範囲
【請求項1】
基板と、
前記基板上に形成され、光を伝搬させる光導波路を有する導波路層と、
前記導波路層を覆うように設けられた保護層と、
前記光導波路を分断しない位置に、前記保護層と前記導波路層を分断する深さを有するように設けられ、表面に粗面加工が施された溝部と
を備える光デバイス。
続きを表示(約 640 文字)
【請求項2】
前記溝部は、前記光導波路の湾曲部に沿って設けられる請求項1に記載の光デバイス。
【請求項3】
前記表面のうち前記導波路層と交差する2側面の少なくとも一方は、前記導波路層の面方向に対して30°以上60°未満の角度をなす傾斜側面である請求項1に記載の光デバイス。
【請求項4】
前記2側面のうち前記傾斜側面は、前記光導波路が設けられていない側の前記導波路層と交差する側面である請求項3に記載の光デバイス。
【請求項5】
前記表面のうち前記導波路層と交差する2側面の算術平均粗さ(Ra)は、前記導波路層と平行な底面の算術平均粗さ(Ra)よりも大きい請求項1に記載の光デバイス。
【請求項6】
前記表面の算術平均粗さ(Ra)は、5nm以上15nm未満である請求項1に記載の
光デバイス。
【請求項7】
前記表面のうち前記導波路層と交差する2側面は、前記溝部の深さ方向に沿う畝部が連続するように設けられている請求項1に記載の光デバイス。
【請求項8】
前記表面は大気と接している請求項1に記載の光デバイス。
【請求項9】
前記光導波路は、3つの入力導波路と、前記3つの入力導波路が合流した1つの出力導波路とを有する請求項1から8のいずれか1項に記載の光デバイス。
【請求項10】
請求項9に記載の光デバイスを採用した画像形成装置。
発明の詳細な説明
【技術分野】
【0001】
本発明は、光デバイスおよび画像形成装置に関する。
続きを表示(約 1,200 文字)
【背景技術】
【0002】
光導波路が設けられた光デバイスは、光源となるレーザダイオードや通信信号を伝搬する光ファイバー、他の光デバイスなどに接続されて利用される。このような光デバイスにおいて、導波路層から漏れる迷光は、光デバイスが予定された機能を発揮する妨げとなり得る。そこで、導波路層から漏れる迷光を遮断するために、光デバイス内に壁状または柱状の配線電極を設ける対策などが実用化されつつある(例えば、特許文献1参照)。
【先行技術文献】
【特許文献】
【0003】
特開2020-205373号公報
【発明の概要】
【発明が解決しようとする課題】
【0004】
しかし、迷光の遮断のために光デバイスに配線電極を埋め込むことは、複雑なプロセスとコストを要することから、より簡便で効果的な迷光対策が求められていた。
【0005】
本発明は、このような問題を解決するためになされたものであり、導波路層からの迷光を簡便で効果的に減衰させることができる光デバイス等を提供するものである。
【課題を解決するための手段】
【0006】
本発明の第1の態様における光デバイスは、基板と、基板上に形成され、光を伝搬させる光導波路を有する導波路層と、導波路層を覆うように設けられた保護層と、光導波路を分断しない位置に、保護層と導波路層を分断する深さを有するように設けられ、表面に粗面加工が施された溝部とを備える。
【0007】
また、本発明の第2の態様における画像形成装置は、上記の光デバイスを採用したものである。
【発明の効果】
【0008】
本発明により、導波路層からの迷光を簡便で効果的に減衰させることができる光デバイス等を提供することができる。
【図面の簡単な説明】
【0009】
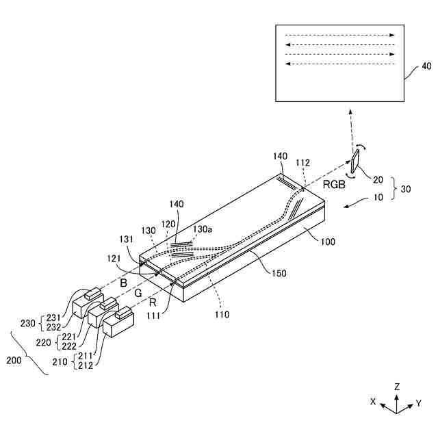
本実施形態に係る光デバイスを含む光源ユニット採用するプロジェクタの構成を説明する概略図である。
光源ユニットの平面図および正面図である。
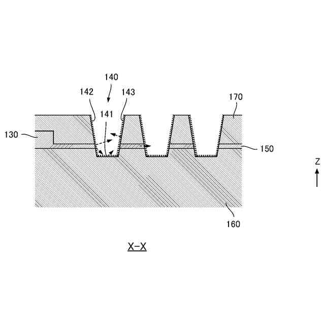
第1実施例としての溝部のX-X断面図である。
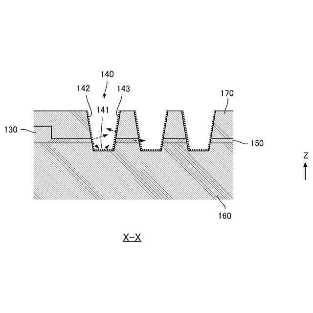
第2実施例としての溝部のX-X断面図である。
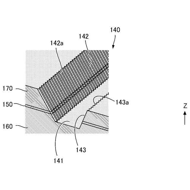
第3実施例としての溝部の部分斜視図である。
【発明を実施するための形態】
【0010】
添付図面を参照して、本発明の実施形態について説明する。各図において、同一の符号を付したものは、同一又は同様の構成を有する。また、各図において、同一又は同様の構成を有する構造物が複数存在する場合には、煩雑となることを回避するため、一部に符号を付し、他に同一符号を付すことを省く場合がある。なお、特許請求の範囲に係る発明を以下の実施形態に限定するものではない。また、実施形態で説明する構成の全てが課題を解決するための手段として必須であるとは限らない。
(【0011】以降は省略されています)
この特許をJ-PlatPat(特許庁公式サイト)で参照する
関連特許
TDK株式会社
センサ
6日前
TDK株式会社
電子部品
10日前
TDK株式会社
電子部品
今日
TDK株式会社
電子部品
10日前
TDK株式会社
フィルタ
今日
TDK株式会社
電子部品
1か月前
TDK株式会社
フィルタ
10日前
TDK株式会社
電子部品
1か月前
TDK株式会社
電子部品
1か月前
TDK株式会社
電子部品
6日前
TDK株式会社
電子部品
6日前
TDK株式会社
電子部品
1か月前
TDK株式会社
圧電素子
今日
TDK株式会社
電子部品
今日
TDK株式会社
電子部品
1か月前
TDK株式会社
コイル部品
6日前
TDK株式会社
圧力センサ
2日前
TDK株式会社
コイル部品
8日前
TDK株式会社
コイル部品
6日前
TDK株式会社
ガスセンサ
7日前
TDK株式会社
ガスセンサ
10日前
TDK株式会社
ガスセンサ
6日前
TDK株式会社
センサ装置
7日前
TDK株式会社
コイル部品
10日前
TDK株式会社
コイル部品
10日前
TDK株式会社
コイル部品
10日前
TDK株式会社
コイル部品
14日前
TDK株式会社
コイル装置
14日前
TDK株式会社
コイル部品
1か月前
TDK株式会社
コイル部品
今日
TDK株式会社
磁気センサ
今日
TDK株式会社
ガスセンサ
1か月前
TDK株式会社
コイル装置
1か月前
TDK株式会社
コイル装置
1か月前
TDK株式会社
磁気センサ
1か月前
TDK株式会社
ガスセンサ
1日前
続きを見る
他の特許を見る