TOP
|
特許
|
意匠
|
商標
特許ウォッチ
Twitter
他の特許を見る
公開番号
2025142291
公報種別
公開特許公報(A)
公開日
2025-09-30
出願番号
2025126349,2021032058
出願日
2025-07-29,2021-03-01
発明の名称
セラミック電子部品
出願人
太陽誘電株式会社
代理人
弁理士法人片山特許事務所
主分類
H01G
4/30 20060101AFI20250919BHJP(基本的電気素子)
要約
【課題】 クラックの発生を抑制しつつ内部電極層の連続率を維持することができるセラミック電子部品を提供する。
【解決手段】 セラミック電子部品は、セラミックを主成分とする複数の誘電体層と、複数の内部電極層と、が積層された積層チップを備え、前記内部電極層は、Niと、Sと、Snと、を含み、前記内部電極層は、厚さ方向の中心部にNiを主成分とするNi層を備え、前記内部電極層において、前記Ni層よりも前記誘電体層側に前記Ni層よりもSn濃度の高い高Sn濃度部が備わり、前記高Sn濃度部よりも前記誘電体層側に前記Ni層よりもS濃度の高い高S濃度部が備わり、前記高Sn濃度部のSn濃度は前記高S濃度部よりも高いことを特徴とする。
【選択図】 図4
特許請求の範囲
【請求項1】
セラミックを主成分とする複数の誘電体層と、複数の内部電極層と、が積層された積層チップを備え、
前記内部電極層は、Niと、Sと、Snと、を含み、
前記内部電極層は、厚さ方向の中心部にNiを主成分とするNi層を備え、
前記内部電極層において、前記Ni層よりも前記誘電体層側に前記Ni層よりもSn濃度の高い高Sn濃度部が備わり、前記高Sn濃度部よりも前記誘電体層側に前記Ni層よりもS濃度の高い高S濃度部が備わり、前記高Sn濃度部のSn濃度は前記高S濃度部よりも高いことを特徴とするセラミック電子部品。
続きを表示(約 160 文字)
【請求項2】
前記内部電極層において、厚さ方向の中心部よりも、前記誘電体層との界面近傍において、Sn濃度およびS濃度が高いことを特徴とする請求項1に記載のセラミック電子部品。
【請求項3】
前記内部電極層は、0.4μm以下の厚みを有することを特徴とする請求項1または請求項2に記載のセラミック電子部品。
発明の詳細な説明
【技術分野】
【0001】
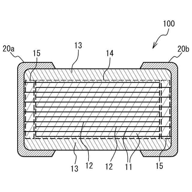
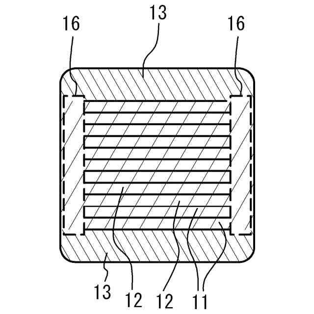
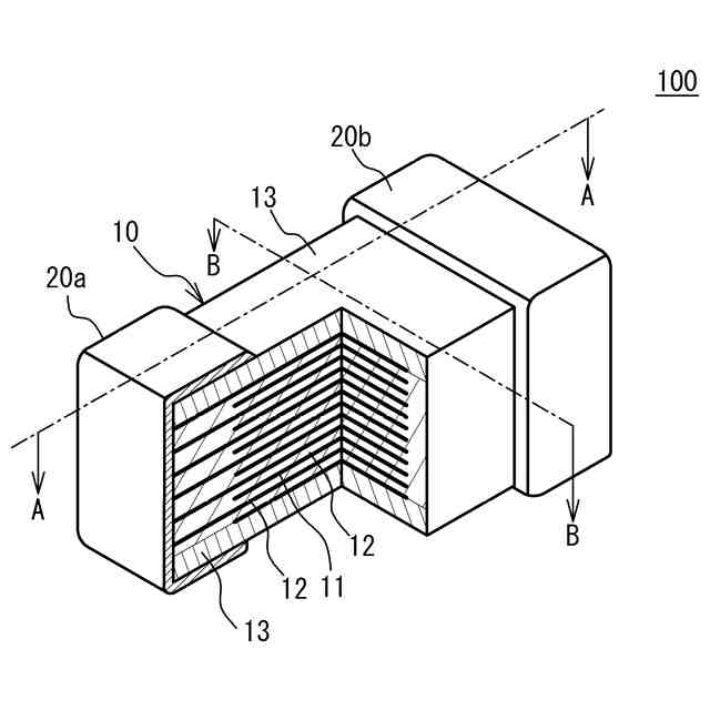
本発明は、セラミック電子部品に関する。
続きを表示(約 1,300 文字)
【背景技術】
【0002】
積層セラミックコンデンサなどのセラミック電子部品は、チタン酸バリウムなどの誘電体材料を主原料とした誘電体グリーンシートの上に、ニッケル(Ni)などの金属材料からなる金属ペーストを印刷し、積層、圧着、カット、脱バインダ、焼成、外部電極塗布等を経て作製される。市場要求であるセラミック電子部品の小型大容量化のため、誘電体層の薄層化と同様、内部電極層の薄層化および高積層化が要求されている。
【先行技術文献】
【特許文献】
【0003】
特開2003-129116号公報
特開2014-5491号公報
【発明の概要】
【発明が解決しようとする課題】
【0004】
内部電極の薄層化のためには、焼成前の金属粉末の粒子の物理的サイズを極力小さくすることが求められる(例えば、特許文献1参照)。しかしながら、Niなどの卑金属微粒子を用いた場合、小径化に伴い、表面酸化量が増加する。表面酸化量が増加すると、表面酸素による脱バインダ進行が無視できなくなり、脱バインダクラックが頻出し、問題となり得る。
【0005】
表面酸素の還元抑制のために、硫黄(S)を添加することが知られている(例えば、特許文献2参照)。しかしながら、Sの添加量が多くなると、Sが脱離する際に急激な収縮が生じるため、クラックが発生する。また、Sの燃焼反応により、雰囲気中の還元度が上がり、共材や誘電体の粒成長が加速され、内部電極の連続性が悪化する。
【0006】
本発明は、上記課題に鑑みなされたものであり、クラックの発生を抑制しつつ内部電極層の連続率を維持することができるセラミック電子部品を提供することを目的とする。
【課題を解決するための手段】
【0007】
本発明に係るセラミック電子部品は、セラミックを主成分とする複数の誘電体層と、複数の内部電極層と、が積層された積層チップを備え、前記内部電極層は、Niと、Sと、Snと、を含むことを特徴とする。
【0008】
上記セラミック電子部品の前記内部電極層において、厚さ方向の中心部よりも、前記誘電体層との界面近傍において、Sn濃度およびS濃度が高くてもよい。
【0009】
上記セラミック電子部品において、前記内部電極層は、厚さ方向の中心部にNiを主成分とするNi層を備え、前記内部電極層において、前記Ni層よりも前記誘電体層側に前記Ni層よりもS濃度およびSn濃度の高い高濃度部が備わっていてもよい。
【0010】
上記セラミック電子部品において、前記内部電極層は、厚さ方向の中心部にNiを主成分とするNi層を備え、前記内部電極層において、前記Ni層よりも前記誘電体層側に前記Ni層よりもS濃度の高い高S濃度部が備わり、前記高S濃度部よりも前記誘電体層側に前記高S濃度部よりもSn濃度の高い高Sn濃度部が備わっていてもよい。
(【0011】以降は省略されています)
この特許をJ-PlatPat(特許庁公式サイト)で参照する
関連特許
太陽誘電株式会社
感覚提示システム
1か月前
太陽誘電株式会社
積層セラミック電子部品
1か月前
太陽誘電株式会社
電動アシスト車の制御装置
1か月前
太陽誘電株式会社
フィルタ及びマルチプレクサ
1か月前
太陽誘電株式会社
特徴量取得装置および特徴量取得方法
13日前
太陽誘電株式会社
積層セラミックコンデンサ及び回路基板
3日前
太陽誘電株式会社
積層セラミックコンデンサ及び回路基板
3日前
太陽誘電株式会社
積層セラミックコンデンサ及び回路基板
6日前
太陽誘電株式会社
積層セラミックコンデンサ及び回路基板
1か月前
太陽誘電株式会社
積層セラミック電子部品及びその製造方法
22日前
太陽誘電株式会社
圧電トランスデューサおよび電気音響装置
1日前
太陽誘電株式会社
電子部品の検査方法および電子部品の製造方法
3日前
太陽誘電株式会社
存在検知システム、存在判定装置および存在判定方法
13日前
太陽誘電株式会社
測位システム、測位装置、測位方法、および測位プログラム
22日前
太陽誘電株式会社
測位システム、測位装置、測位方法、および測位プログラム
22日前
太陽誘電株式会社
弾性波デバイス、フィルタ、及び弾性波デバイスの製造方法
13日前
太陽誘電株式会社
セラミック電子部品
2日前
太陽誘電株式会社
弾性波デバイス、フィルタ、マルチプレクサ、及び弾性波デバイスの製造方法
1か月前
太陽誘電株式会社
弾性波デバイス、フィルタ、マルチプレクサ、及び弾性波デバイスの製造方法
1か月前
住友ベークライト株式会社
感応膜用組成物、感応膜、におい検出素子、および、においセンサー
6日前
住友ベークライト株式会社
感応膜用組成物、感応膜、におい検出素子、および、においセンサー
6日前
個人
安全なNAS電池
27日前
日本発條株式会社
積層体
3日前
個人
フリー型プラグ安全カバー
1か月前
東レ株式会社
多孔質炭素シート
22日前
ローム株式会社
半導体装置
1日前
エイブリック株式会社
半導体装置
24日前
ローム株式会社
半導体装置
1日前
ローム株式会社
半導体装置
22日前
エイブリック株式会社
半導体装置
24日前
ローム株式会社
半導体装置
1日前
キヤノン株式会社
電子機器
22日前
個人
防雪防塵カバー
3日前
ニチコン株式会社
コンデンサ
15日前
株式会社ティラド
面接触型熱交換器
14日前
株式会社GSユアサ
蓄電装置
3日前
続きを見る
他の特許を見る