TOP
|
特許
|
意匠
|
商標
特許ウォッチ
Twitter
他の特許を見る
10個以上の画像は省略されています。
公開番号
2025145847
公報種別
公開特許公報(A)
公開日
2025-10-03
出願番号
2024046305
出願日
2024-03-22
発明の名称
半導体装置、および、半導体装置の製造方法
出願人
ローム株式会社
代理人
個人
,
個人
主分類
H01L
23/50 20060101AFI20250926BHJP(基本的電気素子)
要約
【課題】配線基板への実装時における実装信頼性を向上できる半導体装置を提供する。
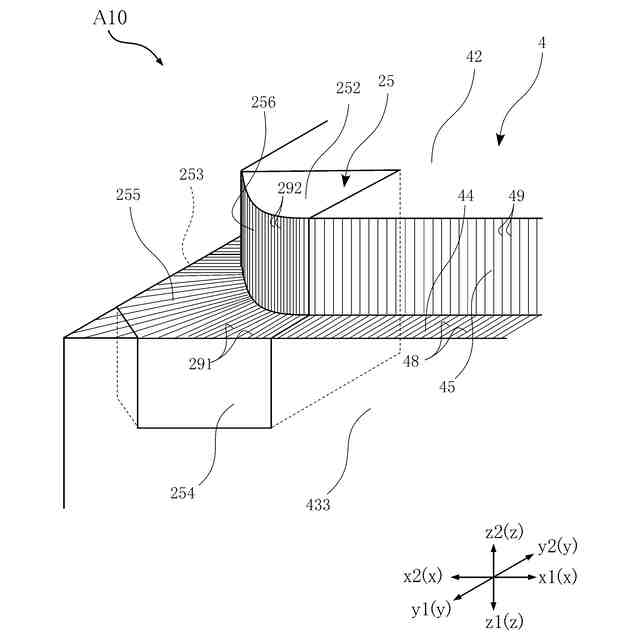
【解決手段】半導体装置A10において、厚さ方向zを向き、かつ、電極33が配置された素子主面305を有する半導体素子3と、半導体素子3に導通する導電部材1と、厚さ方向zの第1側z1を向く樹脂頂面41および厚さ方向zの第2側z2を向く樹脂底面42を有し、かつ、導電部材1の一部および半導体素子3を覆う封止樹脂4と、を備えた。導電部材1は、厚さ方向zに視て封止樹脂4の角部に位置するリード25を含む。リード25は、厚さ方向zの第2側z2を向く裏面252、厚さ方向zの第2側z2を向き、かつ、裏面252より厚さ方向zの第1側z1に位置する変位裏面255、および、裏面252および変位裏面255につながる連結面256を備える。連結面256は、厚さ方向zに視て曲面である。
【選択図】図14
特許請求の範囲
【請求項1】
厚さ方向を向き、かつ、電極が配置された素子主面を有する半導体素子と、
前記半導体素子に導通する導電部材と、
前記厚さ方向の第1側を向く樹脂頂面および前記厚さ方向の第2側を向く樹脂底面を有し、かつ、前記導電部材の一部および前記半導体素子を覆う封止樹脂と、
を備え、
前記導電部材は、前記厚さ方向に視て前記封止樹脂の角部に位置する第1リードを含み、
前記第1リードは、前記厚さ方向の第2側を向く第1裏面、前記厚さ方向の第2側を向き、かつ、前記第1裏面より前記厚さ方向の第1側に位置する第2裏面、および、前記第1裏面および前記第2裏面につながる連結面を備え、
前記連結面は、前記厚さ方向に視て曲面である、
半導体装置。
続きを表示(約 800 文字)
【請求項2】
前記連結面は前記厚さ方向に視て、外側に凸形状である、
請求項1に記載の半導体装置。
【請求項3】
前記第1裏面、前記第2裏面、および前記連結面は、前記封止樹脂から露出し、
前記第1裏面は、前記樹脂底面に面一である、
請求項1に記載の半導体装置。
【請求項4】
前記連結面は前記第1裏面に略直交する、
請求項1に記載の半導体装置。
【請求項5】
前記連結面は前記厚さ方向に対して傾斜している、
請求項1に記載の半導体装置。
【請求項6】
前記第1リードは、
前記厚さ方向の第1側を向き、かつ、前記封止樹脂に覆われている主面と、
前記厚さ方向に直交する第1方向を向き、かつ、前記主面および前記第2裏面につながる第1端面と、
前記厚さ方向および前記第1方向に直交する第2方向を向き、かつ、前記主面および前記第2裏面につながる第2端面と、
をさらに備え、
前記第1端面および前記第2端面は、前記封止樹脂から露出している、
請求項1に記載の半導体装置。
【請求項7】
前記第2裏面には、前記厚さ方向に直交する方向に延びる複数の第1凸部が形成されている、
請求項1ないし6のいずれかに記載の半導体装置。
【請求項8】
前記連結面には、前記厚さ方向に延びる複数の第2凸部が形成されている、
請求項1に記載の半導体装置。
【請求項9】
前記第1リードは、前記半導体素子に導通しない、
請求項1に記載の半導体装置。
【請求項10】
前記第1リードは、前記半導体素子に導通する、
請求項1に記載の半導体装置。
(【請求項11】以降は省略されています)
発明の詳細な説明
【技術分野】
【0001】
本開示は、半導体装置、および、半導体装置の製造方法に関する。
続きを表示(約 2,600 文字)
【背景技術】
【0002】
半導体素子を備えた半導体装置は、様々な構成が提案されている。特許文献1には、パッケージ形式がQFN(Quad Flat Non-Lead Package)である電子装置の一例が開示されている。同文献に開示された電子装置は、複数のリード、電子部品および樹脂部材を備えている。電子部品は、複数のリードに支持されている。樹脂部材は、各リードの一部および電子部品を覆っている。同文献に開示された電子装置は、いわゆるウエッタブルフランクパッケージであり、各リードには、裏面から窪み、端面につながる凹部が形成されている。電子装置が配線基板にはんだを介して実装された際、当該凹部にはんだフィレットが形成されることで、接合強度が高まり、また、視認検査が容易になる。
【0003】
一方、半導体装置(特許文献では電子装置)が配線基板にはんだを介して実装された場合、各角部に配置されているリードは、裏面に接合されるはんだに、線膨張係数差の応力が集中するので、他のリードと比較して実装信頼性が低い。半導体装置がウエッタブルフランクパッケージである場合、各角部に配置されているリードの2つの凹部が重なる角部分において、特に応力が集中する。
【先行技術文献】
【特許文献】
【0004】
特開2023-42910号公報
【0005】
[概要]
本開示は、上記した事情のもとで考え出されたものであって、配線基板への実装時における実装信頼性を向上できる半導体装置を提供することを主たる課題とする。
【0006】
本開示の第1の側面によって提供される半導体装置は、厚さ方向を向き、かつ、電極が配置された素子主面を有する半導体素子と、前記半導体素子に導通する導電部材と、前記厚さ方向の第1側を向く樹脂頂面および前記厚さ方向の第2側を向く樹脂底面を有し、かつ、前記導電部材の一部および前記半導体素子を覆う封止樹脂と、を備え、前記導電部材は、前記厚さ方向に視て前記封止樹脂の角部に位置する第1リードを含み、前記第1リードは、前記厚さ方向の第2側を向く第1裏面、前記厚さ方向の第2側を向き、かつ、前記第1裏面より前記厚さ方向の第1側に位置する第2裏面、および、前記第1裏面および前記第2裏面につながる連結面を備え、前記連結面は、前記厚さ方向に視て曲面である。
【0007】
本開示の第2の側面によって提供される半導体装置の製造方法は、リードフレームの厚さ方向の第1側を向くリードフレーム主面に半導体素子を接合する素子接合工程と、前記リードフレームの一部および前記半導体素子を覆う封止樹脂を形成する樹脂形成工程と、前記リードフレームの前記厚さ方向の第2側を向くリードフレーム裏面から前記リードフレームの前記厚さ方向の途中まで凹む溝部を形成する溝部形成工程と、前記溝部に沿って、前記厚さ方向に視て前記溝部よりも幅が狭く、かつ、そのすべてが前記溝部に重なる除去領域において前記リードフレームおよび前記封止樹脂を前記厚さ方向の全域において除去する切断工程と、を備え、前記溝部は、前記厚さ方向に直交する第1方向に延びる第1溝と、前記厚さ方向および前記第1方向に直交する第2方向に延びる第2溝と、前記第1溝と前記第2溝とが交差する位置で、前記第1溝および前記第2溝につながり、かつ、前記厚さ方向に視て曲面である連結面と、を備えている。
【0008】
本開示のその他の特徴および利点は、添付図面を参照して以下に行う詳細な説明によって、より明らかとなろう。
【図面の簡単な説明】
【0009】
図1は、本開示の第1実施形態に係る半導体装置を示す斜視図である。
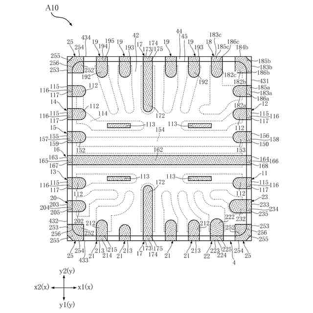
図2は、本開示の第1実施形態に係る半導体装置を示す平面図(封止樹脂を透過)である。
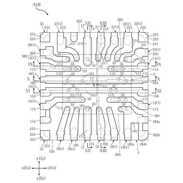
図3は、本開示の第1実施形態に係る半導体装置を示す平面図(封止樹脂および半導体素子を透過)である。
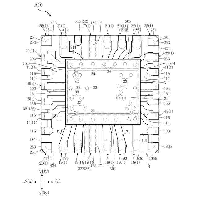
図4は、本開示の第1実施形態に係る半導体装置を示す底面図である。
図5は、本開示の第1実施形態に係る半導体装置を示す正面図である。
図6は、本開示の第1実施形態に係る半導体装置を示す背面図である。
図7は、本開示の第1実施形態に係る半導体装置を示す右側面図である。
図8は、本開示の第1実施形態に係る半導体装置を示す左側面図である。
図9は、図3のIX-IX線に沿う断面図である。
図10は、図3のX-X線に沿う断面図である。
図11は、図3のXI-XI線に沿う断面図である。
図12は、図3のXII-XII線に沿う断面図である。
図13は、図3のXIII-XIII線に沿う断面図である。
図14は、本開示の第1実施形態に係る半導体装置を示す部分拡大斜視図である。
図15は、本開示の第1実施形態に係る半導体装置の製造方法に係る工程を示す底面図である。
図16は、図15のXVI-XVI線に沿う断面図である。
図17は、本開示の第1実施形態に係る半導体装置の製造方法に係る工程を示す底面図である。
図18は、図17のXVIII-XVIII線に沿う断面図である。
図19は、第1実施形態の第1変形例に係る半導体装置を示す底面図である。
図20は、第1実施形態の第1変形例に係る半導体装置を示す部分拡大斜視図である。
図21は、第1実施形態の第2変形例に係る半導体装置を示す底面図である。
図22は、第1実施形態の第2変形例に係る半導体装置を示す部分拡大斜視図である。
図23は、第1実施形態の第3変形例に係る半導体装置を示す正面図である。
図24は、本開示の第2実施形態に係る半導体装置を示す平面図(封止樹脂を透過)である。
図25は、本開示の第2実施形態に係る半導体装置を示す底面図である。
図26は、図24のXXVI-XXVI線に沿う断面図である。
図27は、第2実施形態の第1変形例に係る半導体装置を示す平面図(封止樹脂を透過)である。
【0010】
[詳細な説明]
本開示の詳細について、添付図面に基づき説明する。
(【0011】以降は省略されています)
この特許をJ-PlatPat(特許庁公式サイト)で参照する
関連特許
個人
安全なNAS電池
1か月前
日本発條株式会社
積層体
8日前
個人
フリー型プラグ安全カバー
1か月前
東レ株式会社
多孔質炭素シート
27日前
個人
防雪防塵カバー
8日前
ローム株式会社
半導体装置
6日前
ローム株式会社
半導体装置
6日前
ローム株式会社
半導体装置
6日前
エイブリック株式会社
半導体装置
29日前
エイブリック株式会社
半導体装置
29日前
ローム株式会社
半導体装置
4日前
ローム株式会社
半導体装置
27日前
キヤノン株式会社
電子機器
27日前
沖電気工業株式会社
アンテナ
1か月前
株式会社GSユアサ
蓄電装置
1か月前
株式会社GSユアサ
蓄電装置
8日前
太陽誘電株式会社
全固体電池
4日前
個人
半導体パッケージ用ガラス基板
7日前
株式会社GSユアサ
蓄電装置
1か月前
東レ株式会社
ガス拡散層の製造方法
27日前
オムロン株式会社
電磁継電器
1か月前
ニチコン株式会社
コンデンサ
20日前
ニチコン株式会社
コンデンサ
20日前
株式会社GSユアサ
蓄電装置
4日前
株式会社ホロン
冷陰極電子源
4日前
株式会社GSユアサ
蓄電装置
1か月前
株式会社ティラド
面接触型熱交換器
19日前
株式会社ヨコオ
コネクタ
29日前
日本特殊陶業株式会社
保持装置
6日前
日本特殊陶業株式会社
保持装置
4日前
日本特殊陶業株式会社
保持装置
4日前
日本特殊陶業株式会社
保持装置
8日前
日本特殊陶業株式会社
保持装置
1か月前
ローム株式会社
電子装置
8日前
マクセル株式会社
配列用マスク
19日前
TDK株式会社
電子部品
4日前
続きを見る
他の特許を見る