TOP
|
特許
|
意匠
|
商標
特許ウォッチ
Twitter
他の特許を見る
10個以上の画像は省略されています。
公開番号
2025132649
公報種別
公開特許公報(A)
公開日
2025-09-10
出願番号
2024030355
出願日
2024-02-29
発明の名称
積層セラミック電子部品及びその製造方法
出願人
太陽誘電株式会社
代理人
個人
主分類
H01G
4/30 20060101AFI20250903BHJP(基本的電気素子)
要約
【課題】積層セラミック電子部品における誘電体層の誘電率を向上すると共に、積層セラミック電子部品の温度特性及び信頼性を向上することを目的とする。
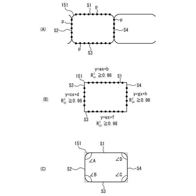
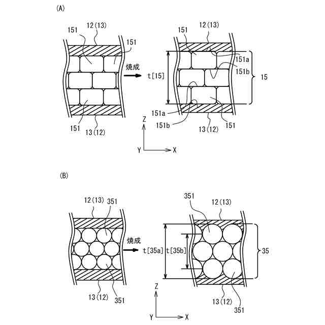
【解決手段】積層セラミック電子部品は、内部電極層と誘電体層とが交互に積層されて形成された素体を備える。前記誘電体層は、前記素体の前記内部電極層と前記誘電体層との積層方向に沿う断面において、矩形を有する粒子を備えている。前記粒子は、直方体形状又は立方体形状を備える。また、前記粒子は、対向する第1面と第2面を含む6面を有する6面体形状を備える。前記第1面と前記第2面は、それぞれ前記内部電極層と対向し、前記内部電極層と平行である。
【選択図】図4
特許請求の範囲
【請求項1】
内部電極層と誘電体層とが交互に積層されて形成された素体を備え、
前記誘電体層は、前記素体の前記内部電極層と前記誘電体層との積層方向に沿う断面において、矩形を有する粒子を複数層備えた、
積層セラミック電子部品。
続きを表示(約 950 文字)
【請求項2】
前記粒子は、直方体形状又は立方体形状を備えた、
請求項1に記載の積層セラミック電子部品。
【請求項3】
前記粒子は、対向する第1面と第2面を含む6面を有する6面体形状を備えた、
請求項1に記載の積層セラミック電子部品。
【請求項4】
前記粒子は、対向する第1面と第2面とを備え、前記第1面と前記第2面は、それぞれ前記内部電極層と対向する、
請求項1に記載の積層セラミック電子部品。
【請求項5】
前記粒子は、対向する第1面と第2面とを備え、前記第1面と前記第2面は、前記内部電極層と平行である、
請求項1に記載の積層セラミック電子部品。
【請求項6】
対向する第1面と第2面を含む6面を有する6面体形状を備えた粒子を含む原料粉末を作製する工程と、
第1内部電極層と第2内部電極層とが前記原料粉末を含む誘電体層を挟んで交互に積層されて容量形成部となる積層体を形成する工程と、
前記積層体を焼成する工程と、を含む
積層セラミック電子部品の製造方法。
【請求項7】
前記原料粉末を作製する工程は、支持部材が備える平滑面上に誘電体材料を塗布し、前記支持部材上に誘電体材料を含む板状体を作製する工程と、
前記板状体を前記支持部材から取り外すとともに、前記板状体を破砕し、前記粒子を作製する工程とを含む、
請求項6に記載の積層セラミック電子部品の製造方法。
【請求項8】
前記原料粉末を作製する工程は、前記板状体が破砕された破片を形状選別して前記粒子を取り出す工程を含む
請求項7に記載の積層セラミック電子部品の製造方法。
【請求項9】
前記原料粉末を作製する工程は、少なくとも酸化チタンを用い、20時間以上かけて水熱合成を行って前記粒子を作製する工程を含む、
請求項6に記載の積層セラミック電子部品の製造方法。
【請求項10】
前記水熱合成は、24時間以上かけて実施する、
請求項9に記載の積層セラミック電子部品の製造方法。
(【請求項11】以降は省略されています)
発明の詳細な説明
【技術分野】
【0001】
本発明は、積層セラミック電子部品及びその製造方法に関する。
続きを表示(約 920 文字)
【背景技術】
【0002】
従来、積層セラミックコンデンサなどの積層セラミック電子部品の誘電体層を形成する材料の誘電率を向上させる提案が種々行われている(例えば、特許文献1参照)。
【先行技術文献】
【特許文献】
【0003】
特開2016-011221号公報
【発明の概要】
【発明が解決しようとする課題】
【0004】
積層セラミック電子部品の小型大容量化は益々進行しており、誘電体層を形成する材料には、更なる誘電率の向上が求められている。また、積層セラミック電子部品における温度特性及び信頼性の向上も求められている。
【0005】
そこで、本発明は、積層セラミック電子部品における誘電体層の誘電率を向上すると共に、積層セラミック電子部品の温度特性及び信頼性を向上することを目的とする。
【課題を解決するための手段】
【0006】
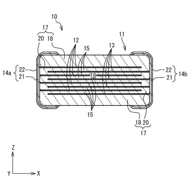
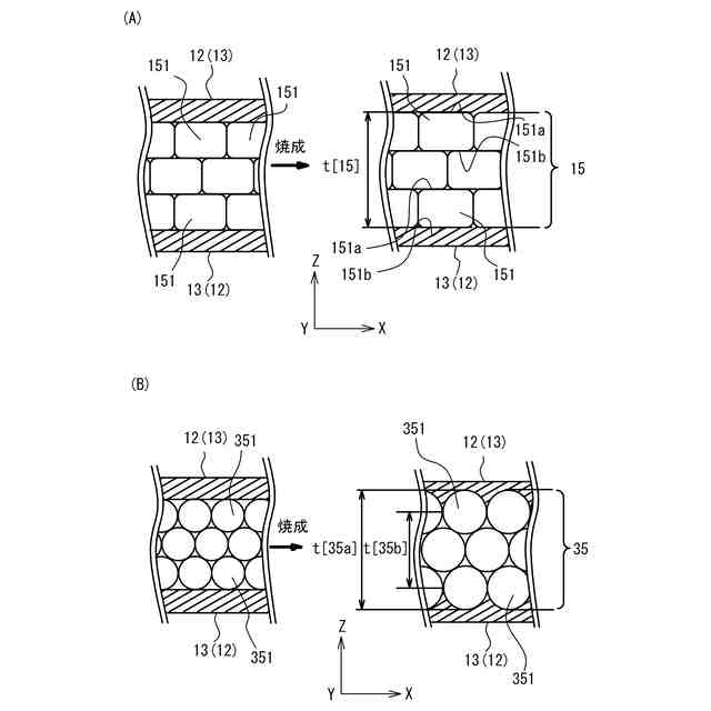
上記目的を達成するため、積層セラミック電子部品は、内部電極層と誘電体層とが交互に積層されて形成された素体を備え、前記誘電体層は、前記素体の前記内部電極層と前記誘電体層との積層方向に沿う断面において、矩形を有する粒子を複数層備えている。
【0007】
上記構成の積層セラミック電子部品において、前記粒子は、直方体形状又は立方体形状を備えた態様とすることができる。
【0008】
また、上記構成の積層セラミック電子部品において、前記粒子は、対向する第1面と第2面を含む6面を有する6面体形状を備えた態様とすることができる。
【0009】
上記構成の積層セラミック電子部品において、前記粒子は、対向する第1面と第2面とを備え、前記第1面と前記第2面は、それぞれ前記内部電極層と対向する態様とすることができる。
【0010】
さらに、上記構成の積層セラミック電子部品において、前記粒子は、対向する第1面と第2面とを備え、前記第1面と前記第2面は、前記内部電極層と平行である態様とすることができる。
(【0011】以降は省略されています)
この特許をJ-PlatPat(特許庁公式サイト)で参照する
関連特許
太陽誘電株式会社
全固体電池
1日前
太陽誘電株式会社
導波路装置
1日前
太陽誘電株式会社
電動アシスト車の制御装置
1か月前
太陽誘電株式会社
導波路装置およびレーダ装置
1日前
太陽誘電株式会社
バッテリパック及び車両の制御装置
1日前
太陽誘電株式会社
特徴量取得装置および特徴量取得方法
15日前
太陽誘電株式会社
積層セラミックコンデンサ及び回路基板
5日前
太陽誘電株式会社
積層セラミックコンデンサ及び回路基板
8日前
太陽誘電株式会社
積層セラミックコンデンサ及び回路基板
5日前
太陽誘電株式会社
積層セラミック電子部品及びその製造方法
24日前
太陽誘電株式会社
圧電トランスデューサおよび電気音響装置
3日前
太陽誘電株式会社
電子部品の検査方法および電子部品の製造方法
5日前
太陽誘電株式会社
弾性波デバイス、フィルタ、及びマルチプレクサ
1日前
太陽誘電株式会社
存在検知システム、存在判定装置および存在判定方法
15日前
太陽誘電株式会社
多重モード型フィルタ、フィルタ、及びマルチプレクサ
1日前
太陽誘電株式会社
弾性波デバイス、フィルタ、及び弾性波デバイスの製造方法
15日前
太陽誘電株式会社
測位システム、測位装置、測位方法、および測位プログラム
24日前
太陽誘電株式会社
測位システム、測位装置、測位方法、および測位プログラム
24日前
太陽誘電株式会社
積層セラミック電子部品、及び積層セラミック電子部品の製造方法
1日前
太陽誘電株式会社
セラミック電子部品
4日前
太陽誘電株式会社
弾性波デバイス、フィルタ、マルチプレクサ、及び弾性波デバイスの製造方法
1日前
住友ベークライト株式会社
感応膜用組成物、感応膜、におい検出素子、および、においセンサー
8日前
住友ベークライト株式会社
感応膜用組成物、感応膜、におい検出素子、および、においセンサー
8日前
個人
安全なNAS電池
29日前
個人
フリー型プラグ安全カバー
1か月前
東レ株式会社
多孔質炭素シート
24日前
日本発條株式会社
積層体
5日前
ローム株式会社
半導体装置
3日前
キヤノン株式会社
電子機器
24日前
ローム株式会社
半導体装置
24日前
ローム株式会社
半導体装置
1日前
ローム株式会社
半導体装置
3日前
個人
防雪防塵カバー
5日前
エイブリック株式会社
半導体装置
26日前
エイブリック株式会社
半導体装置
26日前
ローム株式会社
半導体装置
3日前
続きを見る
他の特許を見る