TOP
|
特許
|
意匠
|
商標
特許ウォッチ
Twitter
他の特許を見る
公開番号
2025146277
公報種別
公開特許公報(A)
公開日
2025-10-03
出願番号
2024046959
出願日
2024-03-22
発明の名称
情報処理装置、方法、及びシステム
出願人
トヨタ自動車株式会社
代理人
個人
,
個人
,
個人
,
個人
主分類
G08G
1/123 20060101AFI20250926BHJP(信号)
要約
【課題】自動運転車両の運行を管理する運行管理システムの技術を改善する。
【解決手段】1以上の自動運転車両の運行計画を管理する情報処理装置30は、1以上のユーザ、1以上の自動運転車両、1以上の運行ダイヤ、及び当該1以上の運行ダイヤの各々におけるルート上の1以上の地点が、少なくとも1つのエリアの情報と関連付けて記憶されるように構成されたデータベースを備える。そして、情報処理装置30は、当該1以上のユーザ毎に、当該ユーザに関連付けられた当該少なくとも1つのエリアの情報に関連付けられた当該1以上の運行ダイヤを内蔵ディスプレイ又は外部機器の画面上に表示する。
【選択図】図6
特許請求の範囲
【請求項1】
1以上の自動運転車両の運行計画を管理する情報処理装置であって、
1以上のユーザ、前記1以上の自動運転車両、1以上の運行ダイヤ、及び前記1以上の運行ダイヤの各々におけるルート上の1以上の地点が、少なくとも1つのエリアと関連付けて記憶されるように構成されたデータベースを備える記憶部と、
前記1以上のユーザ毎に、前記ユーザに関連付けられた前記少なくとも1つのエリアに関連付けられた前記1以上の運行ダイヤを内蔵ディスプレイ又は外部機器の画面上に表示する制御部と、
を備える、情報処理装置。
続きを表示(約 1,500 文字)
【請求項2】
請求項1に記載の情報処理装置であって、
前記1以上の運行ダイヤの各々は、1つの便と1対1で関連付けて記憶されるように構成される、
情報処理装置。
【請求項3】
請求項2に記載の情報処理装置であって、
前記1以上の運行ダイヤの各々の情報は、運行開始時刻と運行終了時刻と、を含み、
前記制御部は、第1運行ダイヤに関連付けられた第1自動運転車両は、前記第1運行ダイヤと時間帯が一部重なる第2運行ダイヤに関連付けできないように制御する、
情報処理装置。
【請求項4】
請求項1に記載の情報処理装置であって、
前記1以上の自動運転車両の各々の情報は、前記1以上の自動運転車両の各々が搭載する自動運転開発キット(ADK)の情報を含み、
前記制御部は、前記ADKの情報に基づいて、前記1以上の自動運転車両の各々を関連付けることが可能なエリア、又は前記1以上の自動運転車両の各々を関連付けることが可能な運行ダイヤを制限する、
情報処理装置。
【請求項5】
請求項4に記載の情報処理装置であって、
前記制御部は、自動運転車両が関連付けられているエリアが変更された際、前記内蔵ディスプレイ又は前記外部機器の前記画面に前記自動運転車両のADKに関する設定変更を促すメッセージを出力する、
情報処理装置。
【請求項6】
請求項1に記載の情報処理装置であって、
前記1以上の自動運転車両の各々の情報は、前記1以上の自動運転車両の各々の状態に関する情報を含み、
前記制御部は、前記状態に関する情報に基づいて、前記1以上の自動運転車両の各々を関連付けることが可能なエリア、又は1以上の自動運転車両の各々を関連付けることが可能な運行ダイヤを制限する、
情報処理装置。
【請求項7】
請求項1に記載の情報処理装置であって、
前記1以上の運行ダイヤの各々の情報は、前記1以上の運行ダイヤの各々の前記ルート上の状態情報を含み、
前記制御部は、前記前記ルート上の状態情報に基づいて、1以上の自動運転車両の各々を関連付けることが可能な運行ダイヤを制限する、
情報処理装置。
【請求項8】
請求項2に記載の情報処理装置であって、
前記制御部は、前記1つの便の情報に含まれる運行日の情報に基づいて、前記1つの便が臨時便であるか否か判定を行い、
前記1つの便が前記臨時便である場合、前記臨時便であることがわかる態様で内蔵ディスプレイ又は外部機器の画面上に表示する、
情報処理装置。
【請求項9】
請求項4に記載の情報処理装置であって、
前記1以上の地点の各々の情報は、前記1以上の地点の各々に対応する自動運転開発キット(ADK)の情報を含み、
前記制御部は、前記ADKの情報に基づいて、前記1以上の運行ダイヤの各々を関連付けることが可能なエリアを制限する、
情報処理装置。
【請求項10】
請求項4に記載の情報処理装置であって、
前記1以上の地点の各々の情報は、前記1以上の地点の各々に対応する自動運転開発キット(ADK)の情報を含み、
前記制御部は、前記ADKの情報に基づいて、前記1以上の地点の各々を運行ダイヤのルート上に配置することを制限する、
情報処理装置。
(【請求項11】以降は省略されています)
発明の詳細な説明
【技術分野】
【0001】
本開示は、情報処理装置、方法、及びシステムに関する。
続きを表示(約 1,600 文字)
【背景技術】
【0002】
従来、自動運転車両の運行計画を管理する運行管理システムが知られている。例えば、特許文献1には、運行管理システムにおいて、自動運転車両が路上障害の影響を受けている場合、路上障害の画像に基づいて路上障害の解消の指示を自動で道路管理システムに対して出力することが開示されている。
【先行技術文献】
【特許文献】
【0003】
特開2022-58001
【発明の概要】
【発明が解決しようとする課題】
【0004】
自動運転車両の運行計画を管理する運行管理システムの技術には改善の余地があった。
【0005】
かかる事情に鑑みてなされた本開示の目的は、自動運転車両の運行計画を管理する運行管理システムの技術を改善することにある。
【課題を解決するための手段】
【0006】
本開示の一実施形態に係る情報処理装置は、
1以上のユーザ、前記1以上の自動運転車両、1以上の運行ダイヤ、及び前記1以上の運行ダイヤの各々におけるルート上の1以上の地点が、少なくとも1つのエリアと関連付けて記憶されるように構成されたデータベースを備える記憶部と、
前記1以上のユーザ毎に、前記ユーザに関連付けられた前記少なくとも1つのエリアに関連付けられた前記1以上の運行ダイヤを内蔵ディスプレイ又は外部機器の画面上に表示する制御部と、
を備える。
【0007】
本開示の一実施形態に係る方法は、
1以上の自動運転車両の運行計画を管理する情報処理装置が実行する方法であって、
1以上のユーザ、前記1以上の自動運転車両、1以上の運行ダイヤ、及び前記1以上の運行ダイヤの各々におけるルート上の1以上の地点が、少なくとも1つのエリアと関連付けてデータベースに記憶することと、
前記1以上のユーザ毎に、前記ユーザに関連付けられた前記少なくとも1つのエリアの情報に関連付けられた前記1以上の運行ダイヤを内蔵ディスプレイ又は外部機器の画面上に表示することと、
を含む。
【0008】
本開示の一実施形態に係るシステムは、
1以上の自動運転車両の運行計画を管理するシステムであって、
情報処理装置、及び端末装置、
を備え、
前記情報処理装置は、1以上のユーザ、前記1以上の自動運転車両、1以上の運行ダイヤ、及び前記1以上の運行ダイヤの各々におけるルート上の1以上の地点が、少なくとも1つのエリアと関連付けて記憶されるように構成されたデータベースを備え、
前記情報処理装置又は前記端末装置は、前記1以上のユーザ毎に、前記ユーザに関連付けられた前記少なくとも1つのエリアの情報に関連付けられた前記1以上の運行ダイヤを画面上に表示する。
【発明の効果】
【0009】
本開示の一実施形態によれば、自動運転車両の運行を管理する運行管理システムの技術が改善される。
【図面の簡単な説明】
【0010】
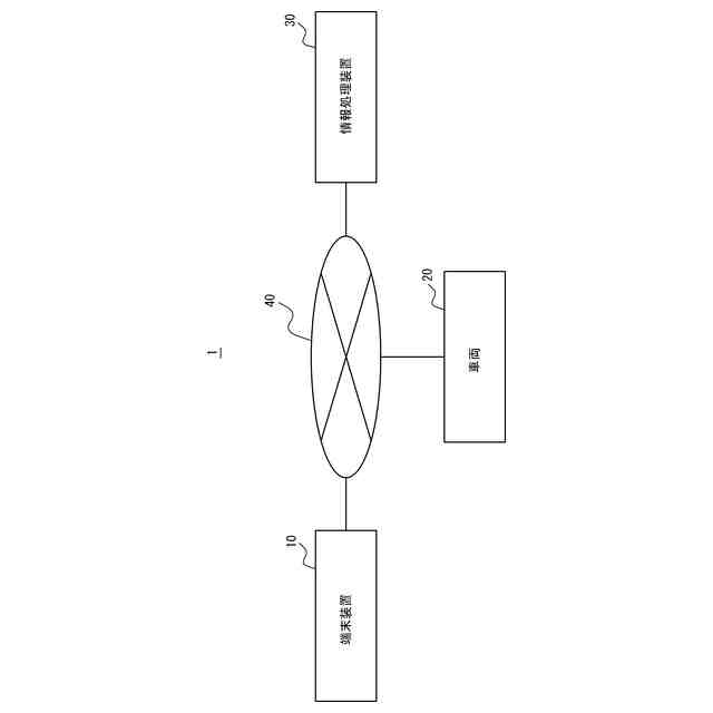
本開示の一実施形態に係るシステムの概略構成を示すブロック図である。
端末装置の概略構成を示すブロック図である。
車両の概略構成を示すブロック図である。
情報処理装置の概略構成を示すブロック図である。
本実施形態に係る情報処理装置のDB構成イメージの一例1/3である。
本実施形態に係る情報処理装置のDB構成イメージの一例2/3である。
本実施形態に係る情報処理装置のDB構成イメージの一例3/3である。
【発明を実施するための形態】
(【0011】以降は省略されています)
この特許をJ-PlatPat(特許庁公式サイト)で参照する
関連特許
トヨタ自動車株式会社
車両
3日前
トヨタ自動車株式会社
車両
7日前
トヨタ自動車株式会社
車両
3日前
トヨタ自動車株式会社
電動車
3日前
トヨタ自動車株式会社
電解液
3日前
トヨタ自動車株式会社
電動車
3日前
トヨタ自動車株式会社
電動車
3日前
トヨタ自動車株式会社
ロータ
5日前
トヨタ自動車株式会社
回転子
3日前
トヨタ自動車株式会社
電動車
5日前
トヨタ自動車株式会社
蓄電装置
4日前
トヨタ自動車株式会社
育苗装置
4日前
トヨタ自動車株式会社
電源装置
3日前
トヨタ自動車株式会社
蓄電装置
4日前
トヨタ自動車株式会社
蓄電装置
3日前
トヨタ自動車株式会社
切断装置
3日前
トヨタ自動車株式会社
蓄電セル
5日前
トヨタ自動車株式会社
蓄電セル
5日前
トヨタ自動車株式会社
蓄電セル
3日前
トヨタ自動車株式会社
蓄電装置
7日前
トヨタ自動車株式会社
駆動装置
3日前
トヨタ自動車株式会社
蓄電装置
5日前
トヨタ自動車株式会社
電動車両
3日前
トヨタ自動車株式会社
制御装置
7日前
トヨタ自動車株式会社
制御装置
3日前
トヨタ自動車株式会社
塗布装置
5日前
トヨタ自動車株式会社
電極積層体
4日前
トヨタ自動車株式会社
高圧タンク
7日前
トヨタ自動車株式会社
電池パック
3日前
トヨタ自動車株式会社
電気自動車
3日前
トヨタ自動車株式会社
シフト機構
3日前
トヨタ自動車株式会社
積層構造体
3日前
トヨタ自動車株式会社
電気自動車
5日前
トヨタ自動車株式会社
空間評価装置
3日前
トヨタ自動車株式会社
車両制御装置
4日前
トヨタ自動車株式会社
駐車支援方法
3日前
続きを見る
他の特許を見る