TOP
|
特許
|
意匠
|
商標
特許ウォッチ
Twitter
他の特許を見る
10個以上の画像は省略されています。
公開番号
2025147451
公報種別
公開特許公報(A)
公開日
2025-10-07
出願番号
2024047705
出願日
2024-03-25
発明の名称
投射方法、プロジェクターおよびプログラム
出願人
セイコーエプソン株式会社
代理人
個人
,
個人
,
個人
主分類
H04N
5/74 20060101AFI20250930BHJP(電気通信技術)
要約
【課題】外乱等によって正常に撮像されていない構造化光が存在する場合であっても、構造化光の投射枚数を最適化する。
【解決手段】投射方法は、プロジェクターから投射対象に投射されるM(Mは、2以上の自然数である)枚の構造化光のそれぞれをカメラで撮像することにより、複数の撮像データを取得することと、複数の撮像データに基づいて、M枚の構造化光のうち正常に撮像されていない少なくとも1つの第1構造化光が存在するか否か判断することと、少なくとも1つの第1構造化光が存在すると判断した場合、少なくとも1つの第1構造化光を含むN(Nは、Mよりも小さい自然数である)枚の構造化光を投射対象に投射することと、を含む。
【選択図】図3
特許請求の範囲
【請求項1】
プロジェクターから投射対象に投射されるM(Mは、2以上の自然数である)枚の構造化光のそれぞれをカメラで撮像することにより、複数の撮像データを取得することと、
前記複数の撮像データに基づいて、前記M枚の構造化光のうち正常に撮像されていない少なくとも1つの第1構造化光が存在するか否か判断することと、
前記少なくとも1つの第1構造化光が存在すると判断した場合、前記少なくとも1つの第1構造化光を含むN(Nは、Mよりも小さい自然数である)枚の構造化光を前記投射対象に投射することと、を含む、
ことを特徴とする投射方法。
続きを表示(約 2,400 文字)
【請求項2】
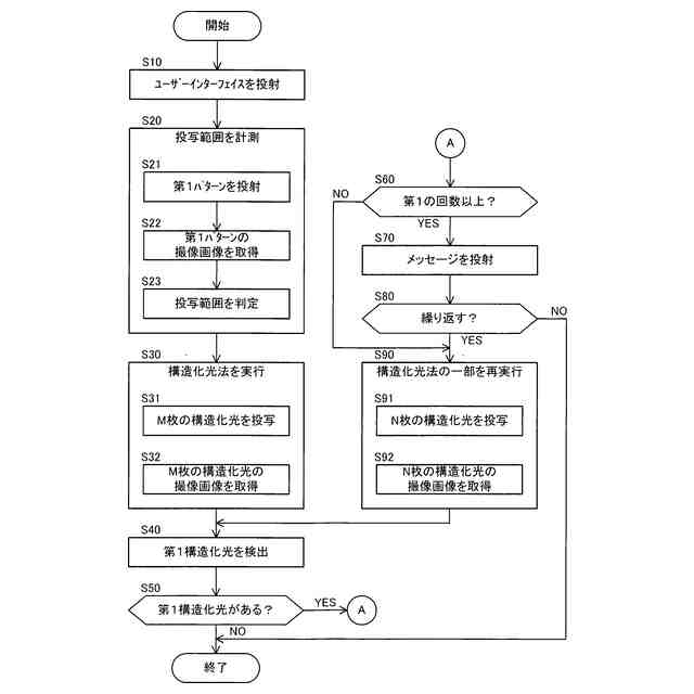
前記N枚の構造化光の投射の繰り返し回数が第1の回数以上であり、かつ、前記少なくとも1つの第1構造化光が存在すると判断した場合、前記N枚の構造化光の投射を実行しても前記少なくとも1つの第1構造化光が発生する可能性があることを示すメッセージを前記プロジェクターから投射すること、をさらに含む、
請求項1に記載の投射方法。
【請求項3】
前記N枚の構造化光の投射の繰り返し回数が第1の回数以上であり、かつ、前記少なくとも1つの第1構造化光が存在すると判断した場合、前記少なくとも1つの第1構造化光が含まれることに関する1または複数の原因候補を含むメッセージを前記プロジェクターから投射すること、をさらに含む、
請求項1に記載の投射方法。
【請求項4】
前記第1の回数を設定するためのユーザーインターフェイス画像を前記プロジェクターから投射することをさらに含む、
請求項2または請求項3に記載の投射方法。
【請求項5】
前記M枚の構造化光を前記プロジェクターから前記投射対象に順次投射する前に、前記プロジェクターから前記投射対象に一様な第1の色の第1パターンを投射することと、
前記第1パターンに基づいて、前記投射対象における前記M枚の構造化光のそれぞれが投射される投射範囲を判定することと、をさらに含み、
前記少なくとも1つの第1構造化光が存在するか否か判断することは、前記投射範囲における前記M枚の構造化光のそれぞれに基づいて行われる、
請求項1に記載の投射方法。
【請求項6】
プロジェクターから投射対象に投射されるM(Mは、2以上の自然数である)枚の構造化光のそれぞれをカメラで撮像することにより、複数の撮像データを取得することと、
前記複数の撮像データに基づいて、前記M枚の構造化光のうち正常に撮像されていない少なくとも1つの第1構造化光が存在するか否か判断することと、
前記投射対象に対する前記プロジェクターの位置および姿勢のうちの一方または両方の変化を示す変化情報に基づいて、前記位置および前記姿勢のうちの一方または両方が変化しているか否かを判断することと、
前記少なくとも1つの第1構造化光が存在し、かつ、前記位置および前記姿勢のうちの一方または両方が変化していないと判断した場合、前記少なくとも1つの第1構造化光を含むN(Nは、Mよりも小さい自然数である)枚の構造化光を前記投射対象に投射することと、
前記少なくとも1つの第1構造化光が存在し、かつ、前記位置および前記姿勢のうちの一方または両方が変化していると判断した場合、前記M枚の構造化光を前記投射対象に投射することと、を含む、
ことを特徴とする投射方法。
【請求項7】
前記M枚の構造化光を前記プロジェクターから前記投射対象に順次投射する前に、前記プロジェクターから前記投射対象に投射される一様な第1の色の第1パターンを前記カメラで撮像することにより、第1撮像データを取得することと、
前記M枚の構造化光を前記プロジェクターから前記投射対象に順次投射した後、かつ、前記少なくとも1つの第1構造化光が存在するか否か判断する前に、前記プロジェクターから前記投射対象に投射される前記第1パターンを前記カメラで撮像することにより、第2撮像データを取得することと、を含み、
前記変化情報は、前記第1撮像データおよび前記第2撮像データに基づいて特定される、
請求項6に記載の投射方法。
【請求項8】
前記M枚の構造化光を前記プロジェクターから前記投射対象に順次投射する前における前記姿勢および前記位置のうちの一方または両方を示す第1情報を取得することと、
前記M枚の構造化光を前記プロジェクターから前記投射対象に順次投射した後、かつ、前記少なくとも1つの第1構造化光が存在するか否か判断する前における前記姿勢および前記位置のうちの一方または両方を示す第2情報を取得することと、を含み、
前記変化情報は、前記第1情報および前記第2情報に基づいて、特定される、
請求項6に記載の投射方法。
【請求項9】
光学装置と、
前記光学装置の動作を制御する処理装置と、を備え、
前記処理装置は、
前記光学装置から投射対象に投射されるM(Mは、2以上の自然数である)枚の構造化光のそれぞれがカメラで撮像された複数の撮像データを取得することと、
前記複数の撮像データに基づいて、前記M枚の構造化光のうち正常に撮像されていない少なくとも1つの第1構造化光が存在するか否か判断することと、
前記少なくとも1つの第1構造化光が存在すると判断した場合、前記少なくとも1つの第1構造化光を含むN(Nは、Mよりも小さい自然数である)枚の構造化光を前記投射対象に投射することと、を実行する、
ことを特徴とするプロジェクター。
【請求項10】
プロジェクターから投射対象に投射されるM(Mは、2以上の自然数である)枚の構造化光のそれぞれがカメラで撮像された複数の撮像データを取得することと、
前記複数の撮像データに基づいて、前記M枚の構造化光のうち正常に撮像されていない少なくとも1つの第1構造化光が存在するか否か判断することと、
前記少なくとも1つの第1構造化光が存在すると判断した場合、前記少なくとも1つの第1構造化光を含むN(Nは、Mよりも小さい自然数である)枚の構造化光を前記プロジェクターに前記投射対象へ投射させることと、をコンピューターに実行させる、
ことを特徴とするプログラム。
発明の詳細な説明
【技術分野】
【0001】
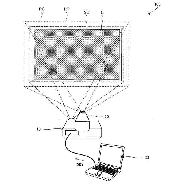
本開示は、投射方法、プロジェクターおよびプログラムに関する。
続きを表示(約 2,400 文字)
【背景技術】
【0002】
特許文献1には、構造化光の一例であるグレイコード画像を用いて、投射装置から投射される画像の複数の画素と、撮像装置によって撮像される撮像画像の複数の画素との対応関係を特定する技術が開示される。
【先行技術文献】
【特許文献】
【0003】
特開2022-174999号公報
【発明の概要】
【発明が解決しようとする課題】
【0004】
特許文献1に記載の技術では、複数の構造化光が表示面に投射されている間に、環境光等の外乱に起因して、撮像装置による構造化光の撮像が正常に行われない場合、構造化光の投射枚数を最適化することについて、何ら考慮されていない。
【課題を解決するための手段】
【0005】
本開示の一態様に係る投射方法は、プロジェクターから投射対象に投射されるM(Mは、2以上の自然数である)枚の構造化光のそれぞれをカメラで撮像することにより、複数の撮像データを取得することと、前記複数の撮像データに基づいて、前記M枚の構造化光のうち正常に撮像されていない少なくとも1つの第1構造化光が存在するか否か判断することと、前記少なくとも1つの第1構造化光が存在すると判断した場合、前記少なくとも1つの第1構造化光を含むN(Nは、Mよりも小さい自然数である)枚の構造化光を前記投射対象に投射することと、を含む。
【0006】
本開示の他の一態様に係る投射方法は、プロジェクターから投射対象に投射されるM(Mは、2以上の自然数である)枚の構造化光のそれぞれをカメラで撮像することにより、複数の撮像データを取得することと、前記複数の撮像データに基づいて、前記M枚の構造化光のうち正常に撮像されていない少なくとも1つの第1構造化光が存在するか否か判断することと、前記投射対象に対する前記プロジェクターの位置および姿勢のうちの一方または両方の変化を示す変化情報に基づいて、前記位置および前記姿勢のうちの一方または両方が変化しているか否かを判断することと、前記少なくとも1つの第1構造化光が存在し、かつ、前記位置および前記姿勢のうちの一方または両方が変化していないと判断した場合、前記少なくとも1つの第1構造化光を含むN(Nは、Mよりも小さい自然数である)枚の構造化光を前記投射対象に投射することと、前記少なくとも1つの第1構造化光が存在し、かつ、前記位置および前記姿勢のうちの一方または両方が変化していると判断した場合、前記M枚の構造化光を前記投射対象に投射することと、を含む。
【0007】
本開示の一態様に係るシステムは、光学装置と、前記光学装置の動作を制御する処理装置と、を備え、前記処理装置は、前記光学装置から投射対象に投射されるM(Mは、2以上の自然数である)枚の構造化光のそれぞれがカメラで撮像された複数の撮像データを取得することと、前記複数の撮像データに基づいて、前記M枚の構造化光のうち正常に撮像されていない少なくとも1つの第1構造化光が存在するか否か判断することと、前記少なくとも1つの第1構造化光が存在すると判断した場合、前記少なくとも1つの第1構造化光を含むN(Nは、Mよりも小さい自然数である)枚の構造化光を前記投射対象に投射することと、を実行する。
【0008】
本開示の一態様に係るプログラムは、プロジェクターから投射対象に投射されるM(Mは、2以上の自然数である)枚の構造化光のそれぞれがカメラで撮像された複数の撮像データを取得することと、前記複数の撮像データに基づいて、前記M枚の構造化光のうち正常に撮像されていない少なくとも1つの第1構造化光が存在するか否か判断することと、前記少なくとも1つの第1構造化光が存在すると判断した場合、前記少なくとも1つの第1構造化光を含むN(Nは、Mよりも小さい自然数である)枚の構造化光を前記プロジェクターに前記投射対象へ投射させることと、をコンピューターに実行させる。
【図面の簡単な説明】
【0009】
第1実施形態に係る投射方法に用いるシステムの概略を示す図である。
第1実施形態に係る投射方法に用いるプロジェクターのブロック図である。
第1実施形態に係る投射方法の流れを示すフローチャートである。
ユーザーインターフェイス画像を説明するための図である。
第1パターンを説明するための図である。
構造化光としてグレイコードパターンを用いた場合の異常検出を説明するための図である。
構造化光として位相シフトパターンを用いた場合の異常の検出を説明するための図である。
構造化光として位相シフトパターンを用いた場合の異常の検出を説明するための図である。
メッセージの一例を示す図である。
第2実施形態に係る投射方法に用いるプロジェクターのブロック図である。
第2実施形態に係る投射方法の流れを示すフローチャートである。
第3実施形態に係る投射方法に用いるプロジェクターのブロック図である。
第3実施形態に係る投射方法の流れを示すフローチャートである。
【発明を実施するための形態】
【0010】
以下、添付図面を参照しながら本開示に係る好適な実施形態を説明する。なお、図面において各部の寸法および縮尺は実際と適宜に異なり、理解を容易にするために模式的に示している部分もある。また、本開示の範囲は、以下の説明において特に本開示を限定する旨の記載がない限り、これらの形態に限られない。
(【0011】以降は省略されています)
この特許をJ-PlatPat(特許庁公式サイト)で参照する
関連特許
サクサ株式会社
中継装置
1日前
サクサ株式会社
中継装置
2日前
サクサ株式会社
無線通信装置
1日前
サクサ株式会社
無線システム
今日
サクサ株式会社
無線通信装置
1日前
個人
ワイヤレスイヤホン対応耳掛け
21日前
個人
発信機及び発信方法
今日
沖電気工業株式会社
画像形成装置
3日前
沖電気工業株式会社
画像形成装置
11日前
株式会社JVCケンウッド
通信システム
7日前
有限会社フィデリックス
マイクロフォン
7日前
ダイハツ工業株式会社
人流取得装置
1日前
個人
回動アームを構築する関節モジュール
3日前
日本無線株式会社
無線通信システム
15日前
株式会社村田製作所
高周波回路
1日前
洋也株式会社
電子機器
3日前
日本放送協会
広視野角撮像装置
11日前
日本信号株式会社
可視光通信システム
11日前
日本放送協会
広視野角撮像装置
11日前
株式会社デンソー
車載システム
1日前
株式会社デンソー
車載システム
1日前
アイホン株式会社
インターホンシステム
1日前
キヤノン株式会社
電子機器
15日前
株式会社国際電気
カメラシステム
3日前
株式会社JVCケンウッド
運転支援装置
7日前
株式会社東芝
放送バンクシステム
11日前
アイホン株式会社
インターホンシステム
1日前
キヤノン株式会社
電子機器
15日前
キヤノン株式会社
電子機器
11日前
株式会社セガ
プログラム及び情報処理装置
今日
株式会社アスタリスク
通話システム
15日前
日本電気株式会社
通信装置および通信方法
7日前
ソフトバンク株式会社
通信システム
2日前
株式会社デンソー
無線通信システム
1日前
アルプスアルパイン株式会社
可動式表示装置
21日前
市光工業株式会社
車両用画像表示装置
今日
続きを見る
他の特許を見る