TOP
|
特許
|
意匠
|
商標
特許ウォッチ
Twitter
他の特許を見る
公開番号
2025147619
公報種別
公開特許公報(A)
公開日
2025-10-07
出願番号
2024047960
出願日
2024-03-25
発明の名称
ラベル
出願人
TOPPANインフォメディア株式会社
代理人
個人
,
個人
,
個人
,
個人
主分類
G09F
3/02 20060101AFI20250930BHJP(教育;暗号方法;表示;広告;シール)
要約
【課題】所望の位置に所望の姿勢で貼り付けやすいラベルを提供する。
【解決手段】ラベル1は、シート状の基材10と、基材の一方の面に設けられた粘着部20とを備える。基材は、被着体に貼り付けられる主部11と、被着体における主部の位置および向きを把握可能に構成されたガイド部16とを有し、ガイド部が主部から切り離し可能に設けられている。粘着部は、少なくとも主部の下側に設けられている。
【選択図】図2
特許請求の範囲
【請求項1】
シート状の基材と、
前記基材の一方の面に設けられた粘着部と、
を備え、
前記基材は、
被着体に貼り付けられる主部と、
前記被着体における前記主部の位置および向きを把握可能に構成されたガイド部と、を有し、
前記ガイド部が前記主部から切り離し可能に設けられ、
前記粘着部は、少なくとも前記主部の下側に設けられている、
ラベル。
続きを表示(約 450 文字)
【請求項2】
前記主部は、前記基材の平面視における中央部に位置し、
前記ガイド部は、前記主部の周囲に位置する、
請求項1に記載のラベル。
【請求項3】
前記ガイド部は、互いに直交する方向に延びる2つの線分を含む、
請求項1に記載のラベル。
【請求項4】
前記粘着部は、
前記主部の下側に設けられた強粘着部と、
前記ガイド部の下側に設けられ、前記強粘着部よりも粘着性の低い弱粘着部と、を含む、
請求項1に記載のラベル。
【請求項5】
前記基材は、前記主部の周囲に前記基材を厚さ方向に貫通するスリットを有する、
請求項1に記載のラベル。
【請求項6】
前記スリットは断続的に形成され、隣り合うスリット間の距離が1mm以上3mm以下である、
請求項5に記載のラベル。
【請求項7】
前記基材および前記粘着部が透明性を有する、
請求項1に記載のラベル。
発明の詳細な説明
【技術分野】
【0001】
本発明は、ラベル、より詳しくは、所望の位置に所望の姿勢で貼り付けやすいラベルに関する。
続きを表示(約 1,200 文字)
【背景技術】
【0002】
特許文献1には、シール材が裏側に仮着されているテープが開示されている。シール材を所望の被着体に押し付けてテープを剥がすと、被着体にシール材を貼り付けることができる。
【先行技術文献】
【特許文献】
【0003】
特開2019-166732号公報
【発明の概要】
【発明が解決しようとする課題】
【0004】
シールやラベル等を購入等により入手した使用者においては、それを自分の所持品等に貼り付ける際に、所望の位置に所望の向きで貼り付けたいという要望がある。貼り付けられたラベル等の位置や向きが気に入らない場合、剥がして貼りなおすことによりラベル等の外観が損なわれる。特許文献1に記載のようなシールは、基本的に貼りなおしが困難であるため、再度購入しなければならなくなる場合もある。
【0005】
上記事情を踏まえ、本発明は、所望の位置に所望の姿勢で貼り付けやすいラベルを提供することを目的とする。
【課題を解決するための手段】
【0006】
本発明は、シート状の基材と、基材の一方の面に設けられた粘着部とを備えるラベルである。
基材は、被着体に貼り付けられる主部と、被着体における主部の位置および向きを把握可能に構成されたガイド部とを有し、ガイド部が主部から切り離し可能に設けられている。
粘着部は、少なくとも主部の下側に設けられている。
【発明の効果】
【0007】
本発明によれば、所望の位置に所望の姿勢で貼り付けやすいラベルを提供できる。
【図面の簡単な説明】
【0008】
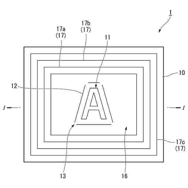
本発明の第一実施形態に係るラベルを示す模式平面図である。
図1のI-I線における模式断面図である。
同ラベルを被着体に貼り付ける際の動作の一例を示す図である。
本発明の第二実施形態に係るラベルを示す模式平面図である。
同ラベルを被着体に複数貼り付ける際の動作の一例を示す図である。
本発明の一例に係るラベルが貼り付けられた容器の例を示す図である。
【発明を実施するための形態】
【0009】
本発明の第一実施形態について、図1から図3を参照して説明する。
図1は、本実施形態に係るラベル1を示す模式平面図である。図2は、図1のI-Iにおける模式断面図である。
【0010】
ラベル1は、被着体に貼り付けられる主部11を含む基材10と、基材10上に順次形成された粘着部20およびセパレータ30を備えている。
基材10は紙や樹脂フィルム等のシート状の部材で形成できる。本実施形態に係る基材10は、図1に示すように平面視における中央部に主部11が位置し、主部11の周囲にガイド部16が位置している。
(【0011】以降は省略されています)
この特許をJ-PlatPat(特許庁公式サイト)で参照する
関連特許
個人
回転式カード学習具
1か月前
個人
時刻表示機能つき手帳
2か月前
日本精機株式会社
表示装置
16日前
日本精機株式会社
表示装置
1か月前
個人
計算用教具
12日前
中国電力株式会社
標示旗
22日前
日本精機株式会社
車両用表示装置
2か月前
日本精機株式会社
車両用表示装置
2か月前
日本精機株式会社
車両用表示装置
1か月前
日本精機株式会社
車両用センサ装置
12日前
個人
モデルで薔薇の花嫁様を描く為
1か月前
シャープ株式会社
表示装置
23日前
株式会社一弘社
情報表示板
1か月前
株式会社ウメラボ
学習支援システム
2日前
個人
音楽教材
1か月前
株式会社ウメラボ
学習支援システム
8日前
ニチレイマグネット株式会社
磁着式電飾装置
22日前
株式会社半導体エネルギー研究所
半導体装置
2か月前
株式会社リコー
画像投射システム
23日前
リンテック株式会社
表示体
1日前
個人
サインポスト
2か月前
シチズンファインデバイス株式会社
液晶表示装置
1か月前
BEST株式会社
吊り下げ表示部材
1か月前
シチズンファインデバイス株式会社
液晶表示装置
1か月前
株式会社サンゲツ
見本帳
1か月前
学校法人関西医科大学
腹腔鏡手術訓練装置
22日前
シャープ株式会社
表示装置
1か月前
シャープ株式会社
表示装置
1か月前
セイコーエプソン株式会社
表示方法
1か月前
ニデックインスツルメンツ株式会社
情報処理装置
2か月前
セイコーエプソン株式会社
表示方法
1か月前
リンテック株式会社
粘着ラベル
2日前
ニプロ株式会社
シミュレータ
1か月前
キヤノン株式会社
発光装置
15日前
TOPPANホールディングス株式会社
ラベル
2か月前
株式会社半導体エネルギー研究所
駆動回路、及び半導体装置
2か月前
続きを見る
他の特許を見る